Запчасти Hyundai R130LC ENGINE MOUNTING

Схема запчастей Hyundai R130LC - ENGINE MOUNTING
FIT
1:1
100%

Артикул

Название

Примечание

Количество

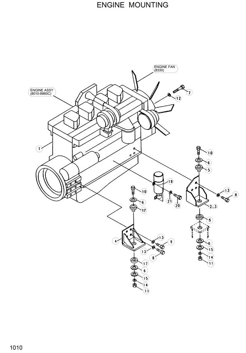
11E6-1017

11E6-1017-Bracket-Rear

11E6-1008

11E6-1008-Resilient-Front

E111-1009

E111-1009-Washer

11E6-1009

11E6-1009-Resilient-Rear

11E6-1016

11E6-1016-Bracket-Fr,Rh

E111-1009

E111-1009-Washer

11E6-1015

11E6-1015-Bracket-Fr,Lh

S017-221202

S017-221202-Bolt-Hex

1

11E6-1001

11E6-1001-Engine Assy

10

S017-221402

S017-221402-Bolt-Hex

11

S207-221002

S207-221002-Nut-Hex

12

S403-082002

S403-082002-Washer-Plain

13

S411-120002

S411-120002-Washer-Spring

14

S411-220002

S411-220002-Washer-Spring

15

S441-220002

S441-220002-Washer-Hardened

17

11E6-1003

11E6-1003-Resilient-Rear

19

3302657

3302657-Ether Cylinder

2

11E3-1002

11E3-1002-Bracket-Fr,Lh

20

S015-060162

S015-060162-Bolt-Hex

21

S411-060002

S411-060002-Washer-Spring

3

11E3-1003

11E3-1003-Bracket-Fr,Rh

4

11E3-1004

11E3-1004-Bracket-Rear

5

11E6-1002

11E6-1002-Resilient-Front

7

S015-080802

S015-080802-Bolt-Hex

8

S017-120252

S017-120252-Bolt-Hex

9

S017-120302

S017-120302-Bolt-Hex

Выбрано товаров: 0