Запчасти Hyundai R200LC ENGINE MOUNTING

Схема запчастей Hyundai R200LC - ENGINE MOUNTING
FIT
1:1
100%

Артикул

Название

Примечание

Количество

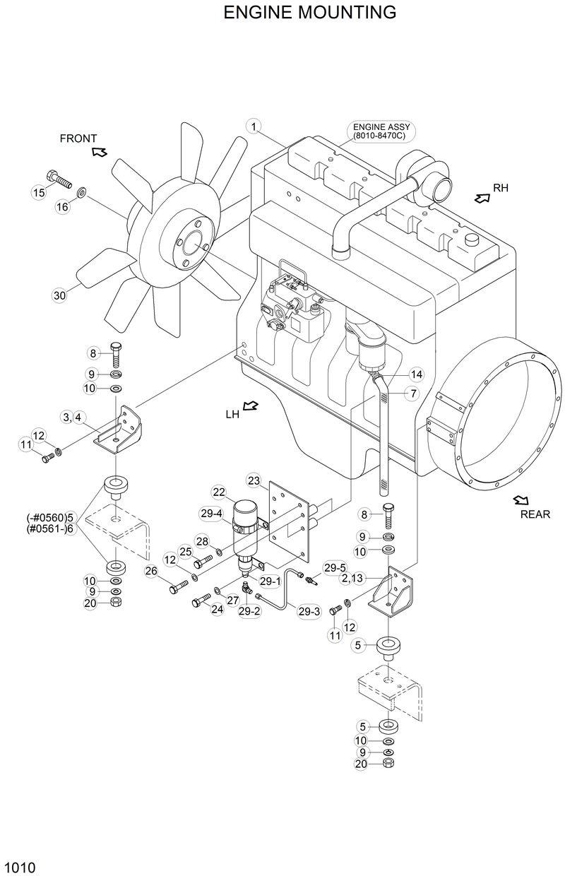
11E1-02020

11E1-02020-Bracket-Fr,Rh

11EK-02080

11EK-02080-Stopper-Nut

S017-101202

S017-101202-Bolt-Hex

S403-102002

S403-102002-Washer-Plain

S017-221452

S017-221452-Bolt-Hex

11EK-10070

11EK-10070-Resilient

11E1-02310

11E1-02310-Engine Assy

E111-1102

E111-1102-Bracket-Rear,Rh

11E1-02010

11E1-02010-Bracket-Fr,Lh

E111-1102

E111-1102-Bracket-Rear,Rh

1

E111-1101

E111-1101-Engine Assy

10

S441-220002

S441-220002-Washer-Hardened

11

S017-120352

S017-120352-Bolt-Hex

12

S411-120002

S411-120002-Washer-Spring

13

11EM-02330

11EM-02330-Bracket-Rear,Lh

14

S520-027000

S520-027000-Clamp-Hose

15

S017-100852

S017-100852-Bolt-Hex

16

S403-103002

S403-103002-Washer-Plain

20

S205-221004

S205-221004-Nut-Hex

22

3302657

3302657-Ether Cylinder

23

11EM-42180

11EM-42180-Bracket-Ether Cyl

24

S015-060162

S015-060162-Bolt-Hex

25

S015-080202

S015-080202-Bolt-Hex

26

S017-120702

S017-120702-Bolt-Hex

27

S411-060002

S411-060002-Washer-Spring

28

S411-080002

S411-080002-Washer-Spring

29

11EM-42190

11EM-42190-Cold Start Aid

29-1

91308529

91308529-. Valve Assy

29-2

125049

125049-. Fitting-Valve

29-3

50109601

50109601-. Tube

29-4

913020

913020-. Clamp

29-5

91302622

91302622-. Atomizer

3

E111-1103

E111-1103-Bracket-Fr,Lh

30

11EM-02350

11EM-02350-Fan-Engine

4

E111-1104

E111-1104-Bracket-Fr,Rh

5

E111-1008

E111-1008-Resilient

6

11EK-10060

11EK-10060-Resilient

7

11E9-02090

11E9-02090-Hose-Breather

8

S017-221252

S017-221252-Bolt-Hex

9

S411-220002

S411-220002-Washer-Spring

Выбрано товаров: 40