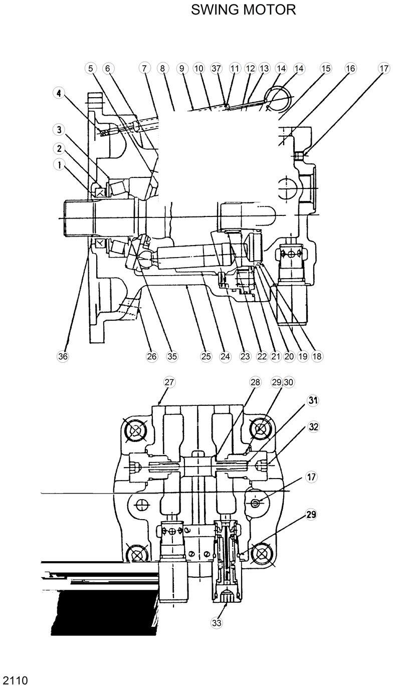
Запчасти Hyundai R200LC SWING MOTOR

Схема запчастей Hyundai R200LC - SWING MOTOR
FIT
1:1
100%

Артикул

Название

Примечание

Количество

*

E131-0042

E131-0042-Swing Motor

1

1399-206

1399-206-. Race-Inner

10

7598-032

7598-032-. Plate-Lining

11

7598-031

7598-031-. Plate

13

1320-130

1320-130-. Piston

15

1390-166

1390-166-. Spring

16

0522-143

0522-143-. Pin-Parallel

17

8320-001

8320-001-. Plug

18

1390-165

1390-165-. Spring

19

0719-061

0719-061-. Ring

20

1391-128

1391-128-. Bushing

21

1313-171

1313-171-. Plate

22

0682-135

0682-135-. Bearing-Needle

23

0809-194

0809-194-. Ring-Snap

24

1318-168

1318-168-. Cylinder Assy

25

1311-161

1311-161-. Housing

26

8320-003

8320-003-. Plug

27

1303-263

1303-263-. Cover

28

3513-154

3513-154-. Valve-Check

3

0671-133

0671-133-. Bearing-Roller

31

3590-288

3590-288-. Spring

32

3526-327

3526-327-. Cap

33

3537-194

3537-194-. Relief Valve Assy

34

8072-144

8072-144-. Bolt-Socket

35

1399-205

1399-205-. Collar

36

0809-193

0809-193-. Ring-Snap

4

7589-008

7589-008-. Gauge-Level

5

1390-164

1390-164-. Spring-Backing

6

1398-149

1398-149-. Plate-Cam

7

1398-150

1398-150-. Plate-Return

8

1321-122

1321-122-. Piston Assy

9

7595-010

7595-010-. Pipe

K

91E1-2702

91E1-2702-Seal Kit

K12

0200-152

0200-152-. O-Ring

K14

0200-153

0200-153-. O-Ring

K2

0722-142

0722-142-. Seal-Oil

K29

8202-021

8202-021-. O-Ring

K30

0859-229

0859-229-. Ring-Back Up

K37

0201-011

0201-011-. O-Ring

Выбрано товаров: 39