Качественные детали и логистика
Оригинальные и аналоговые запчасти с доставкой по России, Казахстану и Беларуси
©2022 PartSell ООО "Система" ИНН 2463123282 ОГРН 1212400004838
Центральный офис: г. Красноярск, Академика Киренского, д.87, пом.4
Телефон: 8 (800) 777-65-74 Email: zakaz@partsell.ru
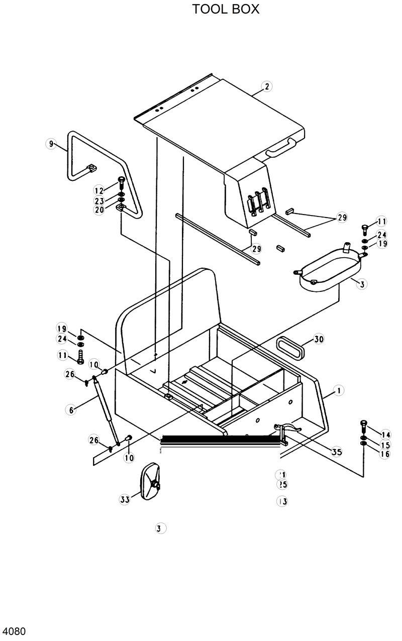
TOOL BOX
№
Артикул
Название
Примечание
Количество
71E9-3101
71E9-3101-Battery Box Wa
11
S017-100252
S017-100252-Bolt-Hex
12
S017-120202
S017-120202-Bolt-Hex
13
S017-200402
S017-200402-Bolt-Hex
19
S403-102002
S403-102002-Washer-Plain
2
71E9-3130
71E9-3130-Cover Wa
20
S403-122002
S403-122002-Washer-Plain
21
S403-202002
S403-202002-Washer-Plain
24
S411-100002
S411-100002-Washer-Spring
25
S411-200002
S411-200002-Washer-Spring
26
S461-320162
S461-320162-Pin-Split
29
71E9-3165
71E9-3165-Seal
3
71E9-3140
71E9-3140-Cover-Grease Can
30
71E9-3167
71E9-3167-Grommet
31
71E9-3151
71E9-3151-Handle
32
71E9-3157
71E9-3157-Screen
33
E129-2000
E129-2000-Mirror
34
E129-2001
E129-2001-Stay-Mirror
35
E171-2015
E171-2015-Catch Assy
6
41E4-1509
41E4-1509-Support Bar
9
71E5-3021
71E5-3021-Hand Rail
Выбрано товаров: 0