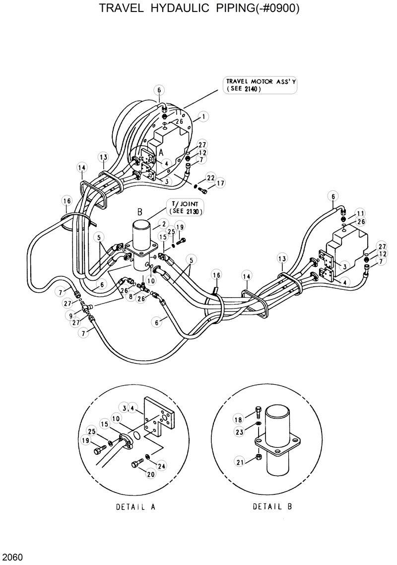
Запчасти Hyundai R320LC TRAVEL HYDRAULIC PIPING(-#0900)

Схема запчастей Hyundai R320LC - TRAVEL HYDRAULIC PIPING(-#0900)
FIT
1:1
100%

Артикул

Название

Примечание

Количество

S017-200802

S017-200802-Bolt-Hex

1

31E5-0003

31E5-0003-Track Motor

10

CO0423A

CO0423A-O-Ring

11

E131-0125

E131-0125-Fitting

12

E131-0128

E131-0128-Fitting

13

31E5-3033

31E5-3033-Grommet

14

31E3-3119

31E3-3119-Grommet

15

E131-0008

E131-0008-Flange-Split

16

S551-050203

S551-050203-Clamp-Band

17

S017-200754

S017-200754-Bolt-Hex

18

S017-160502

S017-160502-Bolt-Hex

19

S107-100302

S107-100302-Bolt-Socket

2

31E1-0001

31E1-0001-Turning Joint

20

S107-120552

S107-120552-Bolt-Socket

21

S207-161002

S207-161002-Nut-Hex

22

S411-200002

S411-200002-Washer-Spring

23

S411-160002

S411-160002-Washer-Spring

24

S411-120002

S411-120002-Washer-Spring

25

S411-100002

S411-100002-Washer-Spring

26

S631-011001

S631-011001-O-Ring

27

S631-018001

S631-018001-O-Ring

3

31E9-0080

31E9-0080-Block

4

31E9-0081

31E9-0081-Block

5

P700-167346

P700-167346-Hose Assy-Flg 0x90

6

P620-083055

P620-083055-Hose Assy-Thd 0x90

7

P610-042061

P610-042061-Hose Assy

8

31E5-3041

31E5-3041-Tee

9

31E5-3042

31E5-3042-Tee

Выбрано товаров: 28