Качественные детали и логистика
Оригинальные и аналоговые запчасти с доставкой по России, Казахстану и Беларуси
©2022 PartSell ООО "Система" ИНН 2463123282 ОГРН 1212400004838
Центральный офис: г. Красноярск, Академика Киренского, д.87, пом.4
Телефон: 8 (800) 777-65-74 Email: zakaz@partsell.ru
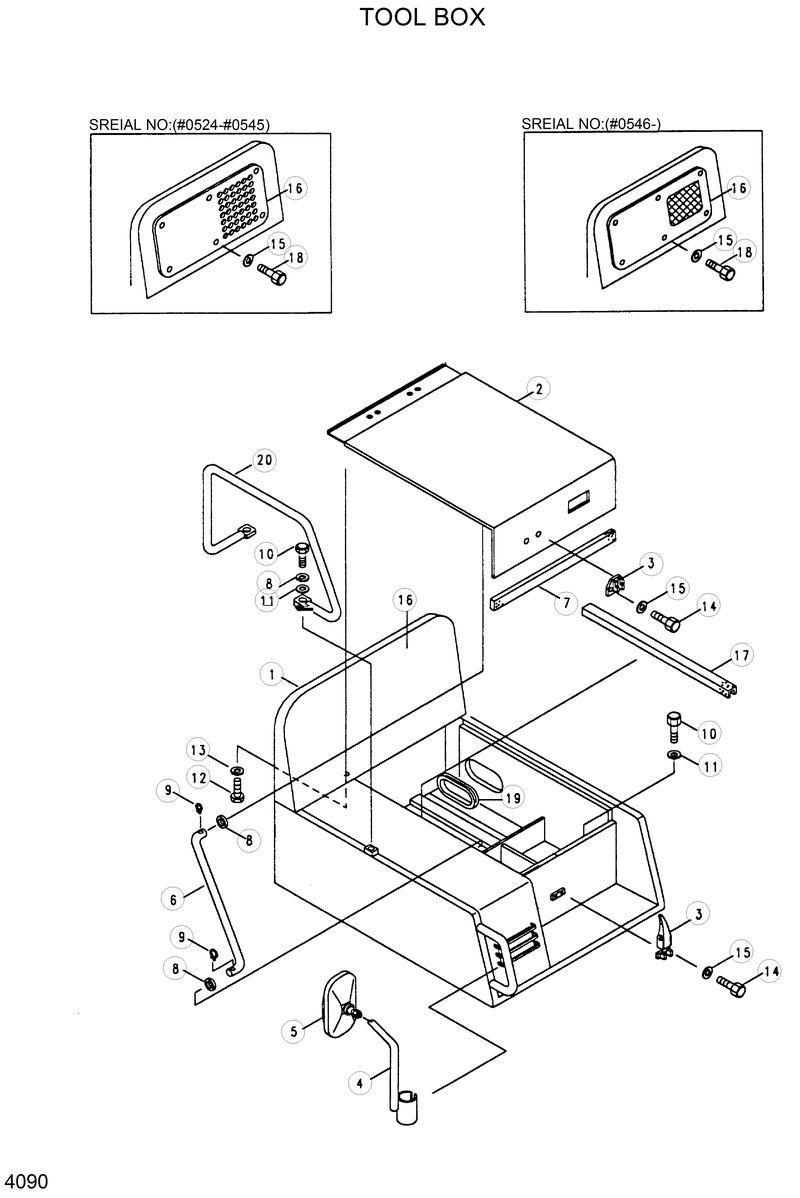
TOOL BOX
№
Артикул
Название
Примечание
Количество
71E7-0001
71E7-0001-Tool Box Wa
10
S017-120302
S017-120302-Bolt-Hex
11
S411-120002
S411-120002-Washer-Spring
12
S017-100302
S017-100302-Bolt-Hex
13
S411-100002
S411-100002-Washer-Spring
14
S015-080252
S015-080252-Bolt-Hex
15
S411-080002
S411-080002-Washer-Spring
16
71E7-0252
71E7-0252-Plate Wa
17
71E7-0253
71E7-0253-Seal
18
S015-080202
S015-080202-Bolt-Hex
19
71E7-0200
71E7-0200-Grommet
2
71E7-0016
71E7-0016-Door Wa
20
71E7-0318
71E7-0318-Pipe Wa
3
E171-2015
E171-2015-Catch Assy
4
E129-2001
E129-2001-Stay-Mirror
5
E129-2000
E129-2000-Mirror
6
71E7-0023
71E7-0023-Bar
7
71E7-0024
71E7-0024-Pad Rubber
8
S403-122002
S403-122002-Washer-Plain
9
S461-320162
S461-320162-Pin-Split
Выбрано товаров: 0