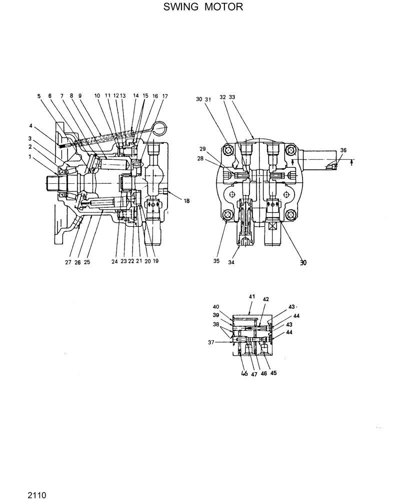
Запчасти Hyundai R130W SWING MOTOR

Схема запчастей Hyundai R130W - SWING MOTOR
FIT
1:1
100%

Артикул

Название

Примечание

Количество

*

31E3-0003

31E3-0003-S/Motor Assy

*-1

MFB80-021

MFB80-021-. Swing Motor

1

1399-200

1399-200-.. Race-Inner

10

7598-029

7598-029-.. Plate-Friction

11

7598-030

7598-030-.. Plate-Separate

12

1320-140

1320-140-.. Piston

13

0200-149

0200-149-.. O-Ring

14

0201-011

0201-011-.. O-Ring

15

0200-150

0200-150-.. O-Ring

16

1390-162

1390-162-.. Spring

17

8022-101

8022-101-.. Pin-Parallel

18

8320-001

8320-001-.. Plug

19

1390-163

1390-163-.. Spring-Coned Disc

2

0722-149

0722-149-.. Seal

20

0719-070

0719-070-.. Ring-Teflon

21

1391-127

1391-127-.. Bushing

22

1313-163

1313-163-.. Plate-Balance

23

0682-134

0682-134-.. Bearing-Needle

24

0809-190

0809-190-.. Ring-Retaining

27

8320-003

8320-003-.. Plug

28

3526-327

3526-327-.. Cap

29

3590-288

3590-288-.. Spring

3

0671-132

0671-132-.. Bearing-Roller

30

8202-021

8202-021-.. O-Ring

31

0859-229

0859-229-.. Ring-Back Up

32

3513-154

3513-154-.. Valve-Check

33

1303-257

1303-257-.. Cover

34

3537-194

3537-194-.. Relief Valve Assy

35

0576-034

0576-034-.. Bolt-Socket

36

0576-054

0576-054-.. Bolt-Socket

37

1390-171

1390-171-.. Spring

38

0200-049

0200-049-.. O-Ring

39

1390-169

1390-169-.. Spring

4

7589-008

7589-008-.. Gauge-Level

40

0200-010

0200-010-.. O-Ring

41

1398-113

1398-113-.. Manifold

42

1326-116

1326-116-.. Poppet

43

8202-005

8202-005-.. O-Ring

44

0824-050

0824-050-.. Cap

45

1326-114

1326-114-.. Spool

46

0826-155

0826-155-.. Plug

47

1329-207

1329-207-.. Stopper

6

1398-008

1398-008-.. Cam Plate

8

1321-120

1321-120-.. Piston

9

7595-009

7595-009-.. Pipe

N

@

@-

N25

1318-167

1318-167-.. Cylinder

N26

1311-180

1311-180-.. Housing

N5

1390-176

1390-176-.. Shoe-Spring

N7

1398-158

1398-158-.. Plate-Return

Выбрано товаров: 50