Запчасти Hyundai R130W REMOTE CONTROL LEVER

Схема запчастей Hyundai R130W - REMOTE CONTROL LEVER
FIT
1:1
100%

Артикул

Название

Примечание

Количество

*

E131-0130

E131-0130-Rcv Lever

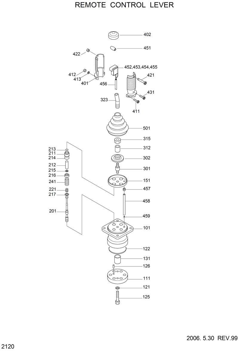
101

5DT01X05-101

5DT01X05-101-. Casing

111

5DT01X02-111

5DT01X02-111-. Plate-Port

125

OSBM830

OSBM830-. Bolt-Socket

126

OSPV510

OSPV510-. Pin-Spring

131

5DT01X00-131

5DT01X00-131-. Bushing

151

5DT61X20-151

5DT61X20-151-. Plate

201

5DT01X00-201

5DT01X00-201-. Spool

211

5DT01X00-211

5DT01X00-211-. Plug

212

5DT01X04-212

5DT01X04-212-. Rod-Push

216

5DT01X01-216

5DT01X01-216-. Seat-Spring

217

5DT01X00-217

5DT01X00-217-. Washer 2

221

5DT01X22-221

5DT01X22-221-. Spring

241

5DT01X22-241

5DT01X22-241-. Spring

301

5DT61X00-301

5DT61X00-301-. Joint

302

5DT61X01A-302

5DT61X01A-302-. Plate

312

5DT61X20A-312

5DT61X20A-312-. Nut-Adjust

315

ORNM14C

ORNM14C-. Nut-Lock

323

5DT61X00D323

5DT61X00D323-. Bar-Handle

401

5DT61X00-401

5DT61X00-401-. Handle

402

5DT61X30-402

5DT61X30-402-. Cap-Handle

411

OPSM410

OPSM410-. Screw 1

413

OWM4S

OWM4S-. Washer

421

OPSM430

OPSM430-. Screw 2

422

ORNM4C

ORNM4C-. Nut

422

ORNM4C

ORNM4C-. Nut

431

OPSM58

OPSM58-. Screw 3

451

5DT61X00-451

5DT61X00-451-. Roller

452

5DT61X00-452

5DT61X00-452-. Lever

453

5DT61X00-453

5DT61X00-453-. Seat 1-Switch

454

5DT61X00-454

5DT61X00-454-. Seat 2-Switch

455

5DT61X00-455

5DT61X00-455-. Switch

456

5DT61X00A-456

5DT61X00A-456-. Cord

457

5DT61X20-457

5DT61X20-457-. Bushing

458

5DT61X20AD458

5DT61X20AD458-. Tube

459

5DT6A102-459

5DT6A102-459-. Terminal

501

5DT61X40-501

5DT61X40-501-. Bellows

K

VZ50104490

VZ50104490-S/Kit(121,122,213,214)

K

91E1-2703

91E1-2703-S/Kit(122,213,214)

K121

5DT01X01-121

5DT01X01-121-. Washer-Seal

K122

5DT01X00-122

5DT01X00-122-. O-Ring

K213

5DT61X20-213

5DT61X20-213-. Seal

K214

OORBP20

OORBP20-. O-Ring

N

@

@-

N215

5DT01X00-215

5DT01X00-215-. Washer 1

NS

VZ50102029

VZ50102029-Switch Cord Sub Assy

Выбрано товаров: 46