Запчасти Hyundai R130W CAB ELECTRIC

Схема запчастей Hyundai R130W - CAB ELECTRIC
FIT
1:1
100%

Артикул

Название

Примечание

Количество

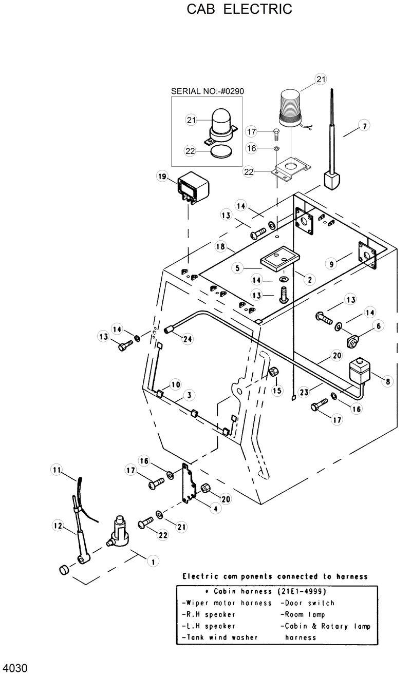
21EH-1003

21EH-1003-Harness-Cab

21EA-10220

21EA-10220-Bracket-Beacon Lamp

1

21E7-3002

21E7-3002-Wiper Motor Assy

10

E127-3133

E127-3133-Holder-Cable Tie

11

21E7-3003

21E7-3003-Blade-Wiper

12

21E7-3004

21E7-3004-Arm-Wiper

13

S161-050152

S161-050152-Screw

14

S411-050002

S411-050002-Washer-Spring

15

S205-061002

S205-061002-Nut-Hex

16

S411-060002

S411-060002-Washer-Spring

17

S015-060152

S015-060152-Bolt-Hex

18

21E1-4998

21E1-4998-Harness-Cab

19

21E1-4997

21E1-4997-Light Assy

19-1

21E1-49630

21E1-49630-. Bulb-Cab Lamp

2

21E1-4999

21E1-4999-Harness-Cab

20

21E6-1020

21E6-1020-Wire-Washer Tank

21

21E4-4022

21E4-4022-Rotary Lamp

21

21EK-10420

21EK-10420-Beacon Lamp Assy

21-1

21E1-49600

21E1-49600-. Bulb-Rotary Lamp

21-1

21EK-10330

21EK-10330-. Bulb

22

21E4-4032

21E4-4032-Plate-Rotary Lamp

23

21E4-4009

21E4-4009-Wind Washer Tank

24

21E1-49510

21E1-49510-Nozzle-Washer Tank

3

21E7-0208

21E7-0208-Harness-Wiper Motor

4

21EH-0012

21EH-0012-Bracket

5

E122-2510

E122-2510-Lamp-Room

5-1

21E1-49690

21E1-49690-. Bulb-Room Lamp

6

E123-3022

E123-3022-Switch-Door

7

E126-3027

E126-3027-Antenna

8

E127-3063

E127-3063-Tank-Washer

9

E126-3028

E126-3028-Speaker

Выбрано товаров: 31