Запчасти Hyundai 20/25/30/33D-7 PAGE 9050 HEAD COVER ДВИГАТЕЛЬ БАЗА

Схема запчастей Hyundai 20/25/30/33D-7 - PAGE 9050 HEAD COVER ДВИГАТЕЛЬ БАЗА
FIT
1:1
100%

Артикул

Название

Примечание

Количество

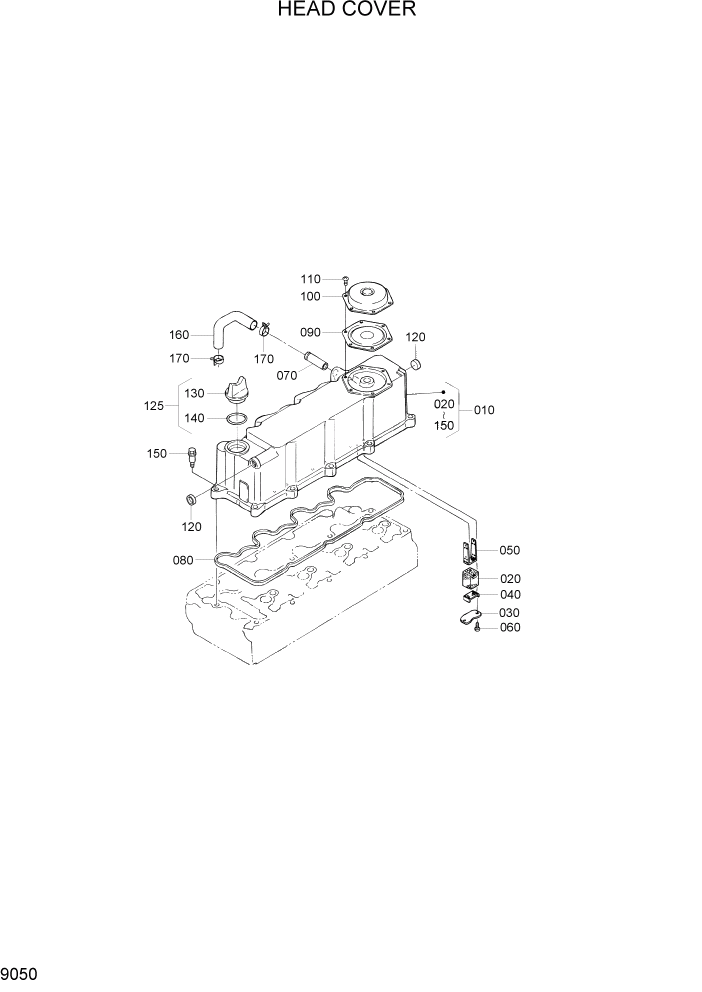
10

XJBT-02246

CYL HEAD COVER ASSY

1шт.

20

XJBT-02247

ELEMENT-BLEATHER

3шт.

30

XJBT-02248

SHIELD-OIL BREATHER

3шт.

40

XJBT-02249

PLATE-B/THER ELEMENT

3шт.

50

XJBT-02250

PLATE-B/THER ELEMENT

3шт.

60

XJBT-00691

SCREW-PAN-HEAD

6шт.

70

XJBT-01325

JOINT-BREATHER PIPE

1шт.

80

XJBT-01857

GASKET-HEAD COVER

1шт.

90

XJBT-02251

BREATHER VALVE COMP

1шт.

100

XJBT-02252

COVER-BREATHER

1шт.

110

XJBT-00693

SCREW,PAN-HEAD

6шт.

120

XJBT-00694

CAP-SEALING

2шт.

125

XJBT-01885

PLUG ASSY-O/FILLER

1шт.

130

XJBT-02220

PLUG-OIL FILTER

1шт.

140

XJBT-00632

O-RING

1шт.

150

XJBT-01979

BOLT

10шт.

160

XJBT-02253

TUBE-BREATHER

1шт.

170

XJBT-01367

BAND-PIPE

2шт.

Выбрано товаров: 18