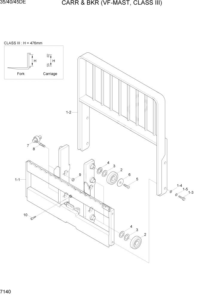
Запчасти Hyundai 35DE/40DE/45DE-7/50D-7AE PAGE 7140 CARR & B/REST(V-MAST, C-III) РАБОЧЕЕ ОБОРУДОВАНИЕ

Схема запчастей Hyundai 35DE/40DE/45DE-7/50D-7AE - PAGE 7140 CARR & B/REST(V-MAST, C-III) РАБОЧЕЕ ОБОРУДОВАНИЕ
FIT
1:1
100%

Артикул

Название

Примечание

Количество

*

65FV-27010

CARR & BKR ASSY

S,35/40DE

1шт.

*

65FV-27020

CARR & BKR ASSY

D,35/40DE

1шт.

*

65FV-37010

CARR & BKR ASSY

S,45DE

1шт.

*

65FV-37020

CARR & BKR ASSY

D,45DE

1шт.

1

65FV-25010

CARR & BACKREST SUB

S,35/40DE

1шт.

1

65FV-25020

CARR & BACKREST SUB

D,35/40DE

1шт.

1

65FV-35010

CARR & BACKREST SUB

S,45DE

1шт.

1

65FV-35020

CARR & BACKREST SUB

D,45DE

1шт.

1-1

65FV-21010

CARRIAGE WA

S,35/40DE

1шт.

1-1

65FV-21020

CARRIAGE WA

D,35/40DE

1шт.

1-1

65FV-31010

CARRIAGE WA

S,45DE

1шт.

1-1

65FV-31020

CARRIAGE WA

D,45DE

1шт.

1-2

61FV-23010

BACKREST WA

SINGLE

1шт.

1-2

61FV-23020

BACKREST WA

DOUBLE

1шт.

1-3

S017-160502

BOLT-HEX

4шт.

1-4

S403-161002

WASHER-PLAIN

4шт.

1-5

S411-160002

WASHER-SPRING

4шт.

2

6625011800-01

BEARING-L/ROLLER(127.0)

STD

6шт.

4

6625011801-01

BEARING-L/ROLLER(127.5)

35DE,OVERSIZE

2шт.

4

6625011802-01

BEARING-L/ROLLER(126.5)

35DE,UNDERSIZE

2шт.

4

6625011801-01

BEARING-L/ROLLER(127.5)

40DE,OVERSIZE

2шт.

4

6625011802-01

BEARING-L/ROLLER(126.5)

40DE,UNDERSIZE

2шт.

4

6625011801-01

BEARING-L/ROLLER(127.5)

45DE,OVERSIZE

2шт.

4

6625011802-01

BEARING-L/ROLLER(126.5)

45DE,UNDERSIZE

2шт.

4

6625011801-01

BEARING-L/ROLLER(127.5)

50DAE,OVERSIZE

2шт.

4

6625011802-01

BEARING-L/ROLLER(126.5)

50DAE,UNDERSIZE

2шт.

3

5261101400

SHIM(0.5T)

6шт.

4

5261101500

SHIM(1.0T)

6шт.

5

61F7-28010

BOLT-FLAT HD

2шт.

6

61F7-28021

WASHER-RETAINING

2шт.

7

61FE-28100

BEARING-SIDE ROLLER

4шт.

8

61FB-28040

SCREW-ADJUST

8шт.

9

S205-161002

NUT-HEX

8шт.

10

S109-120306

BOLT-SOCKET

1шт.

Выбрано товаров: 34