Запчасти Hyundai 35/40/45DS-7 PAGE 9050 CRANK CASE ASSY ДВИГАТЕЛЬ БАЗА

Схема запчастей Hyundai 35/40/45DS-7 - PAGE 9050 CRANK CASE ASSY ДВИГАТЕЛЬ БАЗА
FIT
1:1
100%

Артикул

Название

Примечание

Количество

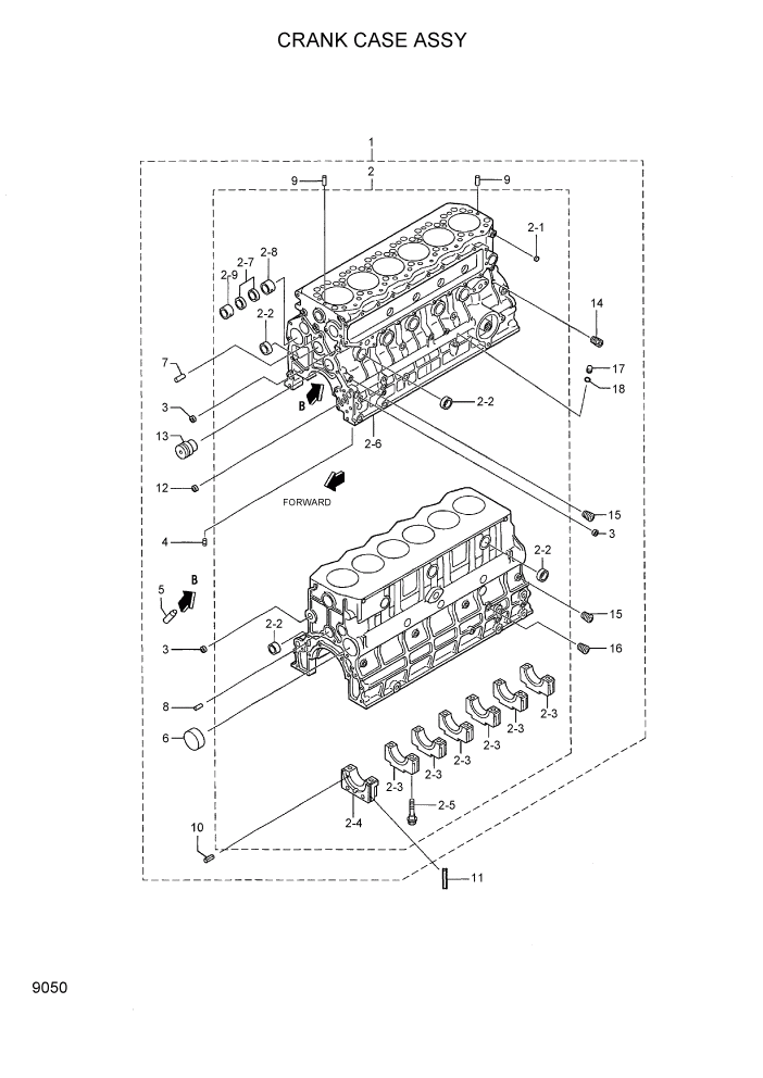
1

XJAF-00602

CRANKCASE ASSY

1шт.

N2

@

CRANKCASE SUB

NOT

1шт.

2-1

XJAF-00189

CAP-SEALING

1шт.

2-2

XJAF-00190

CAP-SEALING

14шт.

2-3

XJAF-00603

CAP-BEARING

6шт.

2-4

XJAF-00604

CAP-BEARING REAR

1шт.

2-5

XJAF-00605

BOLT-BEARING CAP

14шт.

N2-6

@

CRANKCASE

NOT

1шт.

2-7

XJAF-00194

BUSHING-CAMSHAFT,M

2шт.

2-8

XJAF-00195

BUSHING-CAMSHAFT,R

1шт.

2-9

XJAF-00192

BUSHING-CAMSHAFT,F

1шт.

3

XJAF-00189

CAP-SEALING

8шт.

N4

@

PLUG

NOT

4шт.

5

XJAF-00606

VALVE-CHECK

6шт.

6

XJAF-00198

PLUG-CAM

1шт.

7

XJAF-00607

PIN-DOWEL

2шт.

8

XJAF-00202

PIN-DOWEL

2шт.

9

XJAF-00608

PIN-DOWEL

2шт.

10

XJAF-00609

PIN-SPRING

6шт.

12

XJAF-00611

BUSHING

1шт.

13

XJAF-00612

SHAFT-IDLER

1шт.

14

XJAF-00613

PLUG-TAPER

1шт.

15

XJAF-00201

PLUG-TAPER

9шт.

16

XJAF-00208

PLUG-TAPER

2шт.

17

XJAF-00614

PLUG

1шт.

18

XJAF-00276

O-RING

1шт.

11

XJAF-00610

SEAL-SIDE

2шт.

N

@

NOT INDIVIDUALLY SUPPLIED

NOT

ARшт.

Выбрано товаров: 28