Запчасти Hyundai 50/60/70DS-7E PAGE 9050 CRANKCASE ASSY ДВИГАТЕЛЬ БАЗА

Схема запчастей Hyundai 50/60/70DS-7E - PAGE 9050 CRANKCASE ASSY ДВИГАТЕЛЬ БАЗА
FIT
1:1
100%

Артикул

Название

Примечание

Количество

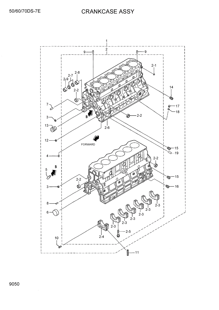
1

XJAF-02593

CRANKCASE ASSY

1шт.

N2

@

CRANKCASE SUB

NOT

1шт.

2-1

XJAF-00189

CAP-SEALING

1шт.

2-2

XJAF-00190

CAP-SEALING

14шт.

N2-3

@

CAP-BEARING

NOT

6шт.

N2-4

@

CAP-BEARING REAR

NOT

1шт.

2-5

XJAF-00605

BOLT-BEARING CAP

14шт.

N2-6

@

CRANKCASE

NOT

1шт.

2-7

XJAF-00194

BUSHING-CAMSHAFT

2шт.

2-8

XJAF-00195

BUSHING-CAMSHAFT

1шт.

2-9

XJAF-00192

BUSHING-CAMSHAFT

1шт.

3

XJAF-00189

CAP-SEALING

7шт.

N4

@

PLUG

NOT

4шт.

5

XJAF-00606

VALVE-CHECK

6шт.

6

XJAF-00198

PLUG-CAM

1шт.

7

XJAF-00607

PIN-DOWEL

2шт.

8

XJAF-00202

PIN-DOWEL

2шт.

9

XJAF-00608

PIN-DOWEL

2шт.

10

XJAF-00609

PIN-SPRING

6шт.

11

XJAF-00610

SEAL-SIDE

2шт.

12

XJAF-00611

BUSHING

1шт.

13

XJAF-00612

SHAFT-IDLER

1шт.

14

XJAF-00613

PLUG-TAPER

1шт.

15

XJAF-00201

PLUG-TAPERED

6шт.

16

XJAF-00208

PLUG-TAPER

1шт.

17

XJAF-00614

PLUG

1шт.

18

XJAF-00276

O-RING

1шт.

19

XJAF-02594

PLUG-TAPERED

2шт.

N

@

AR

NOT

Выбрано товаров: 29