Запчасти Hyundai 50/60/70DS-7E PAGE 3A35 MCV(3-SPOOL, WITHOUT OPSS, TRAVEL OPSS) ГИДРАВЛИЧЕСКАЯ СИСТЕМА

Схема запчастей Hyundai 50/60/70DS-7E - PAGE 3A35 MCV(3-SPOOL, WITHOUT OPSS, TRAVEL OPSS) ГИДРАВЛИЧЕСКАЯ СИСТЕМА
FIT
1:1
100%

Артикул

Название

Примечание

Количество

*

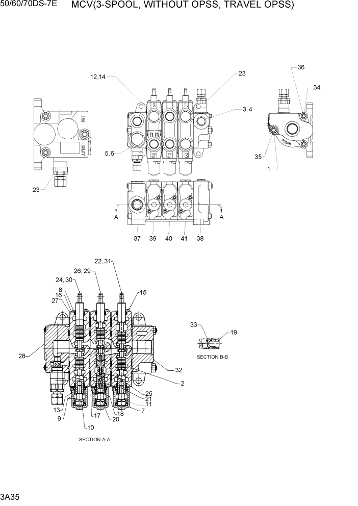
32FF-02000

MCV

1шт.

1

YUCE-00001

NUT-SPECIAL

2шт.

2

YUCE-00004

O-RING

4шт.

3

YUCE-00139

PLUG

1шт.

4

YUCE-00140

O-RING

1шт.

5

YUCE-00005

O-RING

1шт.

6

YUCE-00112

PLUG

1шт.

7

YUCE-00113

CAP-SPOOL

3шт.

8

YUCE-00114

PLATE-SEAL

6шт.

9

YUCE-00115

SPRING SEAT

4шт.

10

YUCE-00116

SPOOL END

2шт.

11

YUCE-00117

SPRING

3шт.

12

YUCE-00118

O-RING

3шт.

13

YUCE-00006

CAP-SCREW

6шт.

14

YUCE-00119

PLUG

3шт.

15

YUCE-00120

SCREW

6шт.

16

YUCE-00121

WIPER

6шт.

17

YUCE-00122

O-RING

1шт.

18

YUCE-00123

SPIRNG SEAT

2шт.

19

YUCE-00010

SPRING

3шт.

20

YUCE-00124

SPOOL END

1шт.

21

YUCE-00125

SPRING

1шт.

N22

YUCE-00141

SPOOL

NOT

1шт.

23

@

MAIN RELIEF VALVE

NOT

2шт.

N24

YUCE-00127

SPOOL

NOT

1шт.

N25

YUCE-00128

PISTON

NOT

1шт.

N26

YUCE-00129

SPOOL

NOT

1шт.

27

YUCE-00130

O-RING

6шт.

N28

YUCE-00131

INLET HOUSING

NOT

1шт.

N29

YUCE-00132

SPOOL HOUSING

NOT

1шт.

N30

YUCE-00133

SPOOL HOUSING

NOT

1шт.

N31

YUCE-00142

SPOOL HOUSING

NOT

1шт.

N32

YUCE-00143

OUTLET HOUSING

NOT

1шт.

33

YUCE-00079

POPPET

3шт.

34

YUCE-00084

ROD-TIE

2шт.

35

YUCE-00085

ROD-TIE

1шт.

36

YUCE-00082

NUT-SPECIAL

4шт.

37

YUCE-00136

INLET SECTION ASSY

1шт.

38

YUCE-00144

OUTLET SECTION ASSY

1шт.

39

YUCE-00137

HOIST SECTION ASSY

SEE 3A60

1шт.

40

YUCE-00138

TILT SECTION ASSY

SEE 3A60

1шт.

41

YUCE-00145

AUX1 SECTION ASSY

SEE 3A70

1шт.

N

@

AR

NOT

Выбрано товаров: 43