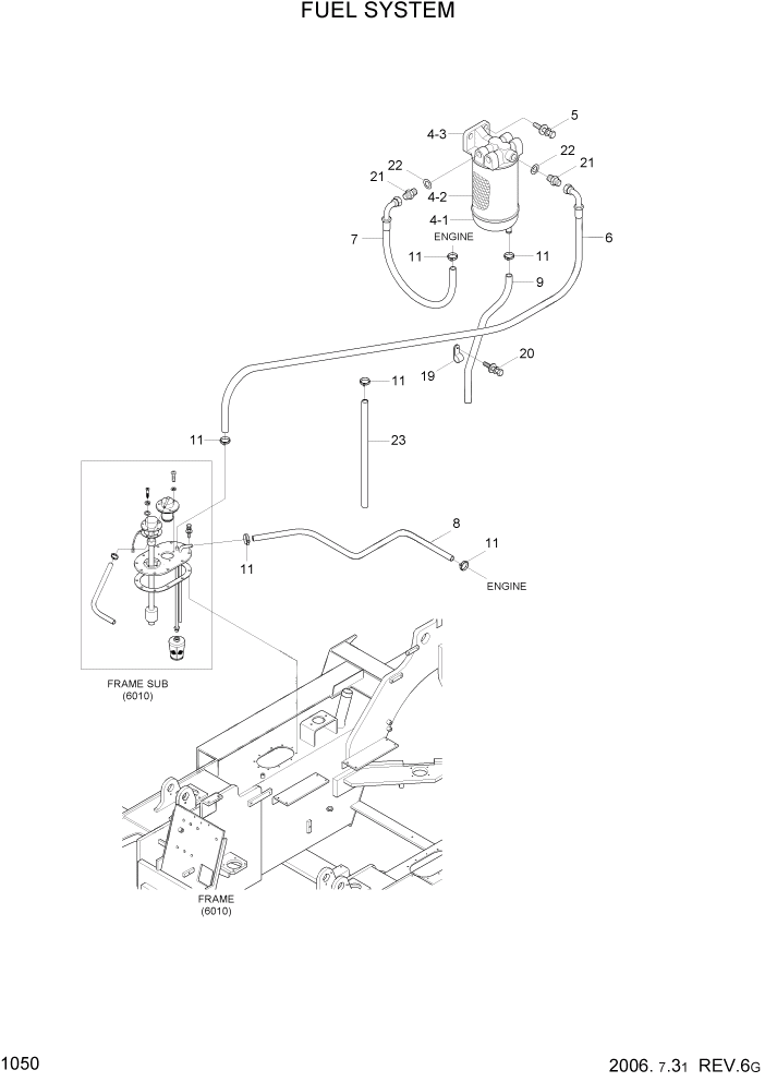
Запчасти Hyundai HDF50/HDF70-7S PAGE 1050 FUEL SYSTEM СИСТЕМА ДВИГАТЕЛЯ

Схема запчастей Hyundai HDF50/HDF70-7S - PAGE 1050 FUEL SYSTEM СИСТЕМА ДВИГАТЕЛЯ
FIT
1:1
100%

Артикул

Название

Примечание

Количество

4

11LB-20300

PRE FILTER ASSY

ILLUST CHANGE #0001

1шт.

4-1

11LD-20260

BOWL ASSY-W/KNOB

1шт.

4-2

11LB-20310

ELEMENT ASSY-F/FILTER

1шт.

4-3

11LD-20240

FILTER HEAD

1шт.

5

S035-082526

BOLT-W/WASHER

2шт.

6

11FQ-50030

HOSE ASSY

1шт.

7

11FQ-50040

HOSE ASSY

1шт.

8

11F8-00061

HOSE-FUEL

1шт.

9

11N1-50020

HOSE ASSY

1шт.

11

S520-015000

CLAMP-HOSE

6шт.

19

S543-140002

CLAMP-TUBE

1шт.

20

S035-081526

BOLT-W/WASHER

1шт.

21

11FQ-50050

CONNECTOR

2шт.

22

P392-160000

WASHER-COPPER

2шт.

23

11FA-53030

HOSE-FUEL

1шт.

Выбрано товаров: 15