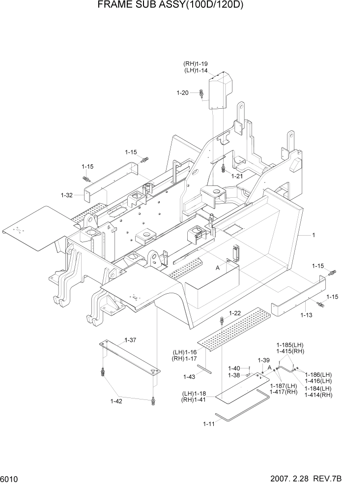
Запчасти Hyundai 100/120/130/160D-7 PAGE 6010 FRAME SUB ASSY(100D/120D) СТРУКТУРА

Схема запчастей Hyundai 100/120/130/160D-7 - PAGE 6010 FRAME SUB ASSY(100D/120D) СТРУКТУРА
FIT
1:1
100%

Артикул

Название

Примечание

Количество

1

41FT-00012

FRAME WA

100D #0010

1шт.

1

41FT-00012

FRAME WA

120D #0001

1шт.

1-11

S791-060110

PLATE-GROMMET

2шт.

1-13

41FT-00112

COVER-LH

LH

2шт.

1-14

41FT-00301

COVER-LH

LH

1шт.

1-15

S035-082026

BOLT-W/WASHER

12шт.

1-16

41FT-00132

STEP-LH

LH #0001

1шт.

1-17

41FT-00142

STEP-RH

RH #0001

1шт.

1-18

41FT-00222

COVER WA

LH #0001

1шт.

1-184

@

BAR-ROUND

NOT

1шт.

1-185

S461-160162

PIN-SPLIT

4шт.

1-186

S403-06500B

WASHER-PLAIN

2шт.

1-187

S403-06200B

WASHER-PLAIN

2шт.

1-19

41FT-00311

COVER-RH

RH

1шт.

1-2

S037-101526

BOLT-W/WASHER

6шт.

1-21

S037-102026

BOLT-W/WASHER

6шт.

1-22

S035-081516

BOLT-W/WASHER

12шт.

1-32

41FT-00330

COVER-RH

RH

1шт.

1-37

41FT-00091

CROSS MEMBER

1шт.

1-38

S491-080252

PIN-CLEVIS

4шт.

1-39

S403-08100B

WASHER-PLAIN

4шт.

1-4

S501-080002

PIN-SELF LOCKING

4шт.

1-41

41FT-00261

Deleted

RH

1шт.

1-414

@

BAR-ROUND

NOT

1шт.

1-415

S461-160162

PIN-SPLIT

4шт.

1-416

S403-06500B

WASHER-PLAIN

2шт.

1-417

S403-06200B

WASHER-PLAIN

2шт.

1-42

S037-103012

BOLT-W/WASHER

4шт.

1-43

S791-060015

GROMMET-PLATE

2шт.

Выбрано товаров: 29