Запчасти Hyundai 110/130/140/160D-7E PAGE 6010 FRAME(110/130D-7E) СТРУКТУРА

Схема запчастей Hyundai 110/130/140/160D-7E - PAGE 6010 FRAME(110/130D-7E) СТРУКТУРА
FIT
1:1
100%

Артикул

Название

Примечание

Количество

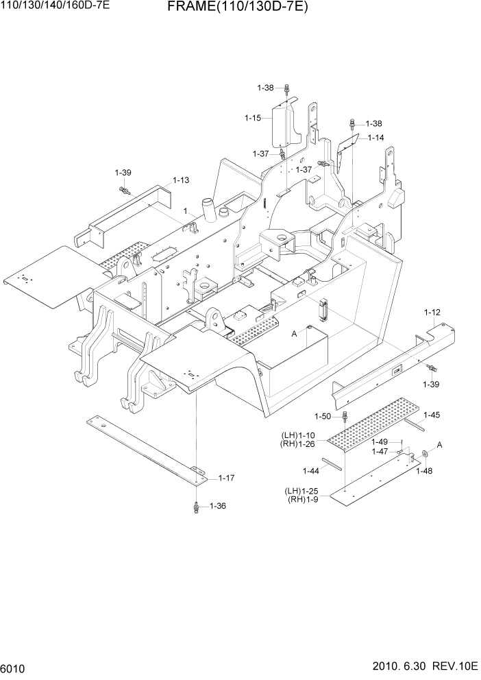
1

41FT-15013

FRAME WA

110D-7E #0014

1шт.

1

41FT-15014

FRAME WA

110D-7E #0015

1шт.

1

41FT-15013

FRAME WA

130D-7E #0002

1шт.

1

41FT-15014

FRAME WA

130D-7E #0003

1шт.

1-1

41FT-15113

SIDE FRAME WA-LH

110/130D-7E #0001

1шт.

1-2

41FT-15123

SIDE FRAME WA-RH

110/130D-7E #0001

1шт.

1-3

41FT-16543

REAR FRAME WA

110/130D-7E #0001

1шт.

1-9

41FT-17190

COVER WA

RH

1шт.

1-1

41FT-17240

STEP-LH

LH

1шт.

1-12

41FT-17031

COVER WA-LH

#0015

1шт.

1-12

41FT-17032

COVER WA-LH

110D-7E #0016

1шт.

1-12

41FT-17032

COVER WA-LH

130D-7E

1шт.

1-13

41FT-17071

COVER WA-RH

1шт.

1-14

41FT-16392

COVER-LH

110D-7E #0005

1шт.

1-14

41FT-16393

COVER-LH

110D-7E #0006

1шт.

1-14

41FT-16392

COVER-LH

130D-7E #0001

1шт.

1-14

41FT-16393

COVER-LH

130D-7E #0002

1шт.

1-15

41FT-16401

COVER-RH

1шт.

1-17

41FT-17021

PLATE WA

1шт.

1-25

41FT-16912

COVER WA

LH

1шт.

1-26

41FT-15252

STEP

RH

1шт.

1-36

S037-103026

BOLT-W/WASHER

4шт.

1-37

S037-101526

BOLT-W/WASHER

4шт.

1-38

S037-102026

BOLT-W/WASHER

4шт.

1-39

S035-082526

BOLT-W/WASHER

110/130D-7E #0001

8шт.

1-41

X114-552060

BUSHING

2шт.

1-44

S791-060015

GROMMET-PLATE

1шт.

1-45

S791-060100

GROMMET-PLATE

1шт.

1-47

S491-080252

PIN-CLEVIS

4шт.

1-48

S403-08100B

WASHER-PLAIN

4шт.

1-49

S501-080002

PIN-SELF LOCKING

4шт.

1-5

S035-081526

BOLT-W/WASHER

16шт.

1-51

S366-508040

PLATE-TAPPED,2 HOLE

110/130D-7E #0001

4шт.

Выбрано товаров: 33