Запчасти Hyundai HDF50/HDF70-3 PAGE 7100 SIDE SHIFT(HDF50-3,CASCADE) РАБОЧЕЕ ОБОРУДОВАНИЕ

Схема запчастей Hyundai HDF50/HDF70-3 - PAGE 7100 SIDE SHIFT(HDF50-3,CASCADE) РАБОЧЕЕ ОБОРУДОВАНИЕ
FIT
1:1
100%

Артикул

Название

Примечание

Количество

*

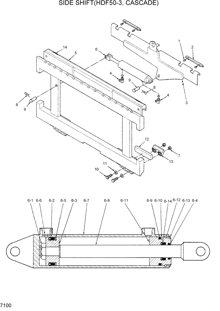
F14560010

SIDE SHIFT ASSY

HDF50-3

1шт.

K1

7403

NIPPLE-GREASE

4шт.

K2

672018

BEARING-UPPER

2шт.

3

216363

BRACKET-ANCHOR

1шт.

4

601676

FITTING-90

2шт.

N5

219824

PLATE-FACE

NOT

1шт.

6

676649

CYLINDER ASSY

4шт.

6-1

553717

NUT-HEX

1шт.

S6-2

662456

SEAL

1шт.

6-3

553527

PISTON

1шт.

S6-4

636852

WIPER

1шт.

S6-5

649817

RING-BACK UP

1шт.

6-6

564226

WASHER-SPEED CNTL

1шт.

6-7

676776

SHELL

1шт.

6-8

553530

ROD

1шт.

S6-9

2789

O-RING

1шт.

S6-10

615132

RING-BACK UP

1шт.

6-11

553528

RETAINER

1шт.

6-12

553688

RING-RETAINING

1шт.

6-13

7211

RING-SNAP

1шт.

S6-14

662447

SEAL

1шт.

7

678990

NUT

4шт.

8

672726

PIN-COTTER

2шт.

9

678528

PIN-CLEVIS

2шт.

10

752903

SCREW-CAP

4шт.

11

667225

WASHER

4шт.

12

208350

BEARING-LOWER

2шт.

13

204186

HOOK-LOWER

2шт.

14

221906

DECAL-SAFETY

2шт.

K

672022

SERVICE KIT(1,2)

1шт.

S

553866

SERVICE KIT(6-2,6-4,6-5,

1шт.

N

@

NOT INDIVIDUALLY SUPPLIED

NOT

1шт.

Выбрано товаров: 32