Запчасти Hyundai HDF20/HDF25/HDF30-2 PAGE 9040 CYLINDER BLOCK ДВИГАТЕЛЬ БАЗА

Схема запчастей Hyundai HDF20/HDF25/HDF30-2 - PAGE 9040 CYLINDER BLOCK ДВИГАТЕЛЬ БАЗА
FIT
1:1
100%

Артикул

Название

Примечание

Количество

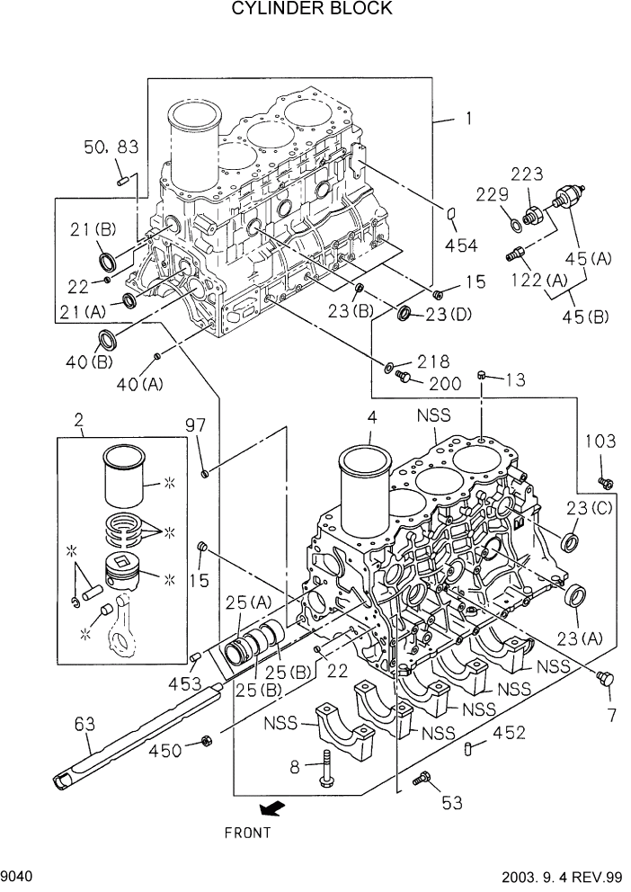
1

897043-28

CYLINDER BLOCK ASSY

#2000

1шт.

1

897314-579

CYLINDER BLOCK ASSY

#2001

1шт.

2

587813-209

LINER SET-ENG CYL

GRADE=1

4шт.

2

587813-21

LINER SET-ENG CYL

GRADE=2

4шт.

2

587813-211

LINER SET-ENG CYL

GRADE=3

4шт.

2

587813-212

LINER SET-ENG CYL

GRADE=4

4шт.

4

897176-699

LINER-C/BLOCK

ODG=1,IDG=AX

4шт.

4

897176-7

LINER-C/BLOCK

ODG=1,IDG=CX

4шт.

4

897176-701

LINER-C/BLOCK

ODG=2,IDG=AX

4шт.

4

897176-702

LINER-C/BLOCK

ODG=2,IDG=CX

4шт.

4

897176-703

LINER-C/BLOCK

ODG=3,IDG=AX

4шт.

4

897176-704

LINER-C/BLOCK

ODG=3,IDG=CX

4шт.

4

897176-705

LINER-C/BLOCK

ODG=4,IDG=AX

4шт.

4

897176-706

LINER-C/BLOCK

ODG=4,IDG=CX

4шт.

7

909664-001

PLUG-WATER DRAIN

1шт.

8

894432-642

BOLT-HEX

10шт.

13

894453-344

PIN-DOWEL

2шт.

15

109605-05

PLUG-TAPER

2шт.

0-875

511219-017

CUP-SEALING

OD=38

1шт.

21B

511219-018

CUP-SEALING

OD=36

1шт.

22

509600-013

CUP-SEALING

OD=12.3

1шт.

0-95833333

109600-0051

CUP-SEALING

OD=45

3шт.

23B

511219-008

CUP-SEALING

OD=18

3шт.

23C

511219-015

CUP-SEALING

OD=32

2шт.

23D

511219-018

CUP-SEALING

OD=36

3шт.

25A

894427-2062

METAL-CAM SHAFT

FRONT

1шт.

25B

894427-2012

METAL-CAM SHAFT

CENTER

2шт.

40A

511129-006

CUP-SEALING

OD=16

1шт.

40B

894250-514

CUP-SEALING

OD=56

1шт.

45A

182410-0082

SWITCH ASSY

1шт.

45B

582410-0122

SWITCH ASSY

1шт.

50

908161-022

PIN

1шт.

53

894171-9431

BOLT-REAMER

1шт.

63

894456-7942

DUCT

1шт.

83

908151-228

PIN

2шт.

97

511129-003

CUP-SEALING/FRONT

OD=15.6

1шт.

103

894130-0211

NIPPLE

1шт.

122A

909902-238

CONNECTOR

1шт.

200

999202-314

PLUG

1шт.

218

909571-414

PACKING-PLUG

ID=14 OD=20

1шт.

223

894425-45

CONNECTOR

1шт.

229

909571-414

PACKING-PLUG

1шт.

450

909111-51

NUT-REAMER BOLT

1шт.

452

909878-597

PIN

#2000

2шт.

453

908151-05

PIN

OD=10 L=50

2шт.

454

897016-473

SEAL-CYL BLOCK SIDE

1шт.

Выбрано товаров: 46