Запчасти Hyundai 14/15/18BR PAGE 5030 BRAKE PEDAL & CABLE СИСТЕМА УПРАВЛЕНИЯ

Схема запчастей Hyundai 14/15/18BR - PAGE 5030 BRAKE PEDAL & CABLE СИСТЕМА УПРАВЛЕНИЯ
FIT
1:1
100%

Артикул

Название

Примечание

Количество

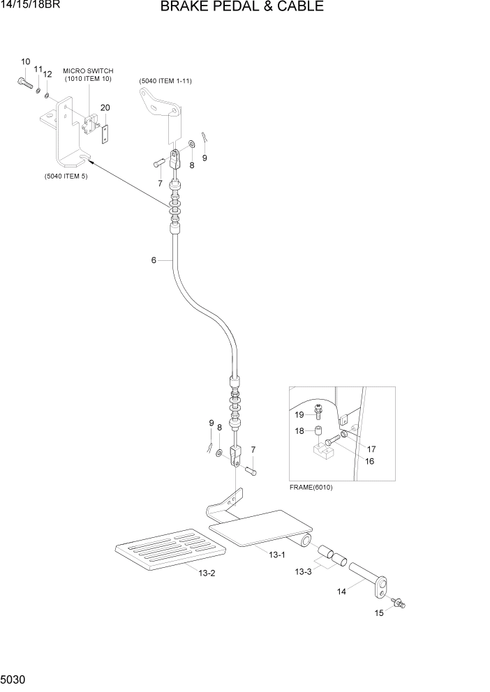
6

81FP-47030

CABLE-BRAKE

1шт.

7

S491-080202

PIN-CLEVIS

2шт.

8

S403-08100B

WASHER-PLAIN

2шт.

9

S461-200152

PIN-SPLIT

2шт.

10

S015-040306

BOLT-HEX

2шт.

11

S411-040006

WASHER-SPRING

2шт.

12

S403-04100B

WASHER-PLAIN

2шт.

13

81FP-47042

BRAKE PEDAL ASSY

1шт.

13-1

81FP-47052

BRAKE PEDAL WA

1шт.

13-2

S731-016020

BUSHING-DU

2шт.

13-3

81FP-47060

COVER-PEDAL

1шт.

14

81FP-47070

PIN

1шт.

15

S035-082026

BOLT-W/WASHER

1шт.

16

S015-080256

BOLT-HEX

1шт.

17

S205-081006

NUT-HEX

1шт.

18

F12100190

CUSHION

1шт.

19

S131-051546

SCREW-W/WASHER

2шт.

20

B52110070

BRACKET

1шт.

Выбрано товаров: 18