Запчасти Hyundai 14BRJ/16BRJ-7 PAGE 1070 PUMP MOTOR ЭЛЕКТРИЧЕСКАЯ СИСТЕМА

Схема запчастей Hyundai 14BRJ/16BRJ-7 - PAGE 1070 PUMP MOTOR ЭЛЕКТРИЧЕСКАЯ СИСТЕМА
FIT
1:1
100%

Артикул

Название

Примечание

Количество

*

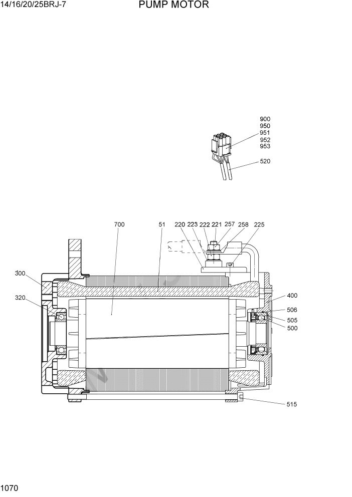
21HJ-72020

MOTOR-PUMP

1шт.

N51

@

STATOR

NOT

1шт.

220

ZTBA-00033

TERMINAL

1шт.

N221

@

BOLT-HEXAGON

NOT

3шт.

N222

50014730

NUT-HEXAGON

NOT

3шт.

N223

50014673

DISK

NOT

3шт.

N225

@

SCREW-CYLINDER

NOT

2шт.

N257

50014730

NUT-HEXAGON

NOT

3шт.

N258

@

DISK-SCHNORR

NOT

3шт.

N300

@

ENDSHIELD DRIVE

NOT

1шт.

320

ZTBA-00011

BEARING-BALL

1шт.

N400

@

COMMUTATOR

NOT

1шт.

500

ZTBA-00014

SENSOR-BEARING

1шт.

N505

50013974

WASHER-WAVY

NOT

1шт.

506

ZTBA-00016

O-RING

1шт.

N515

@

CYLINDER SCREW

NOT

4шт.

520

ZTBA-00028

SENSOR-TEMP

1шт.

N700

10058209

ROTOR

NOT

1шт.

N900

50058668

PLUG

NOT

1шт.

N950

50055414

PIN

NOT

4шт.

N951

50055416

PLUG-KEYING

NOT

3шт.

N952

50058666

SEAL-WIRE

NOT

1шт.

N953

50058667

SEAL-INTERFACE

NOT

1шт.

N95999

@

ASYNHRONMOTOR

NOT

1шт.

N

@

NOT SUPPLIED PARTS

NOT

ARшт.

Выбрано товаров: 25