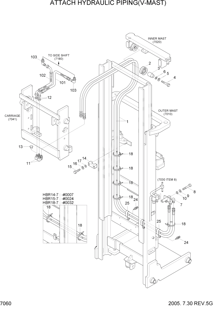
Запчасти Hyundai HBR14/HBR15/HBR18-7 PAGE 7060 ATTACH HYDRAULIC PIPING(V-MAST) РАБОЧЕЕ ОБОРУДОВАНИЕ

Схема запчастей Hyundai HBR14/HBR15/HBR18-7 - PAGE 7060 ATTACH HYDRAULIC PIPING(V-MAST) РАБОЧЕЕ ОБОРУДОВАНИЕ
FIT
1:1
100%

Артикул

Название

Примечание

Количество

1

P910-044067

HOSE ASSY-ORFS 0X0

V250

2шт.

1

P910-044071

HOSE ASSY-ORFS 0X0

V270

2шт.

1

P910-044077

HOSE ASSY-ORFS 0X0

V300

2шт.

1

P910-044083

HOSE ASSY-ORFS 0X0

V330

2шт.

1

P910-044087

HOSE ASSY-ORFS 0X0

V350

2шт.

1

P910-044091

HOSE ASSY-ORFS 0X0

V370

2шт.

1

P910-044097

HOSE ASSY-ORFS 0X0

V400

2шт.

1

P910-044111

HOSE ASSY-ORFS 0X0

V450

2шт.

1

P910-044121

HOSE ASSY-ORFS 0X0

V500

2шт.

1

P910-044131

HOSE ASSY-ORFS 0X0

V550

2шт.

2

34FG-90200

PULLEY-HOSE

2шт.

3

34FG-90310

PIN-HOSE PULLEY

1шт.

4

S017-100602

BOLT-HEX

1шт.

5

S411-100002

WASHER-SPRING

1шт.

6

232110000

WASHER-PLAIN

1шт.

7

31FS-90110

ELBOW WA

1шт.

8

S017-100752

BOLT-HEX

1шт.

9

S411-100002

WASHER-SPRING

1шт.

10

S403-101002

WASHER-PLAIN

1шт.

11

31FS-90500

ELBOW WA

2шт.

12

31FG-80430

NUT

2шт.

13

X710-100103

CAP-ORFS

STD

2шт.

14

34FG-90260

CLAMP-HOSE

1шт.

15

S015-060302

BOLT-HEX

2шт.

16

S411-060002

WASHER-SPRING

2шт.

17

S403-061002

WASHER-PLAIN

2шт.

18

S552-102370

CLAMP-BAND

HBR14-7 #0007

8шт.

18

S552-102370

CLAMP-BAND

HBR14-7 #0008

6шт.

18

S552-102370

CLAMP-BAND

HBR15-7 #0024

8шт.

18

S552-102370

CLAMP-BAND

HBR15-7 #0025

6шт.

18

S552-102370

CLAMP-BAND

HBR18-7 #0032

8шт.

18

S552-102370

CLAMP-BAND

HBR18-7 #0033

6шт.

24

S035-082022

BOLT-W/WASHER

HBR14-7 #0008

3шт.

24

S035-082022

BOLT-W/WASHER

HBR15-7 #0025

3шт.

24

S035-082022

BOLT-W/WASHER

HBR18-7 #0033

3шт.

25

31L6-02470

CLAMP

HBR14-7 #0008

3шт.

25

31L6-02470

CLAMP

HBR15-7 #0025

3шт.

25

31L6-02470

CLAMP

HBR18-7 #0033

3шт.

101

P923-064010

HOSE ASSY-ORFS 0X45

SIDE SHIFT

1шт.

102

31FS-90600

HOSE ASSY-ORFS(45X90)

SIDE SHIFT

1шт.

103

31FG-80400

ELBOW-90

SIDE SHIFT

2шт.

Выбрано товаров: 41