Запчасти Hyundai 15/18/20/23BRP-7 PAGE 6030 OUTER PANEL 2 СТРУКТУРА

Схема запчастей Hyundai 15/18/20/23BRP-7 - PAGE 6030 OUTER PANEL 2 СТРУКТУРА
FIT
1:1
100%

Артикул

Название

Примечание

Количество

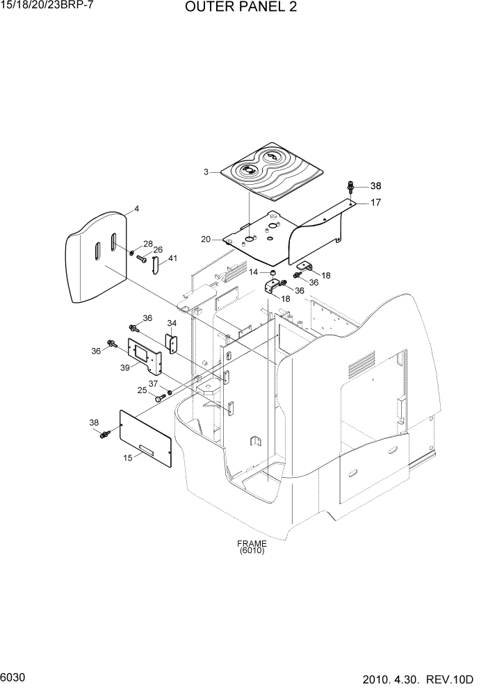
3

71HR-10072

MAT-FLOOR

1шт.

4

71HR-10083

PAD-BACK

#0001

1шт.

14

2636050800

RUBBER CUSHION

2шт.

15

71HR-10202

COVER

1шт.

17

71HR-10222

COVER-FOOT

1шт.

18

71FS-11241

BRACKET

2шт.

20

71HR-11052

FLOOR SUB ASSY

1шт.

25

71EH-13150

BUMPER-RUBBER

2шт.

26

S179-120166

SCREW-SOCKET RD HD

#0001

2шт.

28

S403-125006

WASHER-PLAIN

2шт.

34

71HR-10180

BRACKET-LATCH

1шт.

36

S035-082056

BOLT-W/WASHER

6шт.

37

S203-101006

NUT-HEX

2шт.

38

S132-081526

SCREW-W/WASHER

5шт.

39

71HR-10291

BRACKET-FUSE BOX

1шт.

41

71HR-10331

CAP

2шт.

Выбрано товаров: 16