Запчасти Hyundai 15/18/20BT PAGE 1050 DRIVE MOTOR ЭЛЕКТРИЧЕСКАЯ СИСТЕМА

Схема запчастей Hyundai 15/18/20BT - PAGE 1050 DRIVE MOTOR ЭЛЕКТРИЧЕСКАЯ СИСТЕМА
FIT
1:1
100%

Артикул

Название

Примечание

Количество

*

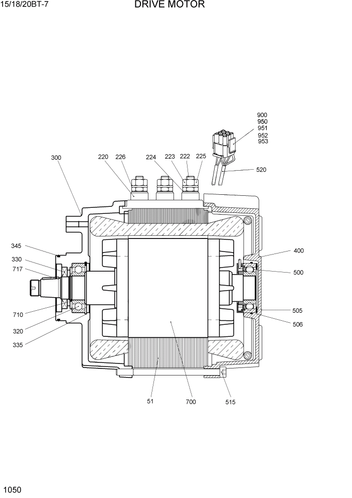
21FY-72011

MOTOR-TRACTION,AC

1шт.

N51

@

STATOR

NOT

1шт.

220

ZTBA-00007

TERMINAL

1шт.

N222

@

SCREW-HEX

NOT

3шт.

N223

@

NUT-HEX

NOT

3шт.

N224

@

DISK

NOT

3шт.

N225

@

NUT-HEX

NOT

3шт.

N226

@

DISK

NOT

3шт.

N300

@

COVER-DRIVE END

NOT

1шт.

320

ZTBA-00026

BALL BEARING

1шт.

330

ZTBA-00025

RING-SEALING

1шт.

N335

@

CIRCLIP

NOT

1шт.

345

@

O-RING

NOT

1шт.

345

21FY-72170

O-RING

1шт.

N400

@

PLATE

NOT

1шт.

500

ZTBA-00014

SENSOR-BEARING

1шт.

N505

@

WASHER

NOT

1шт.

N506

@

O-RING

NOT

1шт.

N515

@

SCREW-CYLINDER

NOT

4шт.

520

@

SENSOR-TEMP

NOT

1шт.

523

@

TUBE

NOT

1шт.

524

@

PIN-AMP

NOT

2шт.

N700

@

ROTOR

NOT

1шт.

N710

@

CIRCLIP

NOT

1шт.

717

ZTBA-00027

KEY-WOODRUFF

1шт.

N900

@

PLUG

NOT

1шт.

N950

@

PIN-AMP

NOT

4шт.

N951

@

PLUG-AMP

NOT

3шт.

N952

@

SEAL-WIRE

NOT

1шт.

N953

@

SEAL-AMP

NOT

1шт.

N9999

@

AC-MOTOR

NOT

1шт.

N

@

NOT SUPPLIED PARTS

NOT

ARшт.

953

@

SEAL-AMP

NOT

1шт.

Выбрано товаров: 33