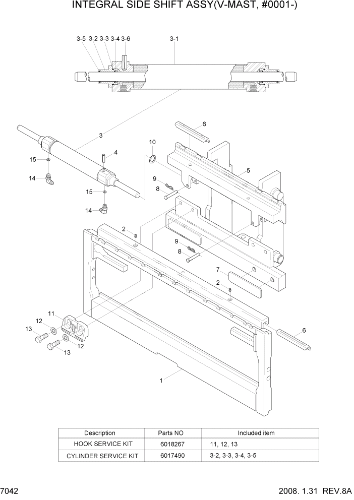
Запчасти Hyundai 15/18/20BT PAGE 7042 INTEGRAL SIDE SHIFT ASSY(V-MAST, #0001-) РАБОЧЕЕ ОБОРУДОВАНИЕ

Схема запчастей Hyundai 15/18/20BT - PAGE 7042 INTEGRAL SIDE SHIFT ASSY(V-MAST, #0001-) РАБОЧЕЕ ОБОРУДОВАНИЕ
FIT
1:1
100%

Артикул

Название

Примечание

Количество

*

66FY-00110

INTEGRAL S/SHIFT ASSY

1шт.

1

6071773

OUTER FRAME

1шт.

2

651853

GREASE FITTING

2шт.

3

6020048

CYLINDER

1шт.

3-1

S-21144

CYLINDER WA

1шт.

K3-2

6016571

THREADED RETAINER

2шт.

K3-3

415866

O-RING

2шт.

K3-4

562131

SEAL-ROD WIPER

2шт.

K3-5

562132

SEAL-ROD

2шт.

3-6

769050

ROLL PIN

1шт.

4

769050

ROLL PIN

1шт.

5

@

INNER CARRIAGE

NOT

1шт.

6

8508374

UPPER BEARING

2шт.

7

8508376

LOWER BEARING

2шт.

8

6016592

CLEVIS PIN

2шт.

9

6022929

COTTER PIN

2шт.

10

6016591

SHIM

3шт.

K11

8508373

LOWER HOOK

2шт.

K12

667225

WASHER

4шт.

K13

684295

CAPSCREW

4шт.

14

666984

FITTING

2шт.

15

221733

FLOW RESTRICTOR

2шт.

K

6018267

HOOK SERVICE KIT

SEE ILLUST

1шт.

K

6017490

CYLINDER SERVICE KIT

SEE ILLUST

1шт.

Выбрано товаров: 24