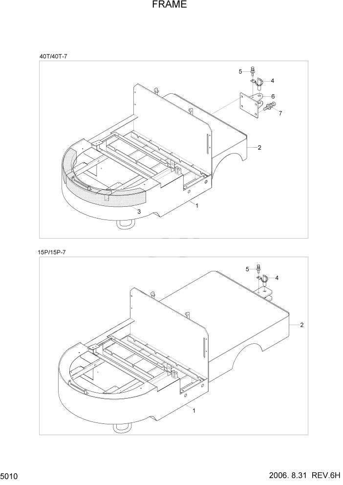
Запчасти Hyundai 15P/15P-7/40T/40T-7 PAGE 5010 FRAME РАМА & КОРПУС

Схема запчастей Hyundai 15P/15P-7/40T/40T-7 - PAGE 5010 FRAME РАМА & КОРПУС
FIT
1:1
100%

Артикул

Название

Примечание

Количество

*

41HB-10021

FRAME ASSY(HBP15-7)

15P/15P-7 #0001

1шт.

*

41HB-10013

FRAME ASSY(40T)

40T/40T-7 #0001

1шт.

1

41HB-00012

MAIN FRAME WA

15P/15P-7 #0002

1шт.

1

41HB-00013

MAIN FRAME WA

15P/15P-7 #0003

1шт.

1

41HB-00012

MAIN FRAME WA

40T/40T-7 #0022

1шт.

1

41HB-00013

MAIN FRAME WA

40T/40T-7 #0023

1шт.

2

41HB-00021

PLATFORM WA

40T/40T-7

1шт.

2

41HB-10030

PLATFORM WA

15P/15P-7

1шт.

3

41HB-00271

WEIGHT

40T/40T-7

1шт.

4

6600212700B-01

CHAIN-LINK

1шт.

5

S035-082026

BOLT-W/WASHER

1шт.

6

41HB-00361

BRACKET WA

40T/40T-7

1шт.

7

S037-123026

BOLT-W/WASHER

40T/40T-7

4шт.

Выбрано товаров: 13