Запчасти Hyundai 16/18/20B-7 PAGE 5060 FINGERTIP CONTROL SYSTEM РУЛЕВОЕ & СИСТЕМА УПРАВЛЕНИЯ

Схема запчастей Hyundai 16/18/20B-7 - PAGE 5060 FINGERTIP CONTROL SYSTEM РУЛЕВОЕ & СИСТЕМА УПРАВЛЕНИЯ
FIT
1:1
100%

Артикул

Название

Примечание

Количество

*

@

ARMREST ASSY

NOT #0006

1шт.

*

@

ARMREST ASSY

NOT #0005

1шт.

*

@

ARMREST ASSY

NOT #0009

1шт.

1

71HE-10301

ARMREST SUB ASSY

2-SPOOL

1шт.

1

71HE-10500

ARMREST SUB ASSY

3-SPOOL

1шт.

1

71HE-10510

ARMREST SUB ASSY

4-SPOOL

1шт.

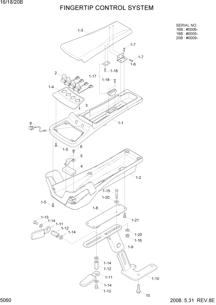
1-1

71HE-10311

COVER-BASE

1шт.

1-2

71HE-10321

COVER-UPPER

1шт.

1-3

71HE-10331

PAD-ARMREST

1шт.

1-4

71HE-10341

PANEL-FINGER

2-SPOOL

1шт.

1-4

71HE-10430

PANEL-FINGER

3-SPOOL

1шт.

1-4

71HE-10440

PANEL-FINGER

4-SPOOL

1шт.

1-5

S132-061026

SCREW-W/WASHER

10шт.

1-6

71HE-10350

HINGE

2шт.

1-7

S141-050106

SCREW-FLAT HD

8шт.

1-8

71HE-10361

PLATE-SLIDING WA

1шт.

1-9

71HE-10371

SUPPORT-ADJUST WA

1шт.

1-1

71HE-10381

SUPPORT-BASE

1шт.

1-11

71HE-10390

LEVER-ADJUST

2шт.

1-12

71HE-10410

NUT-ADJUST

2шт.

1-13

FAD0600110

BOLT-ADJUST

2шт.

1-14

S441-100006

WASHER-HARDENED

4шт.

1-15

S017-080406

BOLT-HEX

1шт.

1-16

S275-080006

NUT-SELF LOCKING

1шт.

1-17

71FP-10350

MAGNETIC LATCH

1шт.

1-18

S141-030086

SCREW-FLAT HD

4шт.

1-2

S441-080006

WASHER-HARDENED

2шт.

1-21

S035-081526

BOLT-W/WASHER

4шт.

2

21FH-18030

JOYSTICK-FINGERTIP

2-SPOOL

2шт.

2

21FH-18030

JOYSTICK-FINGERTIP

3-SPOOL

3шт.

2

21FH-18030

JOYSTICK-FINGERTIP

4-SPOOL

4шт.

3

S151-040106

SCREW-TAPPING

8шт.

4

21FH-18040

CARD-CAN TILLER

1шт.

5

71HE-10420

BRACKET

1шт.

6

S132-061026

SCREW-W/WASHER

2шт.

8

21HE-72080

SWITCH ASSY-HORN

1шт.

10

S035-082526

BOLT-W/WASHER

2шт.

Выбрано товаров: 37