Запчасти Hyundai 15/18/20G-7A PAGE 2040 DASHBOARD HARNESS ЭЛЕКТРИЧЕСКАЯ СИСТЕМА

Схема запчастей Hyundai 15/18/20G-7A - PAGE 2040 DASHBOARD HARNESS ЭЛЕКТРИЧЕСКАЯ СИСТЕМА
FIT
1:1
100%

Артикул

Название

Примечание

Количество

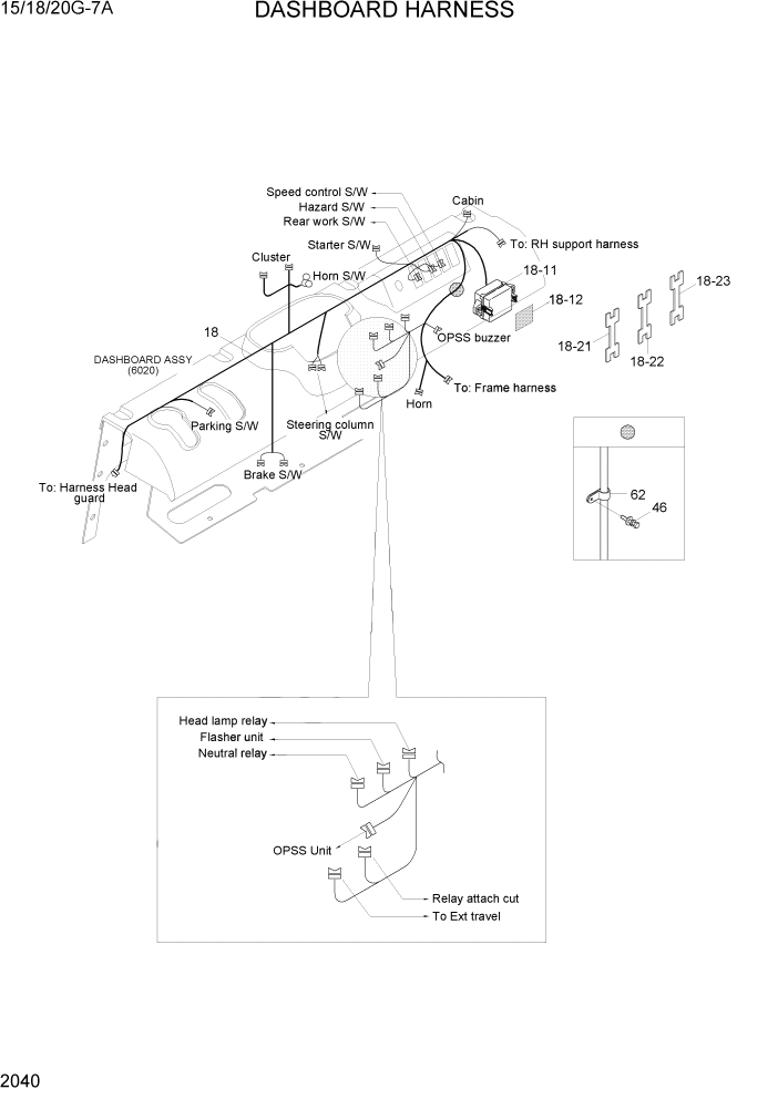
18

21HH-30020

HARNESS-DASHBOAD

1шт.

18-11

21HF-10500

FUSE BOX BODY

1шт.

18-12

21HF-15640

DECAL-FUSE BOX

1шт.

18-21

21HB-79010

FUSE (5A)

6шт.

18-22

21HB-79020

FUSE(10A)

4шт.

18-23

21HB-79030

FUSE(15A)

3шт.

46

S035-061526

BOLT-W/WASHER

9шт.

62

S543-200002

CLAMP-TUBE

1шт.

Выбрано товаров: 8