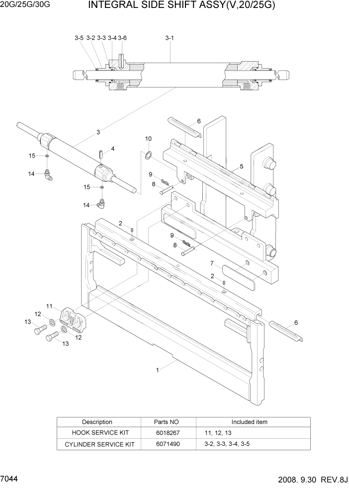
Запчасти Hyundai 20/25/30G-7 PAGE 7044 INTEGRAL SIDE SHIFT ASSY(V,20/25G) РАБОЧЕЕ ОБОРУДОВАНИЕ

Схема запчастей Hyundai 20/25/30G-7 - PAGE 7044 INTEGRAL SIDE SHIFT ASSY(V,20/25G) РАБОЧЕЕ ОБОРУДОВАНИЕ
FIT
1:1
100%

Артикул

Название

Примечание

Количество

*

66FG-00110

INTEGRAL SIDE SHIFT ASSY

SINGLE

1шт.

*

66FG-00120

INTEGRAL SIDE SHIFT ASSY

DOUBLE

1шт.

1

@

OUTER FRAME

NOT

1шт.

*

66HN-00110

INTEGRAL SIDE SHIFT ASSY

SINGLE,20G

1шт.

*

66FG-00110

INTEGRAL SIDE SHIFT ASSY

SINGLE,25G #0058

1шт.

3-1

S-21144

CYLINDER WA

1шт.

K3-2

6016571

THREADED RETAINER

2шт.

K3-3

415866

O-RING

2шт.

K3-4

562131

SEAL-ROD WIPER

2шт.

K3-5

562132

SEAL-ROD

2шт.

3-6

769050

ROLL PIN

1шт.

*

66HN-00110

INTEGRAL SIDE SHIFT ASSY

SINGLE,25G #0059

1шт.

5

@

INNER CARRIAGE

NOT

1шт.

*

66HN-00120

INTEGRAL SIDE SHIFT ASSY

DOUBLE,20G

1шт.

*

66FG-00120

INTEGRAL SIDE SHIFT ASSY

DOUBLE,25G #0058

1шт.

*

66HN-00120

INTEGRAL SIDE SHIFT ASSY

DOUBLE,25G #0059

1шт.

1

@

OUTER FRAME

NOT

1шт.

2

651853

GREASE FITTING

2шт.

3

6020048

CYLINDER

1шт.

3-1

S-21145

CYLINDER WA

1шт.

K3-2

6016571

THREADED RETAINER

2шт.

K3-3

415866

RING-RETAINING

2шт.

K3-4

562131

SEAL-ROD WIPER

2шт.

K3-5

562132

SEAL-ROD

2шт.

3-6

769050

ROLL PIN

1шт.

4

769050

ROLL PIN

1шт.

5

@

INNER CARRIAGE

NOT

1шт.

6

8508374

UPPER BEARING

2шт.

7

8508376

LOWER BEARING

2шт.

8

6016592

CLEVIS PIN

2шт.

9

6022929

COTTER PIN

2шт.

10

6016591

SHIM

3шт.

K11

8508373

LOWER HOOK

2шт.

K12

667225

WASHER

4шт.

K13

684295

CAPSCREW

4шт.

14

666984

FITTING

2шт.

15

221732

FLOW RESTRICTOR

2шт.

K

6018267

HOOK SERVICE KIT

SEE ILLUST

1шт.

K

6071490

CYLINDER SERVICE KIT

SEE ILLUST

1шт.

Выбрано товаров: 39