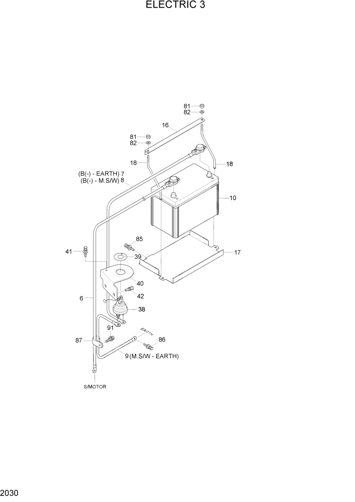
Запчасти Hyundai 20/25/30G-7 PAGE 2030 ELECTRIC 3 ЭЛЕКТРИЧЕСКАЯ СИСТЕМА

Схема запчастей Hyundai 20/25/30G-7 - PAGE 2030 ELECTRIC 3 ЭЛЕКТРИЧЕСКАЯ СИСТЕМА
FIT
1:1
100%

Артикул

Название

Примечание

Количество

6

21HF-10102

CABLE(B(+)-S/MOTOR)

B(+)-S/MOTOR

1шт.

7

21HF-10130

CABLE

B(-)-EARTH

1шт.

8

21HF-10140

CABLE

B(-)-M.S/W

1шт.

9

21HF-10150

CABLE

M.S/W-EARTH

1шт.

10

F11820010

BATTERY

1шт.

16

21HF-11070

BRACKET

1шт.

17

21HF-11041

HOLDER-BATTERY

1шт.

18

21HF-11051

CLAMP BATTERY

2шт.

38

21N4-10441

SWITCH-MASTER

1шт.

39

21N4-10451

DECAL-MASTER SW

1шт.

40

21HF-11021

PLATE

1шт.

41

S035-061526

BOLT W/WASHER-HEX

1шт.

42

S037-102516

BOLT-W/WASHER

2шт.

81

S205-081006

NUT-HEX

2шт.

82

S403-081006

WASHER-PLAIN

2шт.

85

S035-081526

BOLT-W/WASHER,HEX

1шт.

86

S037-102026

BOLT W/WASHER-HEX

1шт.

87

31L6-02460

CLAMP-TUBE

1шт.

91

S037-101556

BOLT-W/WASHER

1шт.

Выбрано товаров: 19