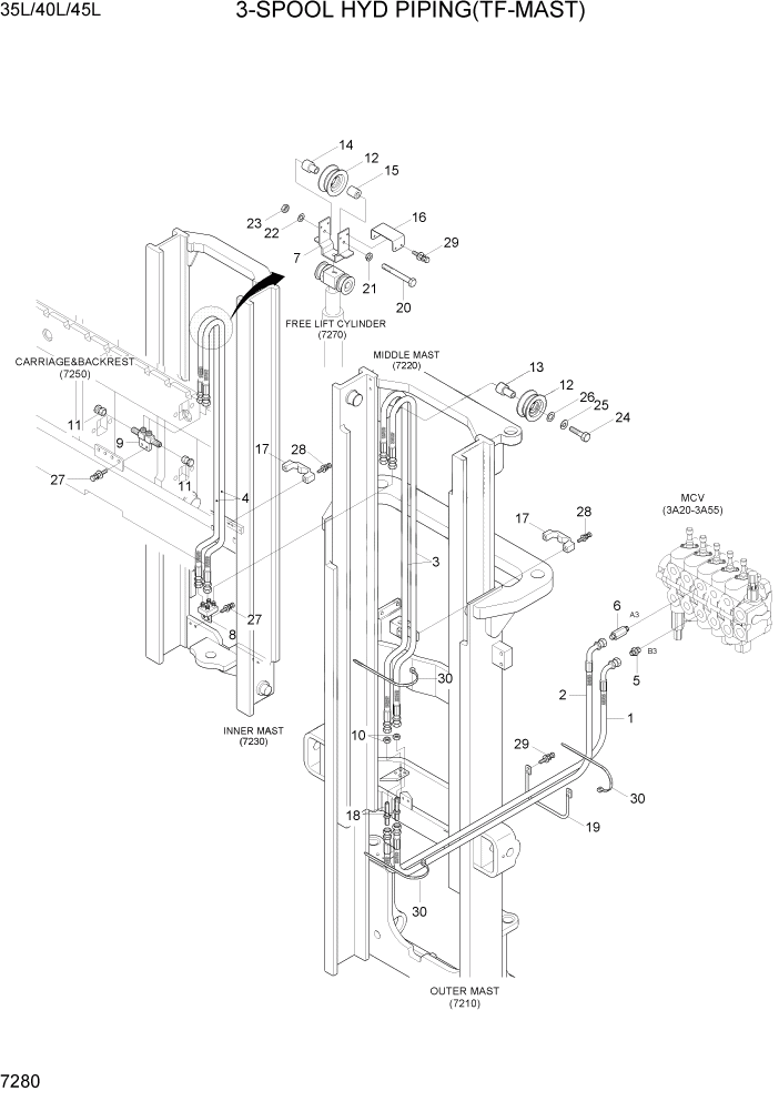
Запчасти Hyundai 35/40/45L PAGE 7280 3-SPOOL HYD PIPING(TF-MAST) РАБОЧЕЕ ОБОРУДОВАНИЕ

Схема запчастей Hyundai 35/40/45L - PAGE 7280 3-SPOOL HYD PIPING(TF-MAST) РАБОЧЕЕ ОБОРУДОВАНИЕ
FIT
1:1
100%

Артикул

Название

Примечание

Количество

1

P933-064027

HOSE ASSY-ORFS 0X90

1шт.

2

P933-064028

HOSE ASSY-ORFS 0X90

1шт.

3

P910-064052

HOSE ASSY-ORFS 0X0

TF370

2шт.

P910-064055

HOSE ASSY-ORFS 0X0

TF400

2шт.

P910-064059

HOSE ASSY-ORFS 0X0

TF430

2шт.

P910-064062

HOSE ASSY-ORFS 0X0

TF450

2шт.

P910-064065

HOSE ASSY-ORFS 0X0

TF470

2шт.

P910-064069

HOSE ASSY-ORFS 0X0

TF500

2шт.

P910-064076

HOSE ASSY-ORFS 0X0

TF550

2шт.

P910-064083

HOSE ASSY-ORFS 0X0

TF600

2шт.

4

P910-064044

HOSE ASSY-ORFS 0X0

TF370

2шт.

P910-064045

HOSE ASSY-ORFS 0X0

TF400

2шт.

P910-064047

HOSE ASSY-ORFS 0X0

TF430

2шт.

P910-064048

HOSE ASSY-ORFS 0X0

TF450

2шт.

P910-064050

HOSE ASSY-ORFS 0X0

TF470

2шт.

P910-064052

HOSE ASSY-ORFS 0X0

TF500

2шт.

P910-064056

HOSE ASSY-ORFS 0X0

TF550

2шт.

P910-064059

HOSE ASSY-ORFS 0X0

TF600

2шт.

5

31FQ-80130

CONNECTOR-ORFS

1шт.

6

31FQ-80141

CONNECTOR-LONG

1шт.

7

33HA-90701

BRACKET WA-PULLEY

1шт.

8

33FV-90030

BRACKET WA-HOSE

1шт.

9

33HD-90351

BRACKET WA-HOSE

1шт.

10

31FG-80430

NUT-HEX

2шт.

11

X710-100103

CAP

2шт.

12

34FG-90201

PULLEY-HOSE

2шт.

13

31FV-90130

PIN-HOSE PULLEY

1шт.

14

34FG-90310

PIN-HOSE PULLEY

1шт.

15

34FG-90330

SPACER

1шт.

16

33HA-90751

COVER

1шт.

17

34FG-90260

CLAMP-HOSE

2шт.

18

31FG-80210

CONNECTOR

2шт.

19

31FV-90220

GUARD WA-HOSE

1шт.

20

S017-101006

BOLT-HEX

1шт.

21

S411-100006

WASHER-SPRING

1шт.

22

S275-10000B

NUT-SELF LOCKING

1шт.

23

S403-10200B

WASHER-PLAIN

1шт.

24

S017-120606

BOLT-HEX

1шт.

25

S411-120006

WASHER-SPRING

1шт.

26

S441-12000B

WASHER-HARDENED

1шт.

27

S037-102526

BOLT-W/WASHER

4шт.

28

S035-063526

BOLT-W/WASHER

4шт.

29

S035-081526

BOLT-W/WASHER

6шт.

30

S552-050203

CLAMP-BAND

6шт.

Выбрано товаров: 44