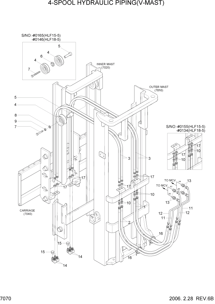
Запчасти Hyundai HLF15/HLF18-5 PAGE 7070 4-SPOOL HYDRAULIC PIPING(V-MAST) РАБОЧЕЕ ОБОРУДОВАНИЕ

Схема запчастей Hyundai HLF15/HLF18-5 - PAGE 7070 4-SPOOL HYDRAULIC PIPING(V-MAST) РАБОЧЕЕ ОБОРУДОВАНИЕ
FIT
1:1
100%

Артикул

Название

Примечание

Количество

1

P913-064016

HOSE ASSY-ORFS 0X0

2шт.

2

P913-064018

HOSE ASSY-ORFS 0X0

2шт.

3

P910-064040

HOSE ASSY-ORFS 0X0

V250

4шт.

3

P910-064044

HOSE ASSY-ORFS 0X0

V270

4шт.

3

P910-064050

HOSE ASSY-ORFS 0X0

V300

4шт.

3

P910-064056

HOSE ASSY-ORFS 0X0

V330

4шт.

3

P910-064060

HOSE ASSY-ORFS 0X0

V350

4шт.

3

P910-064066

HOSE ASSY-ORFS 0X0

V370

4шт.

3

P910-064070

HOSE ASSY-ORFS 0X0

V400

4шт.

3

P910-064084

HOSE ASSY-ORFS 0X0

V450

4шт.

3

P910-064094

HOSE ASSY-ORFS 0X0

V500

4шт.

3

P910-064104

HOSE ASSY-ORFS 0X0

V550

4шт.

4

F42500010

PULLEY-HOSE

HLF15-5 #0165

4шт.

4

34FG-90201

PULLEY-HOSE

HLF15-5 #0166

2шт.

4

F42500010

PULLEY-HOSE

HLF18-5 #0146

4шт.

4

34FG-90201

PULLEY-HOSE

HLF18-5 #0147

2шт.

5

F42500020

PIN

HLF15-5 #0165

2шт.

5

34FG-90310

PIN-HOSE PULLEY

HLF15-5 #0166

2шт.

5

F42500020

PIN

HLF18-5 #0146

2шт.

5

34FG-90310

PIN-HOSE PULLEY

HLF18-5 #0147

2шт.

6

F42500040

COLLAR

HLF15-5 #0165

2шт.

6

F42500040

COLLAR

HLF18-5 #0146

2шт.

7

S017-100752

BOLT-HEX

HLF15-5 #0165

2шт.

7

S017-100602

BOLT-HEX

HLF15-5 #0166

2шт.

7

S017-100752

BOLT-HEX

HLF18-5 #0146

2шт.

7

S017-100602

BOLT-HEX

HLF18-5 #0147

2шт.

8

232110000

WASHER-PLAIN

2шт.

9

S411-100002

WASHER-SPRING

2шт.

10

31FG-80200

CONNECTOR-LONG

HLF15-5 #0155

4шт.

10

31FG-80210

CONNECTOR

HLF15-5 #0156

4шт.

10

31FG-80200

CONNECTOR-LONG

HLF18-5 #0134

4шт.

10

31FG-80210

CONNECTOR

HLF18-5 #0135

4шт.

11

33FJ-80151

PIPE WA-ATTACH

2шт.

12

33FJ-80161

PIPE WA-ATTACH

2шт.

13

31FG-80410

CONNECTOR

HLF15-5 #0037

4шт.

13

31N5-30050

CONNECTOR-ORFS

HLF15-5 #0038

4шт.

13

31FG-80410

CONNECTOR

HLF18-5 #0027

4шт.

13

31N5-30050

CONNECTOR-ORFS

HLF18-5 #0028

4шт.

14

31FS-90500

ELBOW WA

4шт.

15

X710-100103

CAP-ORFS

4шт.

16

S552-050203

CLAMP-BAND

2шт.

17

31FG-80430

NUT-HEX

HLF15-5 #0155

12шт.

17

31FG-80430

NUT-HEX

HLF15-5 #0156

8шт.

17

31FG-80430

NUT-HEX

HLF18-5 #0134

12шт.

17

31FG-80430

NUT-HEX

HLF18-5 #0135

8шт.

Выбрано товаров: 45