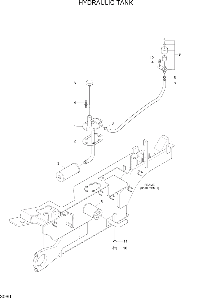
Запчасти Hyundai HLF20/HLF25/HLF30C-5 PAGE 3060 HYDRAULIC TANK ГИДРАВЛИЧЕСКАЯ СИСТЕМА

Схема запчастей Hyundai HLF20/HLF25/HLF30C-5 - PAGE 3060 HYDRAULIC TANK ГИДРАВЛИЧЕСКАЯ СИСТЕМА
FIT
1:1
100%

Артикул

Название

Примечание

Количество

1

31FK-30010

COVER-HYD TANK

1шт.

2

F53640030

PACKING

1шт.

3

F42650010

FILTER-RETURN

1шт.

4

S035-062026

BOLT-W/WASHER HEX

7шт.

5

FHC1007100

STRAINER-SUCTION

1шт.

6

F11663031

CAP-HYD OIL

1шт.

7

8201120980

HOSE-LP

1шт.

8

S520-027000

CLAMP-HOSE

2шт.

9

F23650100

AIR BREATHER

1шт.

10

31FA-30430

PLUG-MAGNETIC

1шт.

11

S631-014001

O-RING

1шт.

12

F23650200

RETURN-FILTER

1шт.

Выбрано товаров: 12