Запчасти Isuzu 040 FUEL INJECTION SYSTEM. 040 FUEL INJECTION SYSTEM.

FIT
1:1
100%

Артикул

Название

Примечание

Количество

1

8970209294

PUMP ASM; INJ

199311 - 199601

1шт.

1

8971385620

PUMP ASM; INJ

199602 -

1шт.

15

8943663280

COUPLING ASM; INJ PUMP

199311 - 199403

1шт.

15

8943663280

COUPLING ASM; INJ PUMP

199404 - 199511

1шт.

15

8943663280

COUPLING ASM; INJ PUMP

199512 - 199601

1шт.

15

8971675580

COUPLING ASM; INJ PUMP

199602 -

1шт.

16

8970176891

PIPE; INJ NO 1

199311 -

1шт.

17

8970176901

PIPE; INJ NO 2

199311 -

1шт.

18

8970176911

PIPE; INJ NO 3

199311 -

1шт.

19

8970176921

PIPE; INJ NO 4

199311 -

1шт.

31

8970133191

NOZZLE ASM; INJ

199311 -

4шт.

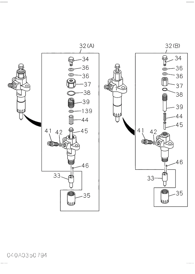
32(B)

8970161471

HOLDER ASM; NOZZLE

199311 -

4шт.

33

5153110200

NOZZLE; INJ

199311 -

4шт.

34

1153390090

BOLT; EYE,NOZZLE HOLDER

199311 -

4шт.

35

1153320170

NUT; NOZZLE RET,NOZZLE HOLDER

199311 -

4шт.

36

1096300820

GASKET; RETURN PIPE,NOZZLE HOLDER

199311 -

8шт.

37

5153320060

NUT; CAP,NOZZLE HOLDER

199311 -

4шт.

38

5153390600

GASKET; CAP NUT,NOZZLE HOLDER

199311 -

4шт.

39

8941695030

SCREW; ADJ,NOZZLE SPRING,NOZZLE HOLDER

199311 -

4шт.

41

8943203080

CONNECTOR; FUEL INL,NOZZLE HOLDER

199311 -

4шт.

42

5153390030

GASKET; INL CONNECTOR,NOZZLE HOLDER

199311 -

4шт.

44

5153430050

SPRING; NOZZLE,NOZZLE HOLDER

199311 -

4шт.

45

8941695020

ROD; PUSH,NOZZLE HOLDER

199311 -

4шт.

46

9153470030

PIN; NOZZLE SET,NOZZLE HOLDER

199311 -

8шт.

54

9153390510

COVER; DUST,NOZZLE HOLDER

199311 -

4шт.

62

911501080

NUT; NOZZLE HOLDER

199311 -

8шт.

63(A)

8970209371

PIPE; FUEL,NOZZLE LEAK OFF

199311 -

1шт.

66

5153150030

GASKET; INJ NOZZLE

199311 -

4шт.

75

9091605100

WASHER; PL,BRKT TO INJ PUMP

199311 -

1шт.

80(B)

8970224520

BRACKET; PUMP

199311 -

1шт.

82

9091505100

WASHER; LK,BRKT TO C/BL

199311 -

1шт.

84

9091105100

NUT; BRKT TO BRKT

199311 -

1шт.

98(A)

9154196130

CLIP; "A",INJ PIPE

199311 -

3шт.

113

5154190131

CLIP; INJ PIPE

199311 -

3шт.

115(B)

9154196140

CLIP; "B",INJ PIPE

199311 -

3шт.

133(A)

8970209350

PIPE; INJ NOZZLE LEAK OFF

199311 -

1шт.

1

8970209294

PUMP ASM; INJ

199311 - 199601

1шт.

1

8971385620

PUMP ASM; INJ

199602 -

1шт.

15

8943663280

COUPLING ASM; INJ PUMP

199311 - 199403

1шт.

15

8943663280

COUPLING ASM; INJ PUMP

199404 - 199511

1шт.

15

8943663280

COUPLING ASM; INJ PUMP

199512 - 199601

1шт.

15

8971675580

COUPLING ASM; INJ PUMP

199602 -

1шт.

16

8970176891

PIPE; INJ NO 1

199311 -

1шт.

17

8970176901

PIPE; INJ NO 2

199311 -

1шт.

18

8970176911

PIPE; INJ NO 3

199311 -

1шт.

19

8970176921

PIPE; INJ NO 4

199311 -

1шт.

31

8970133191

NOZZLE ASM; INJ

199311 -

4шт.

32(B)

8970161471

HOLDER ASM; NOZZLE

199311 -

4шт.

33

5153110200

NOZZLE; INJ

199311 -

4шт.

34

1153390090

BOLT; EYE,NOZZLE HOLDER

199311 -

4шт.

35

1153320170

NUT; NOZZLE RET,NOZZLE HOLDER

199311 -

4шт.

36

1096300820

GASKET; RETURN PIPE,NOZZLE HOLDER

199311 -

8шт.

37

5153320060

NUT; CAP,NOZZLE HOLDER

199311 -

4шт.

38

5153390600

GASKET; CAP NUT,NOZZLE HOLDER

199311 -

4шт.

39

8941695030

SCREW; ADJ,NOZZLE SPRING,NOZZLE HOLDER

199311 -

4шт.

41

8943203080

CONNECTOR; FUEL INL,NOZZLE HOLDER

199311 -

4шт.

42

5153390030

GASKET; INL CONNECTOR,NOZZLE HOLDER

199311 -

4шт.

44

5153430050

SPRING; NOZZLE,NOZZLE HOLDER

199311 -

4шт.

45

8941695020

ROD; PUSH,NOZZLE HOLDER

199311 -

4шт.

46

9153470030

PIN; NOZZLE SET,NOZZLE HOLDER

199311 -

8шт.

54

9153390510

COVER; DUST,NOZZLE HOLDER

199311 -

4шт.

62

911501080

NUT; NOZZLE HOLDER

199311 -

8шт.

63(A)

8970209371

PIPE; FUEL,NOZZLE LEAK OFF

199311 -

1шт.

66

5153150030

GASKET; INJ NOZZLE

199311 -

4шт.

75

9091605100

WASHER; PL,BRKT TO INJ PUMP

199311 -

1шт.

80(B)

8970224520

BRACKET; PUMP

199311 -

1шт.

82

9091505100

WASHER; LK,BRKT TO C/BL

199311 -

1шт.

84

9091105100

NUT; BRKT TO BRKT

199311 -

1шт.

98(A)

9154196130

CLIP; "A",INJ PIPE

199311 -

3шт.

113

5154190131

CLIP; INJ PIPE

199311 -

3шт.

115(B)

9154196140

CLIP; "B",INJ PIPE

199311 -

3шт.

133(A)

8970209350

PIPE; INJ NOZZLE LEAK OFF

199311 -

1шт.

Выбрано товаров: 72