Качественные детали и логистика
Оригинальные и аналоговые запчасти с доставкой по России, Казахстану и Беларуси
©2022 PartSell ООО "Система" ИНН 2463123282 ОГРН 1212400004838
Центральный офис: г. Красноярск, Академика Киренского, д.87, пом.4
Телефон: 8 (800) 777-65-74 Email: zakaz@partsell.ru
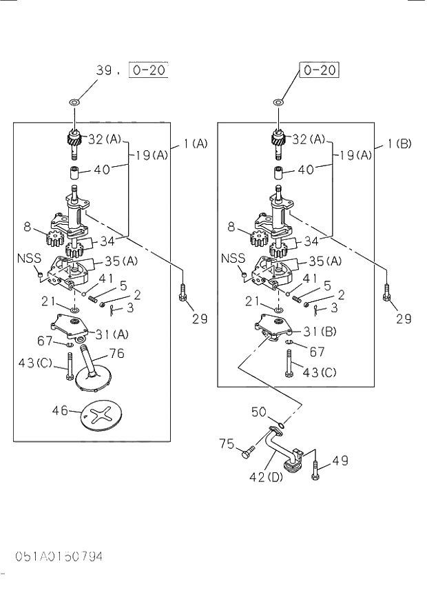
051 OIL PUMP AND OIL STRAINER.
№
Артикул
Название
Примечание
Количество
1(F)
8943775391
PUMP ASM; OIL
199311 -
1шт.
2
5131650040
SEAT; SPR
3
9081040300
PIN; SPLIT
5
5095800980
SPRING; COIL
8
5131250020
GEAR; DRIVEN,OIL PUMP
199311 - 199512
199601 - 199602
199603 -
19(A)
5878102022
GEAR SET; OIL PUMP
199601 -
29
500410250
BOLT; OIL PUMP
199311 - 199912
2шт.
280810250
200001 -
32(A)
1131280180
PINION; OIL PUMP DRIVING
34
5131210140
SHAFT; OIL PUMP
35(A)
5131130351
COVER; OIL PUMP
40
1131230160
COUPLING; PINION TO SHAFT
41
5098430030
BALL; OIL RELIEF VLV
42(C)
8943775721
STRAINER; OIL,OIL PUMP
43(E)
8943445910
BOLT; CASE
199311 - 199902
4шт.
199903 -
56
1096231630
GASKET; RELIEF VALVE
Выбрано товаров: 0