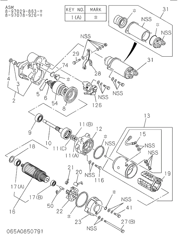
Запчасти Isuzu 065 STARTER 065 STARTER
№
Артикул
Название
Примечание
Количество
001(A)
8970443770
SEAL KIT; STARTER
198911-
1шт.
002
8970443670
CASE; PINION,STARTER
198911-200909
1шт.
002
8981550210
CASE; PINION,STARTER
200910-
1шт.
003
8970436980
METAL; PINION CASE STAR
198911-200909
1шт.
003
8981550260
METAL; PINION CASE STAR
200910-
1шт.
004
8970443680
COVER; PINION CASE STAR
198911-
1шт.
005
8970443740
CLIP; PINION STOPPER ST
198911-
2шт.
006
8970443730
STOPPER; PINION STARTER
198911-
1шт.
008
5811130470
BRACKET; CENTER STARTER
198911-
1шт.
009
8944188490
BEARING; GEAR SHAFT STA
198911-
1шт.
010
8970443720
SHAFT; GEAR STARTER
198911-
1шт.
011(A)
5811291580
WASHER; GEAR SHAFT STAR
198911-
1шт.
011(B)
5811291590
WASHER; GEAR SHAFT STAR
198911-
1шт.
011(C)
5811291600
WASHER; GEAR SHAFT STAR
198911-
1шт.
011(D)
5811291560
WASHER; GEAR SHAFT STAR
198911-
1шт.
012
8970443750
BRACKET; CENTER RR STAR
198911-
1шт.
013
8970668490
YOKE; STARTER
198911-199506
1шт.
013
8971355680
YOKE; STARTER
199507-200909
1шт.
013
8981550430
YOKE; STARTER
200910-
1шт.
015
8970443660
WIRE; LEAD STARTER
198911-
1шт.
016
8970443630
ARMATURE; STARTER
198911-
1шт.
017(A)
5811291550
BEARING; ARMATURE,START
198911-
1шт.
017(B)
1811296090
BEARING; ARMATURE,START
198911-199606
1шт.
017(B)
1811291960
BEARING; ARMATURE,START
199607-
1шт.
019
8970887170
COIL; FIELD,STARTER
198911-199606
1шт.
020
1811160570
BRUSH; (+),STARTER
198911-200909
2шт.
020
8981550160
BRUSH; (+),STARTER
A 200910-201105
2шт.
020
8981971750
BRUSH; (+),STARTER
201106-
2шт.
021
5811170190
SPRING; BRUSH HOLDER ST
198911-
4шт.
022
8970202660
HOLDER; BRUSH STARTER
198911-199606
1шт.
022
8971637630
HOLDER; BRUSH STARTER
199607-200909
1шт.
022
8981551740
HOLDER; BRUSH STARTER
200910-
1шт.
023
8970443760
COVER; RR COVER STARTER
198911-
1шт.
027(B)
8970202690
BOLT; THROUGH,STARTER
198911-
2шт.
028
1811270310
LEVER; SHIFT,STARTER
198911-
1шт.
029
1811291850
PIN; SHIFT LEVER STARTE
198911-
1шт.
031
8970443700
SWITCH; ENGAGE STARTER
198911-
1шт.
041
1811296020
SCREW; RR COVER,STARTER
198911-
2шт.
050
1811160580
BRUSH; (-),STARTER
198911-200909
2шт.
050
8981550170
BRUSH; (-),STARTER
A 200910-201105
2шт.
050
8981971760
BRUSH; (-),STARTER
201106-
2шт.
054
8943374550
CLUTCH; PINION,STARTER
198911-199506
1шт.
054
8971355690
CLUTCH; PINION,STARTER
199507-199606
1шт.
054
8971637560
CLUTCH; PINION,STARTER
199607-199610
1шт.
054
8971698470
CLUTCH; PINION,STARTER
199611-200303
1шт.
054
8981550340
CLUTCH; PINION,STARTER
200304-
1шт.
074
8970443690
GASKET; PINION CASE,STA
198911-
1шт.
116
1811296040
BOLT ; BRKT
198911-
3шт.
126
8970443711
SWITCH; SAFETY
198911-199503
1шт.
126
8971299360
SWITCH; SAFETY
199504-199907
1шт.
126
8972315680
SWITCH; SAFETY
199908-199912
1шт.
126
8972515361
SWITCH; SAFETY
200001-
1шт.
001(A)
8970443770
SEAL KIT; STARTER
198911-
1шт.
002
8970443670
CASE; PINION,STARTER
198911-200909
1шт.
002
8981550210
CASE; PINION,STARTER
200910-
1шт.
003
8970436980
METAL; PINION CASE STAR
198911-200909
1шт.
003
8981550260
METAL; PINION CASE STAR
200910-
1шт.
004
8970443680
COVER; PINION CASE STAR
198911-
1шт.
005
8970443740
CLIP; PINION STOPPER ST
198911-
2шт.
006
8970443730
STOPPER; PINION STARTER
198911-
1шт.
008
5811130470
BRACKET; CENTER STARTER
198911-
1шт.
009
8944188490
BEARING; GEAR SHAFT STA
198911-
1шт.
010
8970443720
SHAFT; GEAR STARTER
198911-
1шт.
011(A)
5811291580
WASHER; GEAR SHAFT STAR
198911-
1шт.
011(B)
5811291590
WASHER; GEAR SHAFT STAR
198911-
1шт.
011(C)
5811291600
WASHER; GEAR SHAFT STAR
198911-
1шт.
011(D)
5811291560
WASHER; GEAR SHAFT STAR
198911-
1шт.
012
8970443750
BRACKET; CENTER RR STAR
198911-
1шт.
013
8970668490
YOKE; STARTER
198911-199506
1шт.
013
8971355680
YOKE; STARTER
199507-200909
1шт.
013
8981550430
YOKE; STARTER
200910-
1шт.
015
8970443660
WIRE; LEAD STARTER
198911-
1шт.
016
8970443630
ARMATURE; STARTER
198911-
1шт.
017(A)
5811291550
BEARING; ARMATURE,START
198911-
1шт.
017(B)
1811296090
BEARING; ARMATURE,START
198911-199606
1шт.
017(B)
1811291960
BEARING; ARMATURE,START
199607-
1шт.
019
8970887170
COIL; FIELD,STARTER
198911-199606
1шт.
020
1811160570
BRUSH; (+),STARTER
198911-200909
2шт.
020
8981550160
BRUSH; (+),STARTER
A 200910-201105
2шт.
020
8981971750
BRUSH; (+),STARTER
201106-
2шт.
021
5811170190
SPRING; BRUSH HOLDER ST
198911-
4шт.
022
8970202660
HOLDER; BRUSH STARTER
198911-199606
1шт.
022
8971637630
HOLDER; BRUSH STARTER
199607-200909
1шт.
022
8981551740
HOLDER; BRUSH STARTER
200910-
1шт.
023
8970443760
COVER; RR COVER STARTER
198911-
1шт.
027(B)
8970202690
BOLT; THROUGH,STARTER
198911-
2шт.
028
1811270310
LEVER; SHIFT,STARTER
198911-
1шт.
029
1811291850
PIN; SHIFT LEVER STARTE
198911-
1шт.
031
8970443700
SWITCH; ENGAGE STARTER
198911-
1шт.
041
1811296020
SCREW; RR COVER,STARTER
198911-
2шт.
050
1811160580
BRUSH; (-),STARTER
198911-200909
2шт.
050
8981550170
BRUSH; (-),STARTER
A 200910-201105
2шт.
050
8981971760
BRUSH; (-),STARTER
201106-
2шт.
054
8943374550
CLUTCH; PINION,STARTER
198911-199506
1шт.
054
8971355690
CLUTCH; PINION,STARTER
199507-199606
1шт.
054
8971637560
CLUTCH; PINION,STARTER
199607-199610
1шт.
054
8971698470
CLUTCH; PINION,STARTER
199611-200303
1шт.
054
8981550340
CLUTCH; PINION,STARTER
200304-
1шт.
074
8970443690
GASKET; PINION CASE,STA
198911-
1шт.
116
1811296040
BOLT ; BRKT
198911-
3шт.
126
8970443711
SWITCH; SAFETY
198911-199503
1шт.
126
8971299360
SWITCH; SAFETY
199504-199907
1шт.
126
8972315680
SWITCH; SAFETY
199908-199912
1шт.
126
8972515361
SWITCH; SAFETY
200001-
1шт.
Выбрано товаров: 0