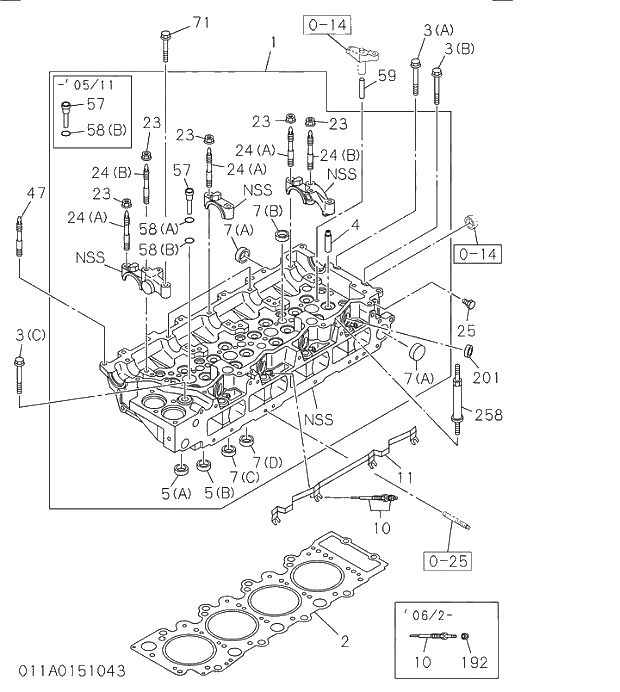
Запчасти Isuzu 011 CYLINDER HEAD. 011 CYLINDER HEAD.

FIT
1:1
100%

Артикул

Название

Примечание

Количество

001

8973830411

HEAD ASM; CYL

C 200508-200511

1шт.

001

8980083638

HEAD ASM; CYL

C 200512-201005

1шт.

001

8981706170

HEAD ASM; CYL

201006-

1шт.

002

8973754330

GASKET; CYL HD

200508-200801

1шт.

002

8973754340

GASKET; CYL HD

200508-200801

1шт.

002

8973754350

GASKET; CYL HD

200508-200801

1шт.

002

8981142560

GASKET; CYL HD

200802-

1шт.

003(A)

8943995540

BOLT; CYL HD TO BLOCK

200508-

1шт.

003(B)

8943995550

BOLT; CYL HD TO BLOCK

200508-

1шт.

003(C)

8970776380

BOLT; CYL HD TO BLOCK

200508-

18шт.

004

8943907800

GUIDE; VLV

200508-200707

16шт.

004

8973767192

GUIDE; VLV

200708-

16шт.

005(A)

8943958881

SEAT; VLV INSERT

200508-

8шт.

005(B)

8972165110

SEAT; VLV INSERT

C 200508-200703

8шт.

005(B)

8980288750

SEAT; VLV INSERT

200704-

8шт.

007(A)

8970968210

CUP; SEALING,CYL HEAD

200508-

5шт.

007(B)

1096000160

CUP; SEALING,CYL HEAD

200508-

4шт.

007(C)

9111291280

CUP; SEALING,CYL HEAD

200508-

7шт.

007(D)

5111290060

CUP; SEALING,CYL HEAD

200508-

5шт.

010

8943907776

PLUG; GLOW

200508-

4шт.

011

8973323582

CONNECTOR; GLOW PLUG

200508-

1шт.

014

8943972860

STUD; EXH MANIF

200508-

2шт.

015

0287810200

BOLT; HANGER,FRT

A 200508-200512

2шт.

015

0287510200

BOLT; HANGER,FRT

200601-

2шт.

023

0911502080

NUT; CAM BRKT

A 200508-200602

10шт.

023

0911802080

NUT; CAM BRKT

200603-

10шт.

024(A)

8943225132

STUD; CM/SHF BRKT

200508-

8шт.

024(B)

8943225122

STUD; CM/SHF BRKT

200508-

2шт.

025

8980034160

PLUG; CYL HD

200508-

1шт.

047

0491408600

STUD; CYL HD

200508-

2шт.

057

8976023011

SLEEVE; NOZZLE HOLDER

200508-200511

4шт.

057

8976066610

SLEEVE; NOZZLE HOLDER

200512-

4шт.

058(A)

8980041870

GASKET; SLEEVE,NOZZLE HOLDER

200512-

4шт.

058(B)

8976049160

GASKET; SLEEVE,NOZZLE HOLDER

200508-

4шт.

059

8973816031

GUIDE; BRIDGE

200508-

8шт.

071

0280508350

BOLT; CAM BRKT

200508-

2шт.

122

8973313601

GASKET; COVER

200508-

1шт.

168

8973102542

HANGER; ENG,FRT

200508-

1шт.

182(A)

0280808120

BOLT; CASE

A 200508-200512

2шт.

182(A)

0280508120

BOLT; CASE

200601-

2шт.

182(B)

0280508450

BOLT; CASE

200508-

3шт.

192

8973688530

NUT; GLOW PLUG

200602-

4шт.

201

1096390340

GASKET; SLEEVE,INJ PUMP

200508-

4шт.

247

8973313621

CASE; CYL HEAD-C/H COVER

200508-

1шт.

248

8943908581

CONNECTOR

200508-

1шт.

249

8943913100

GASKET; CONNECTOR

200508-

1шт.

258

8973667720

ADAPTER; CLIP

200508-

1шт.

001

8973830411

HEAD ASM; CYL

C 200508-200511

1шт.

001

8980083638

HEAD ASM; CYL

C 200512-201005

1шт.

001

8981706170

HEAD ASM; CYL

201006-

1шт.

002

8973754330

GASKET; CYL HD

200508-200801

1шт.

002

8973754340

GASKET; CYL HD

200508-200801

1шт.

002

8973754350

GASKET; CYL HD

200508-200801

1шт.

002

8981142560

GASKET; CYL HD

200802-

1шт.

003(A)

8943995540

BOLT; CYL HD TO BLOCK

200508-

1шт.

003(B)

8943995550

BOLT; CYL HD TO BLOCK

200508-

1шт.

003(C)

8970776380

BOLT; CYL HD TO BLOCK

200508-

18шт.

004

8943907800

GUIDE; VLV

200508-200707

16шт.

004

8973767192

GUIDE; VLV

200708-

16шт.

005(A)

8943958881

SEAT; VLV INSERT

200508-

8шт.

005(B)

8972165110

SEAT; VLV INSERT

C 200508-200703

8шт.

005(B)

8980288750

SEAT; VLV INSERT

200704-

8шт.

007(A)

8970968210

CUP; SEALING,CYL HEAD

200508-

5шт.

007(B)

1096000160

CUP; SEALING,CYL HEAD

200508-

4шт.

007(C)

9111291280

CUP; SEALING,CYL HEAD

200508-

7шт.

007(D)

5111290060

CUP; SEALING,CYL HEAD

200508-

5шт.

010

8943907776

PLUG; GLOW

200508-

4шт.

011

8973323582

CONNECTOR; GLOW PLUG

200508-

1шт.

014

8943972860

STUD; EXH MANIF

200508-

2шт.

015

0287810200

BOLT; HANGER,FRT

A 200508-200512

2шт.

015

0287510200

BOLT; HANGER,FRT

200601-

2шт.

023

0911502080

NUT; CAM BRKT

A 200508-200602

10шт.

023

0911802080

NUT; CAM BRKT

200603-

10шт.

024(A)

8943225132

STUD; CM/SHF BRKT

200508-

8шт.

024(B)

8943225122

STUD; CM/SHF BRKT

200508-

2шт.

025

8980034160

PLUG; CYL HD

200508-

1шт.

047

0491408600

STUD; CYL HD

200508-

2шт.

057

8976023011

SLEEVE; NOZZLE HOLDER

200508-200511

4шт.

057

8976066610

SLEEVE; NOZZLE HOLDER

200512-

4шт.

058(A)

8980041870

GASKET; SLEEVE,NOZZLE HOLDER

200512-

4шт.

058(B)

8976049160

GASKET; SLEEVE,NOZZLE HOLDER

200508-

4шт.

059

8973816031

GUIDE; BRIDGE

200508-

8шт.

071

0280508350

BOLT; CAM BRKT

200508-

2шт.

122

8973313601

GASKET; COVER

200508-

1шт.

168

8973102542

HANGER; ENG,FRT

200508-

1шт.

182(A)

0280808120

BOLT; CASE

A 200508-200512

2шт.

182(A)

0280508120

BOLT; CASE

200601-

2шт.

182(B)

0280508450

BOLT; CASE

200508-

3шт.

192

8973688530

NUT; GLOW PLUG

200602-

4шт.

201

1096390340

GASKET; SLEEVE,INJ PUMP

200508-

4шт.

247

8973313621

CASE; CYL HEAD-C/H COVER

200508-

1шт.

248

8943908581

CONNECTOR

200508-

1шт.

249

8943913100

GASKET; CONNECTOR

200508-

1шт.

258

8973667720

ADAPTER; CLIP

200508-

1шт.

Выбрано товаров: 94