001(A)
8979452612
CASE; TIMING GEAR
200610-
1шт.
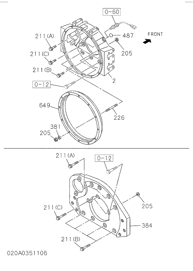
2
8980446990
HOUSING; FLYWHEEL
200610-
1шт.
32
8973122212
GASKET; GEAR CASE TO C/BL
200610-
1шт.
036(A)
280508160
BOLT; GEAR CASE
200610-
1шт.
036(B)
280508200
BOLT; GEAR CASE
200610-
16шт.
036(C)
280508350
BOLT; GEAR CASE
200610-
1шт.
036(D)
280508450
BOLT; GEAR CASE
200610-
2шт.
036(E)
280508600
BOLT; GEAR CASE
200610-
1шт.
036(F)
286508300
BOLT; GEAR CASE
200610-
3шт.
38
8971354230
PIN; GEAR CASE COVER
200610-
2шт.
049(A)
8979452980
GASKET; GEAR CASE TO COVER
200610-
1шт.
050(A)
8973548082
STUD
200610-
5шт.
050(B)
8973614652
STUD
200610-
1шт.
51
8973546971
BOLT; GEAR CASE COVER
200610-
14шт.
054(A)
8980129602
COVER; GEAR CASE
200610-
1шт.
63
8973673362
COVER; P/S
200610-
1шт.
64
8971096790
GASKET; COVER,P/S
200610-
1шт.
79
8973703902
BRACKET; GEAR CASE COVER
200610-
1шт.
080(A)
911802060
NUT; COVER
200610-
2шт.
080(B)
911802080
NUT; COVER
200610-
3шт.
081(A)
410106160
STUD; GEAR CASE COVER FIX
200610-
2шт.
081(B)
491408300
STUD; GEAR CASE COVER FIX
200610-
2шт.
98
911802080
NUT; STUD,INJ PUMP
200610-
2шт.
099(A)
8973694490
STUD; INJ PUMP
200610-
1шт.
099(B)
8973694500
STUD; INJ PUMP
200610-
1шт.
103
8973517040
SEAL; OIL,CR/SHF,FRT
200610-
1шт.
123
8973717201
COVER; TIMING,LWR
200610-
1шт.
124
280506160
BOLT; TIMING COVER
200610-
3шт.
172
8971759863
RETAINER; CR/SHF
A 200610-201012
1шт.
172
8973798260
RETAINER; CR/SHF
201101-
1шт.
175
8970715611
SEAL; OIL,CR/SHF,RR
200610-
1шт.
185
286508250
BOLT; RET TO C/BL
200610-
5шт.
205
911801100
NUT; HSG
200610-
1шт.
211(A)
286510300
BOLT; HSG
200610-
3шт.
211(B)
287512350
BOLT; HSG
200610-
4шт.
211(C)
5090002270
BOLT; HSG
200610-
3шт.
487
8972207400
COVER; HOLE
200610-
1шт.
620
8973288282
GASKET; GEAR CASE
200610-
1шт.
620
8973316312
GASKET; GEAR CASE
200610-
1шт.
620
8973316322
GASKET; GEAR CASE
200610-
1шт.
001(A)
8979452612
CASE; TIMING GEAR
200610-
1шт.
2
8980446990
HOUSING; FLYWHEEL
200610-
1шт.
32
8973122212
GASKET; GEAR CASE TO C/BL
200610-
1шт.
036(A)
280508160
BOLT; GEAR CASE
200610-
1шт.
036(B)
280508200
BOLT; GEAR CASE
200610-
16шт.
036(C)
280508350
BOLT; GEAR CASE
200610-
1шт.
036(D)
280508450
BOLT; GEAR CASE
200610-
2шт.
036(E)
280508600
BOLT; GEAR CASE
200610-
1шт.
036(F)
286508300
BOLT; GEAR CASE
200610-
3шт.
38
8971354230
PIN; GEAR CASE COVER
200610-
2шт.
049(A)
8979452980
GASKET; GEAR CASE TO COVER
200610-
1шт.
050(A)
8973548082
STUD
200610-
5шт.
050(B)
8973614652
STUD
200610-
1шт.
51
8973546971
BOLT; GEAR CASE COVER
200610-
14шт.
054(A)
8980129602
COVER; GEAR CASE
200610-
1шт.
63
8973673362
COVER; P/S
200610-
1шт.
64
8971096790
GASKET; COVER,P/S
200610-
1шт.
79
8973703902
BRACKET; GEAR CASE COVER
200610-
1шт.
080(A)
911802060
NUT; COVER
200610-
2шт.
080(B)
911802080
NUT; COVER
200610-
3шт.
081(A)
410106160
STUD; GEAR CASE COVER FIX
200610-
2шт.
081(B)
491408300
STUD; GEAR CASE COVER FIX
200610-
2шт.
98
911802080
NUT; STUD,INJ PUMP
200610-
2шт.
099(A)
8973694490
STUD; INJ PUMP
200610-
1шт.
099(B)
8973694500
STUD; INJ PUMP
200610-
1шт.
103
8973517040
SEAL; OIL,CR/SHF,FRT
200610-
1шт.
123
8973717201
COVER; TIMING,LWR
200610-
1шт.
124
280506160
BOLT; TIMING COVER
200610-
3шт.
172
8971759863
RETAINER; CR/SHF
A 200610-201012
1шт.
172
8973798260
RETAINER; CR/SHF
201101-
1шт.
175
8970715611
SEAL; OIL,CR/SHF,RR
200610-
1шт.
185
286508250
BOLT; RET TO C/BL
200610-
5шт.
205
911801100
NUT; HSG
200610-
1шт.
211(A)
286510300
BOLT; HSG
200610-
3шт.
211(B)
287512350
BOLT; HSG
200610-
4шт.
211(C)
5090002270
BOLT; HSG
200610-
3шт.
487
8972207400
COVER; HOLE
200610-
1шт.
620
8973288282
GASKET; GEAR CASE
200610-
1шт.
620
8973316312
GASKET; GEAR CASE
200610-
1шт.
620
8973316322
GASKET; GEAR CASE
200610-
1шт.