Запчасти Isuzu 040 FUEL INJECTION SYSTEM. 040 FUEL INJECTION SYSTEM.

FIT
1:1
100%

Артикул

Название

Примечание

Количество

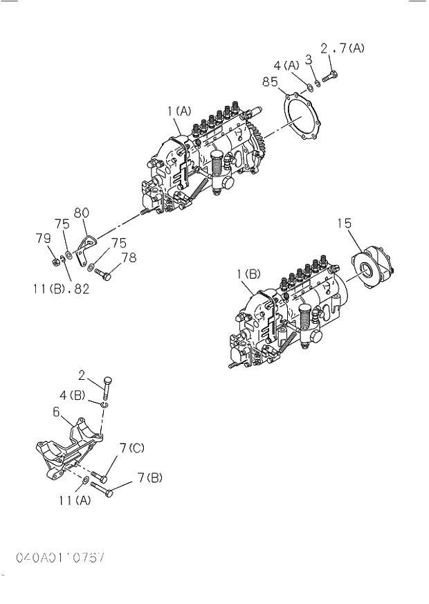
1(A)

1156026582

PUMP ASM; INJ

199211 -

1шт.

3

9091505080

WASHER; LK,INJ PUMP

199211 -

7шт.

4(A)

9091605080

WASHER; INJ PUMP

199211 -

7шт.

7(A)

108108600

BOLT; INJ PUMP BRKT

199211 - 199902

7шт.

7(A)

108058600

BOLT; INJ PUMP BRKT

199903 -

7шт.

11(A)

9091505100

WASHER; INJ PUMP BRKT

199211 -

1шт.

16

1154150100

PIPE; INJ NO.1

199211 -

1шт.

17

1154150110

PIPE; INJ NO.2

199211 -

1шт.

18

1154150120

PIPE; INJ NO.3

199211 -

1шт.

19

1154150130

PIPE; INJ NO.4

199211 -

1шт.

20

1154150140

PIPE; INJ NO 5

199211 -

1шт.

21

1154150150

PIPE; INJ NO 6

199211 -

1шт.

31

8970161461

NOZZLE ASM; INJ

199306 -

6шт.

32(B)

8970161471

HOLDER ASM; NOZZLE

199306 -

6шт.

33

8970161480

NOZZLE; INJ

199211 -

6шт.

34

1153390090

BOLT; EYE,NOZZLE HOLDER

199211 -

6шт.

35

8941711950

NUT; NOZZLE RET,NOZZLE HOLDER

199211 - 199305

6шт.

35

1153320170

NUT; NOZZLE RET,NOZZLE HOLDER

199306 -

6шт.

36

1153390100

GASKET; RETURN PIPE,NOZZLE HOLDER

199211 -

12шт.

37

5153320060

NUT; CAP,NOZZLE HOLDER

199211 -

6шт.

38(B)

5153390600

GASKET; CAP NUT,NOZZLE HOLDER

199211 -

6шт.

39(B)

8941695030

SCREW; ADJ,NOZZLE SPRING,NOZZLE HOLDER

199211 - 199305

6шт.

39(B)

8941695030

SCREW; ADJ,NOZZLE SPRING,NOZZLE HOLDER

199306 -

6шт.

41

8943203080

CONNECTOR; FUEL INL,NOZZLE HOLDER

199211 -

6шт.

44(B)

5153430050

SPRING; NOZZLE,NOZZLE HOLDER

199211 -

6шт.

45(B)

8941695020

ROD; PUSH,NOZZLE HOLDER

199211 - 199305

6шт.

45(B)

8941695020

ROD; PUSH,NOZZLE HOLDER

199306 -

6шт.

46

9153470030

PIN; NOZZLE SET,NOZZLE HOLDER

199211 -

12шт.

54

9153390510

COVER; DUST,NOZZLE HOLDER

199211 -

6шт.

60

9091505080

WASHER; NOZZLE HOLDER

199211 -

12шт.

62

9091104080

NUT; NOZZLE HOLDER

199211 -

12шт.

66

5153150030

GASKET; INJ NOZZLE

199211 -

6шт.

75

9091607100

WASHER; PL,BRKT TO INJ PUMP

199211 -

2шт.

75

9091607100

WASHER; PL,BRKT TO INJ PUMP

199211 -

1шт.

78

500410200

BOLT; BRKT TO C/BL

199211 -

2шт.

79

9091104100

NUT; BRKT TO INJ PUMP

199211 -

1шт.

80

5197510042

BRACKET; PUMP

199211 -

1шт.

82

9091505100

WASHER; LK,BRKT TO C/BL

199211 -

2шт.

85

1113190090

GASKET; BRKT,INJ PUMP

C 199211 - 199510

1шт.

85

8943706750

GASKET; BRKT,INJ PUMP

199511 -

1шт.

114(A)

9154196120

CLIP; INJ PIPE

199211 -

6шт.

133(A)

1154124711

PIPE; INJ NOZZLE LEAK OFF

199211 -

1шт.

134

1096750371

BOLT; JOINT,LEAK OFF PIPE

199211 -

1шт.

135

9095714080

GASKET; JOINT BOLT,LEAK OFF PIPE

A 199211 - 199305

2шт.

135

1096300820

GASKET; JOINT BOLT,LEAK OFF PIPE

199306 -

2шт.

1(A)

1156026582

PUMP ASM; INJ

199211 -

1шт.

3

9091505080

WASHER; LK,INJ PUMP

199211 -

7шт.

4(A)

9091605080

WASHER; INJ PUMP

199211 -

7шт.

7(A)

108108600

BOLT; INJ PUMP BRKT

199211 - 199902

7шт.

7(A)

108058600

BOLT; INJ PUMP BRKT

199903 -

7шт.

11(A)

9091505100

WASHER; INJ PUMP BRKT

199211 -

1шт.

16

1154150100

PIPE; INJ NO.1

199211 -

1шт.

17

1154150110

PIPE; INJ NO.2

199211 -

1шт.

18

1154150120

PIPE; INJ NO.3

199211 -

1шт.

19

1154150130

PIPE; INJ NO.4

199211 -

1шт.

20

1154150140

PIPE; INJ NO 5

199211 -

1шт.

21

1154150150

PIPE; INJ NO 6

199211 -

1шт.

31

8970161461

NOZZLE ASM; INJ

199306 -

6шт.

32(B)

8970161471

HOLDER ASM; NOZZLE

199306 -

6шт.

33

8970161480

NOZZLE; INJ

199211 -

6шт.

34

1153390090

BOLT; EYE,NOZZLE HOLDER

199211 -

6шт.

35

8941711950

NUT; NOZZLE RET,NOZZLE HOLDER

199211 - 199305

6шт.

35

1153320170

NUT; NOZZLE RET,NOZZLE HOLDER

199306 -

6шт.

36

1153390100

GASKET; RETURN PIPE,NOZZLE HOLDER

199211 -

12шт.

37

5153320060

NUT; CAP,NOZZLE HOLDER

199211 -

6шт.

38(B)

5153390600

GASKET; CAP NUT,NOZZLE HOLDER

199211 -

6шт.

39(B)

8941695030

SCREW; ADJ,NOZZLE SPRING,NOZZLE HOLDER

199211 - 199305

6шт.

39(B)

8941695030

SCREW; ADJ,NOZZLE SPRING,NOZZLE HOLDER

199306 -

6шт.

41

8943203080

CONNECTOR; FUEL INL,NOZZLE HOLDER

199211 -

6шт.

44(B)

5153430050

SPRING; NOZZLE,NOZZLE HOLDER

199211 -

6шт.

45(B)

8941695020

ROD; PUSH,NOZZLE HOLDER

199211 - 199305

6шт.

45(B)

8941695020

ROD; PUSH,NOZZLE HOLDER

199306 -

6шт.

46

9153470030

PIN; NOZZLE SET,NOZZLE HOLDER

199211 -

12шт.

54

9153390510

COVER; DUST,NOZZLE HOLDER

199211 -

6шт.

60

9091505080

WASHER; NOZZLE HOLDER

199211 -

12шт.

62

9091104080

NUT; NOZZLE HOLDER

199211 -

12шт.

66

5153150030

GASKET; INJ NOZZLE

199211 -

6шт.

75

9091607100

WASHER; PL,BRKT TO INJ PUMP

199211 -

2шт.

75

9091607100

WASHER; PL,BRKT TO INJ PUMP

199211 -

1шт.

78

500410200

BOLT; BRKT TO C/BL

199211 -

2шт.

79

9091104100

NUT; BRKT TO INJ PUMP

199211 -

1шт.

80

5197510042

BRACKET; PUMP

199211 -

1шт.

82

9091505100

WASHER; LK,BRKT TO C/BL

199211 -

2шт.

85

1113190090

GASKET; BRKT,INJ PUMP

C 199211 - 199510

1шт.

85

8943706750

GASKET; BRKT,INJ PUMP

199511 -

1шт.

114(A)

9154196120

CLIP; INJ PIPE

199211 -

6шт.

133(A)

1154124711

PIPE; INJ NOZZLE LEAK OFF

199211 -

1шт.

134

1096750371

BOLT; JOINT,LEAK OFF PIPE

199211 -

1шт.

135

9095714080

GASKET; JOINT BOLT,LEAK OFF PIPE

A 199211 - 199305

2шт.

135

1096300820

GASKET; JOINT BOLT,LEAK OFF PIPE

199306 -

2шт.

Выбрано товаров: 90