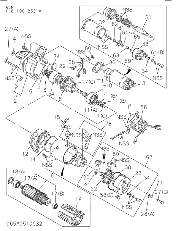
Запчасти Isuzu 065 STARTER 065 STARTER

FIT
1:1
100%

Артикул

Название

Примечание

Количество

001(C)

1811294380

SEAL KIT; STARTER

198508-

1шт.

002

1811230250

CASE; PINION,STARTER

198508-200909

1шт.

002

8981550190

CASE; PINION,STARTER

200910-

1шт.

003

1811293970

METAL; PINION CASE STARTER

198508-200909

1шт.

003

8981550240

METAL; PINION CASE STARTER

200910-

1шт.

004

5811291420

COVER; PINION CASE STARTER

198508-

1шт.

005

5811291440

CLIP; PINION STOPPER STARTER

198508-

2шт.

006

5811291450

STOPPER; PINION STARTER

198508-

1шт.

008

1811130810

BRACKET; CENTER STARTER

198508-

1шт.

009

1811293860

BEARING; GEAR SHAFT STARTER

198508-

1шт.

010

1811230240

SHAFT; GEAR STARTER

198508-

1шт.

011(A)

5811291600

WASHER; GEAR SHAFT STARTER

198508-

1шт.

011(B)

5811291590

WASHER; GEAR SHAFT STARTER

198508-

2шт.

011(C)

5811291580

WASHER; GEAR SHAFT STARTER

198508-

1шт.

012

1811130820

BRACKET; CENTER RR STARTER

198508-

1шт.

014

1811293890

GASKET; YOKE,STARTER

199503-

1шт.

015

1811160440

WIRE; LEAD STARTER

198508-

1шт.

016

1811210370

ARMATURE; STARTER

198508-

1шт.

017(A)

1811293950

BEARING; ARMATURE,STARTER

198508-199503

1шт.

017(A)

5811291550

BEARING; ARMATURE,STARTER

199504-

1шт.

017(B)

1811293850

BEARING; ARMATURE,STARTER

198508-199503

1шт.

017(B)

1811291960

BEARING; ARMATURE,STARTER

199504-

1шт.

018(A)

5811291560

WASHER; THRUST,ARMATURE,STARTER

198508-

2шт.

019

1811293960

COIL; FIELD,STARTER

198508-

1шт.

020

1811160420

BRUSH; (+),STARTER

198508-200909

2шт.

020

8981550160

BRUSH; (+),STARTER

A 200910-201105

2шт.

020

8981971750

BRUSH; (+),STARTER

201106-

2шт.

021

1811170140

SPRING; BRUSH HOLDER STARTER

198508-

4шт.

022

1811180360

HOLDER; BRUSH STARTER

198508-200909

1шт.

022

8981550080

HOLDER; BRUSH STARTER

200910-

1шт.

023

1811150700

COVER; RR COVER STARTER

198508-

1шт.

024

1811293910

SEAL; HOLDER STARTER

198508-

4шт.

026(A)

1811293930

SEAL; THROUGH BOLT STARTER

198508-

2шт.

027(A)

1811293870

BOLT; THROUGH,STARTER

198508-

3шт.

027(B)

5811292140

BOLT; THROUGH,STARTER

198508-

2шт.

028

1811270310

LEVER; SHIFT,STARTER

198508-

1шт.

029

1811291850

PIN; SHIFT LEVER STARTER

198508-

1шт.

030

5811291470

PLATE; ENGAGE SW STARTER

198508-

1шт.

031

5811510360

SWITCH; ENGAGE STARTER

198508-

1шт.

032

1811293880

COVER; RUBBER,STARTER

199503-

1шт.

033

1811293900

GASKET; ENGAGE SW STARTER

198508-

1шт.

038

1811293920

GASKET; RR COVER,STARTER

198508-

1шт.

050

1811160430

BRUSH; (-),STARTER

198508-200909

2шт.

050

8981550170

BRUSH; (-),STARTER

A 200910-201105

2шт.

050

8981971760

BRUSH; (-),STARTER

201106-

2шт.

054

5811220160

CLUTCH; PINION,STARTER

198508-200909

1шт.

054

8981550280

CLUTCH; PINION,STARTER

200910-

1шт.

057

1811150690

COVER ASM; RR,STARTER

198508-

1шт.

058(C)

1811294390

PIPE; DRAIN RR COVER STARTER

198910-

1шт.

059

5811291500

TERMINAL; ENGAGE SW STARTER

198508-

1шт.

060

5811291460

PLUNGER; ENGAGE SW STARTER

198508-

1шт.

061

5811291480

CONTACT; ENGAGE SW STARTER

198508-

1шт.

062

9821161400

BUSHING; ENGAGE SW STARTER

198508-

1шт.

063

5811180190

HOLDER; ENGAGE SW STARTER

198508-

1шт.

064(A)

9821161420

WASHER; INSULATION ENGAGE SW STARTER

198508-

1шт.

064(B)

5811291510

WASHER; INSULATION ENGAGE SW STARTER

198508-

2шт.

065

5811291490

RING; CLIP ENGAGE SW STARTER

198508-

2шт.

074

1811292990

GASKET; PINION CASE,STARTER

199504-

1шт.

077

1812291140

WASHER; THROUGH BOLT,STARTER

198508-

2шт.

078

1811293840

TERMINAL; LEAD WIRE STARTER

198508-

1шт.

080

1811291840

NUT; SHIFT LEVER PIN STARTER

198508-

1шт.

001(C)

1811294380

SEAL KIT; STARTER

198508-

1шт.

002

1811230250

CASE; PINION,STARTER

198508-200909

1шт.

002

8981550190

CASE; PINION,STARTER

200910-

1шт.

003

1811293970

METAL; PINION CASE STARTER

198508-200909

1шт.

003

8981550240

METAL; PINION CASE STARTER

200910-

1шт.

004

5811291420

COVER; PINION CASE STARTER

198508-

1шт.

005

5811291440

CLIP; PINION STOPPER STARTER

198508-

2шт.

006

5811291450

STOPPER; PINION STARTER

198508-

1шт.

008

1811130810

BRACKET; CENTER STARTER

198508-

1шт.

009

1811293860

BEARING; GEAR SHAFT STARTER

198508-

1шт.

010

1811230240

SHAFT; GEAR STARTER

198508-

1шт.

011(A)

5811291600

WASHER; GEAR SHAFT STARTER

198508-

1шт.

011(B)

5811291590

WASHER; GEAR SHAFT STARTER

198508-

2шт.

011(C)

5811291580

WASHER; GEAR SHAFT STARTER

198508-

1шт.

012

1811130820

BRACKET; CENTER RR STARTER

198508-

1шт.

014

1811293890

GASKET; YOKE,STARTER

199503-

1шт.

015

1811160440

WIRE; LEAD STARTER

198508-

1шт.

016

1811210370

ARMATURE; STARTER

198508-

1шт.

017(A)

1811293950

BEARING; ARMATURE,STARTER

198508-199503

1шт.

017(A)

5811291550

BEARING; ARMATURE,STARTER

199504-

1шт.

017(B)

1811293850

BEARING; ARMATURE,STARTER

198508-199503

1шт.

017(B)

1811291960

BEARING; ARMATURE,STARTER

199504-

1шт.

018(A)

5811291560

WASHER; THRUST,ARMATURE,STARTER

198508-

2шт.

019

1811293960

COIL; FIELD,STARTER

198508-

1шт.

020

1811160420

BRUSH; (+),STARTER

198508-200909

2шт.

020

8981550160

BRUSH; (+),STARTER

A 200910-201105

2шт.

020

8981971750

BRUSH; (+),STARTER

201106-

2шт.

021

1811170140

SPRING; BRUSH HOLDER STARTER

198508-

4шт.

022

1811180360

HOLDER; BRUSH STARTER

198508-200909

1шт.

022

8981550080

HOLDER; BRUSH STARTER

200910-

1шт.

023

1811150700

COVER; RR COVER STARTER

198508-

1шт.

024

1811293910

SEAL; HOLDER STARTER

198508-

4шт.

026(A)

1811293930

SEAL; THROUGH BOLT STARTER

198508-

2шт.

027(A)

1811293870

BOLT; THROUGH,STARTER

198508-

3шт.

027(B)

5811292140

BOLT; THROUGH,STARTER

198508-

2шт.

028

1811270310

LEVER; SHIFT,STARTER

198508-

1шт.

029

1811291850

PIN; SHIFT LEVER STARTER

198508-

1шт.

030

5811291470

PLATE; ENGAGE SW STARTER

198508-

1шт.

031

5811510360

SWITCH; ENGAGE STARTER

198508-

1шт.

032

1811293880

COVER; RUBBER,STARTER

199503-

1шт.

033

1811293900

GASKET; ENGAGE SW STARTER

198508-

1шт.

038

1811293920

GASKET; RR COVER,STARTER

198508-

1шт.

050

1811160430

BRUSH; (-),STARTER

198508-200909

2шт.

050

8981550170

BRUSH; (-),STARTER

A 200910-201105

2шт.

050

8981971760

BRUSH; (-),STARTER

201106-

2шт.

054

5811220160

CLUTCH; PINION,STARTER

198508-200909

1шт.

054

8981550280

CLUTCH; PINION,STARTER

200910-

1шт.

057

1811150690

COVER ASM; RR,STARTER

198508-

1шт.

058(C)

1811294390

PIPE; DRAIN RR COVER STARTER

198910-

1шт.

059

5811291500

TERMINAL; ENGAGE SW STARTER

198508-

1шт.

060

5811291460

PLUNGER; ENGAGE SW STARTER

198508-

1шт.

061

5811291480

CONTACT; ENGAGE SW STARTER

198508-

1шт.

062

9821161400

BUSHING; ENGAGE SW STARTER

198508-

1шт.

063

5811180190

HOLDER; ENGAGE SW STARTER

198508-

1шт.

064(A)

9821161420

WASHER; INSULATION ENGAGE SW STARTER

198508-

1шт.

064(B)

5811291510

WASHER; INSULATION ENGAGE SW STARTER

198508-

2шт.

065

5811291490

RING; CLIP ENGAGE SW STARTER

198508-

2шт.

074

1811292990

GASKET; PINION CASE,STARTER

199504-

1шт.

077

1812291140

WASHER; THROUGH BOLT,STARTER

198508-

2шт.

078

1811293840

TERMINAL; LEAD WIRE STARTER

198508-

1шт.

080

1811291840

NUT; SHIFT LEVER PIN STARTER

198508-

1шт.

Выбрано товаров: 0