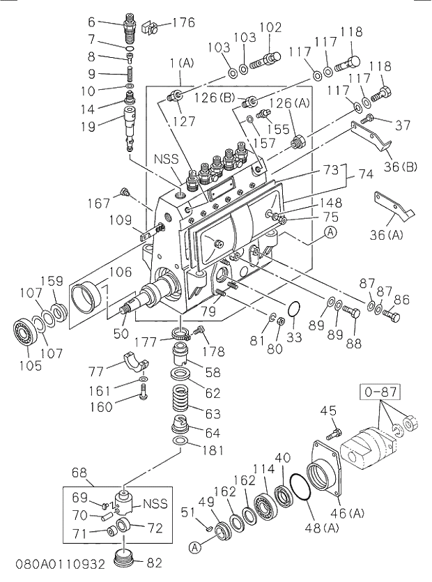
Запчасти Isuzu 080 INJECTION PUMP. 080 INJECTION PUMP.

FIT
1:1
100%

Артикул

Название

Примечание

Количество

001(B)

1156111840

HOUSING; PUMP,FUEL INJ

198508-

1шт.

6

1156440090

HOLDER; DELIVERY VLV,INJ PUMP

198508-

6шт.

7

9812350460

GASKET; HOLDER,DELIVERY VLV

198508-

6шт.

8

1156490050

STOPPER; DELIVERY VLV,INJ PUMP

198508-

6шт.

9

1156340110

SPRING; DELIVERY VLV

198508-

6шт.

10

1156191030

GASKET; DELIVERY VLV,INJ PUMP

198508-

6шт.

14

1156410310

VALVE; DELIVERY,INJ PUMP

198508-

6шт.

19

1156320580

PLUNGER ASM; INJ PUMP

199907-

6шт.

33

1096230130

GASKET; FUEL FEED PUMP,INJ PUMP

198508-

1шт.

045(B)

1156192820

BOLT; FRT COVER TO HSG

200005-

4шт.

046(B)

1156290470

COVER; FRT,PUMP HSG

198508-

1шт.

47

8970833370

SHIM; FRT COVER,INJ PUMP HSG

198508-

1шт.

048(A)

8970269180

GASKET; FRT COVER TO HSG

199907-

1шт.

49

1156290040

RING; FRT BRG,CM/SHF

198508-200308

1шт.

49

5156290241

RING; FRT BRG,CM/SHF

200309-200310

1шт.

49

5156290241

RING; FRT BRG,CM/SHF

200311-

1шт.

50

1156211280

CAMSHAFT; INJ PUMP

199907-

1шт.

51

5835390240

KEY; DRIVE GEAR,INJ PUMP

198508-

1шт.

58

9812315230

SLEEVE; CONT,INJ PUMP

198508-

6шт.

62

1156390220

SEAT; PLUNGER SPRING,INJ PUMP

198508-

6шт.

63

1156340070

SPRING; PLUNGER,INJ PUMP

198508-

6шт.

64

1156390230

SEAT; PLUNGER SPRING LWR,INJ PUMP

198508-

6шт.

68

1156220060

TAPPET; CM/SHF,INJ PUMP

198508-

6шт.

69

1156290180

GUIDE; TAPPET,INJ PUMP

198508-

6шт.

70

9812151850

PIN; TAPPET ROLLER,INJ PUMP

198508-

6шт.

71

1156191620

BUSHING; TAPPET ROLLER,INJ PUMP

198508-

6шт.

72

1156290100

ROLLER; TAPPET,INJ PUMP

198508-

6шт.

73

1157299600

GASKET; COVER TO HSG

198508-

1шт.

74

1156120500

COVER; HSG,INJ PUMP

198508-

1шт.

75

1156190030

SCREW; COVER TO HSG

198508-

2шт.

77

1156192370

BEARING; CM/SHF CENTER,INJ PUMP

198508-

1шт.

79

9812151150

STUD; FUEL FEED PUMP TO HSG

198508-

3шт.

80

8941711100

NUT; FUEL FEED PUMP FIX

198508-

3шт.

082(A)

1156191600

PLUG; HSG,INJ PUMP

198508-

6шт.

88

1156190920

BOLT; EYE,OIL FEED,INJ PUMP

198508-

1шт.

89

1157190930

GASKET; OIL FEED BOLT,INJ PUMP

198508-

2шт.

105

5098000380

BEARING; CM/SHF RR,INJ PUMP

198508-

1шт.

105

9000906770

BEARING; CM/SHF RR,INJ PUMP

198508-

1шт.

106

1156290150

RING; HSG,INJ PUMP

198508-

1шт.

107

AR

SHIM; RR BEARING,CM/SHF

198508-

107

AR

SHIM; RR BEARING,CM/SHF

198508-

107

AR

SHIM; RR BEARING,CM/SHF

198508-

107

AR

SHIM; RR BEARING,CM/SHF

198508-

107

AR

SHIM; RR BEARING,CM/SHF

198508-

107

AR

SHIM; RR BEARING,CM/SHF

198508-

107

AR

SHIM; RR BEARING,CM/SHF

198508-

107

AR

SHIM; RR BEARING,CM/SHF

198508-

107

AR

SHIM; RR BEARING,CM/SHF

198508-

107

AR

SHIM; RR BEARING,CM/SHF

198508-

107

AR

SHIM; RR BEARING,CM/SHF

198508-

109

5156370030

RACK; CONT,INJ PUMP

198508-

1шт.

114

1156290020

BEARING; CM/SHF FRT,INJ PUMP

198508-

1шт.

114

1156290030

BEARING; CM/SHF FRT,INJ PUMP

198508-

1шт.

126(A)

9812350170

ADAPTER; EYE BOLT,PUMP HSG

198508-

1шт.

127

1156191900

ADAPTER; FUEL PIPE

198508-

1шт.

148

9812151440

GASKET; COVER FIX BOLT

198508-

2шт.

155

1156191910

BOLT; AIR BLEED,INJ PUMP

198508-

1шт.

159

9812250590

RING; RR BEARING,CM/SHF,INJ PUMP

198508-

1шт.

160

1156290170

SCREW; CENTER BRG,INJ PUMP

198508-

2шт.

161

9812250430

GASKET; SCREW,CENTER BRG

198508-

2шт.

162

AR

SHIM; FRT BRG,CM/SHF

198508-200308

162

AR

SHIM; FRT BRG,CM/SHF

198508-200308

162

AR

SHIM; FRT BRG,CM/SHF

198508-200308

162

AR

SHIM; FRT BRG,CM/SHF

198508-200308

162

AR

SHIM; FRT BRG,CM/SHF

198508-200308

162

AR

SHIM; FRT BRG,CM/SHF

198508-200308

162

AR

SHIM; FRT BRG,CM/SHF

198508-200308

162

AR

SHIM; FRT BRG,CM/SHF

198508-200308

162

AR

SHIM; FRT BRG,CM/SHF

198508-200308

162

AR

SHIM; FRT BRG,CM/SHF

200309-200310

162

AR

SHIM; FRT BRG,CM/SHF

200309-200310

162

AR

SHIM; FRT BRG,CM/SHF

200309-200310

162

AR

SHIM; FRT BRG,CM/SHF

200309-200310

162

AR

SHIM; FRT BRG,CM/SHF

200309-200310

162

AR

SHIM; FRT BRG,CM/SHF

200309-200310

162

AR

SHIM; FRT BRG,CM/SHF

200309-200310

162

AR

SHIM; FRT BRG,CM/SHF

200309-200310

162

AR

SHIM; FRT BRG,CM/SHF

200311-

162

AR

SHIM; FRT BRG,CM/SHF

200311-

162

AR

SHIM; FRT BRG,CM/SHF

200311-

162

AR

SHIM; FRT BRG,CM/SHF

200311-

162

AR

SHIM; FRT BRG,CM/SHF

200311-

162

AR

SHIM; FRT BRG,CM/SHF

200311-

162

AR

SHIM; FRT BRG,CM/SHF

200311-

162

AR

SHIM; FRT BRG,CM/SHF

200311-

167

1156390030

BOLT; CONT RACK,INJ PUMP

198508-

1шт.

176

5156250010

PLATE; LK,DELIVERY VLV HOLDER

198508-

3шт.

177

9812250570

PINION; CONT SLEEVE,INJ PUMP

198508-

6шт.

178

9812350030

SCREW; PINION,INJ PUMP

198508-

6шт.

181

AR

SHIM; TAPPET,INJ PUMP

198508-

181

AR

SHIM; TAPPET,INJ PUMP

198508-

181

AR

SHIM; TAPPET,INJ PUMP

198508-

181

AR

SHIM; TAPPET,INJ PUMP

198508-

181

AR

SHIM; TAPPET,INJ PUMP

198508-

181

AR

SHIM; TAPPET,INJ PUMP

198508-

181

AR

SHIM; TAPPET,INJ PUMP

198508-

181

AR

SHIM; TAPPET,INJ PUMP

198508-

181

AR

SHIM; TAPPET,INJ PUMP

198508-

181

AR

SHIM; TAPPET,INJ PUMP

198508-

181

AR

SHIM; TAPPET,INJ PUMP

198508-

181

AR

SHIM; TAPPET,INJ PUMP

198508-

181

AR

SHIM; TAPPET,INJ PUMP

198508-

181

AR

SHIM; TAPPET,INJ PUMP

198508-

181

AR

SHIM; TAPPET,INJ PUMP

198508-

181

AR

SHIM; TAPPET,INJ PUMP

198508-

181

AR

SHIM; TAPPET,INJ PUMP

198508-

181

AR

SHIM; TAPPET,INJ PUMP

198508-

181

AR

SHIM; TAPPET,INJ PUMP

198508-

181

AR

SHIM; TAPPET,INJ PUMP

198508-

181

AR

SHIM; TAPPET,INJ PUMP

198508-

181

AR

SHIM; TAPPET,INJ PUMP

198508-

181

AR

SHIM; TAPPET,INJ PUMP

198508-

181

AR

SHIM; TAPPET,INJ PUMP

198508-

181

AR

SHIM; TAPPET,INJ PUMP

198508-

181

AR

SHIM; TAPPET,INJ PUMP

198508-

181

AR

SHIM; TAPPET,INJ PUMP

198508-

181

AR

SHIM; TAPPET,INJ PUMP

198508-

181

AR

SHIM; TAPPET,INJ PUMP

198508-

001(B)

1156111840

HOUSING; PUMP,FUEL INJ

198508-

1шт.

6

1156440090

HOLDER; DELIVERY VLV,INJ PUMP

198508-

6шт.

7

9812350460

GASKET; HOLDER,DELIVERY VLV

198508-

6шт.

8

1156490050

STOPPER; DELIVERY VLV,INJ PUMP

198508-

6шт.

9

1156340110

SPRING; DELIVERY VLV

198508-

6шт.

10

1156191030

GASKET; DELIVERY VLV,INJ PUMP

198508-

6шт.

14

1156410310

VALVE; DELIVERY,INJ PUMP

198508-

6шт.

19

1156320580

PLUNGER ASM; INJ PUMP

199907-

6шт.

33

1096230130

GASKET; FUEL FEED PUMP,INJ PUMP

198508-

1шт.

045(B)

1156192820

BOLT; FRT COVER TO HSG

200005-

4шт.

046(B)

1156290470

COVER; FRT,PUMP HSG

198508-

1шт.

47

8970833370

SHIM; FRT COVER,INJ PUMP HSG

198508-

1шт.

048(A)

8970269180

GASKET; FRT COVER TO HSG

199907-

1шт.

49

1156290040

RING; FRT BRG,CM/SHF

198508-200308

1шт.

49

5156290241

RING; FRT BRG,CM/SHF

200309-200310

1шт.

49

5156290241

RING; FRT BRG,CM/SHF

200311-

1шт.

50

1156211280

CAMSHAFT; INJ PUMP

199907-

1шт.

51

5835390240

KEY; DRIVE GEAR,INJ PUMP

198508-

1шт.

58

9812315230

SLEEVE; CONT,INJ PUMP

198508-

6шт.

62

1156390220

SEAT; PLUNGER SPRING,INJ PUMP

198508-

6шт.

63

1156340070

SPRING; PLUNGER,INJ PUMP

198508-

6шт.

64

1156390230

SEAT; PLUNGER SPRING LWR,INJ PUMP

198508-

6шт.

68

1156220060

TAPPET; CM/SHF,INJ PUMP

198508-

6шт.

69

1156290180

GUIDE; TAPPET,INJ PUMP

198508-

6шт.

70

9812151850

PIN; TAPPET ROLLER,INJ PUMP

198508-

6шт.

71

1156191620

BUSHING; TAPPET ROLLER,INJ PUMP

198508-

6шт.

72

1156290100

ROLLER; TAPPET,INJ PUMP

198508-

6шт.

73

1157299600

GASKET; COVER TO HSG

198508-

1шт.

74

1156120500

COVER; HSG,INJ PUMP

198508-

1шт.

75

1156190030

SCREW; COVER TO HSG

198508-

2шт.

77

1156192370

BEARING; CM/SHF CENTER,INJ PUMP

198508-

1шт.

79

9812151150

STUD; FUEL FEED PUMP TO HSG

198508-

3шт.

80

8941711100

NUT; FUEL FEED PUMP FIX

198508-

3шт.

082(A)

1156191600

PLUG; HSG,INJ PUMP

198508-

6шт.

88

1156190920

BOLT; EYE,OIL FEED,INJ PUMP

198508-

1шт.

89

1157190930

GASKET; OIL FEED BOLT,INJ PUMP

198508-

2шт.

105

5098000380

BEARING; CM/SHF RR,INJ PUMP

198508-

1шт.

105

9000906770

BEARING; CM/SHF RR,INJ PUMP

198508-

1шт.

106

1156290150

RING; HSG,INJ PUMP

198508-

1шт.

107

AR

SHIM; RR BEARING,CM/SHF

198508-

107

AR

SHIM; RR BEARING,CM/SHF

198508-

107

AR

SHIM; RR BEARING,CM/SHF

198508-

107

AR

SHIM; RR BEARING,CM/SHF

198508-

107

AR

SHIM; RR BEARING,CM/SHF

198508-

107

AR

SHIM; RR BEARING,CM/SHF

198508-

107

AR

SHIM; RR BEARING,CM/SHF

198508-

107

AR

SHIM; RR BEARING,CM/SHF

198508-

107

AR

SHIM; RR BEARING,CM/SHF

198508-

107

AR

SHIM; RR BEARING,CM/SHF

198508-

107

AR

SHIM; RR BEARING,CM/SHF

198508-

109

5156370030

RACK; CONT,INJ PUMP

198508-

1шт.

114

1156290020

BEARING; CM/SHF FRT,INJ PUMP

198508-

1шт.

114

1156290030

BEARING; CM/SHF FRT,INJ PUMP

198508-

1шт.

126(A)

9812350170

ADAPTER; EYE BOLT,PUMP HSG

198508-

1шт.

127

1156191900

ADAPTER; FUEL PIPE

198508-

1шт.

148

9812151440

GASKET; COVER FIX BOLT

198508-

2шт.

155

1156191910

BOLT; AIR BLEED,INJ PUMP

198508-

1шт.

159

9812250590

RING; RR BEARING,CM/SHF,INJ PUMP

198508-

1шт.

160

1156290170

SCREW; CENTER BRG,INJ PUMP

198508-

2шт.

161

9812250430

GASKET; SCREW,CENTER BRG

198508-

2шт.

162

AR

SHIM; FRT BRG,CM/SHF

198508-200308

162

AR

SHIM; FRT BRG,CM/SHF

198508-200308

162

AR

SHIM; FRT BRG,CM/SHF

198508-200308

162

AR

SHIM; FRT BRG,CM/SHF

198508-200308

162

AR

SHIM; FRT BRG,CM/SHF

198508-200308

162

AR

SHIM; FRT BRG,CM/SHF

198508-200308

162

AR

SHIM; FRT BRG,CM/SHF

198508-200308

162

AR

SHIM; FRT BRG,CM/SHF

198508-200308

162

AR

SHIM; FRT BRG,CM/SHF

198508-200308

162

AR

SHIM; FRT BRG,CM/SHF

200309-200310

162

AR

SHIM; FRT BRG,CM/SHF

200309-200310

162

AR

SHIM; FRT BRG,CM/SHF

200309-200310

162

AR

SHIM; FRT BRG,CM/SHF

200309-200310

162

AR

SHIM; FRT BRG,CM/SHF

200309-200310

162

AR

SHIM; FRT BRG,CM/SHF

200309-200310

162

AR

SHIM; FRT BRG,CM/SHF

200309-200310

162

AR

SHIM; FRT BRG,CM/SHF

200309-200310

162

AR

SHIM; FRT BRG,CM/SHF

200311-

162

AR

SHIM; FRT BRG,CM/SHF

200311-

162

AR

SHIM; FRT BRG,CM/SHF

200311-

162

AR

SHIM; FRT BRG,CM/SHF

200311-

162

AR

SHIM; FRT BRG,CM/SHF

200311-

162

AR

SHIM; FRT BRG,CM/SHF

200311-

162

AR

SHIM; FRT BRG,CM/SHF

200311-

162

AR

SHIM; FRT BRG,CM/SHF

200311-

167

1156390030

BOLT; CONT RACK,INJ PUMP

198508-

1шт.

176

5156250010

PLATE; LK,DELIVERY VLV HOLDER

198508-

3шт.

177

9812250570

PINION; CONT SLEEVE,INJ PUMP

198508-

6шт.

178

9812350030

SCREW; PINION,INJ PUMP

198508-

6шт.

181

AR

SHIM; TAPPET,INJ PUMP

198508-

181

AR

SHIM; TAPPET,INJ PUMP

198508-

181

AR

SHIM; TAPPET,INJ PUMP

198508-

181

AR

SHIM; TAPPET,INJ PUMP

198508-

181

AR

SHIM; TAPPET,INJ PUMP

198508-

181

AR

SHIM; TAPPET,INJ PUMP

198508-

181

AR

SHIM; TAPPET,INJ PUMP

198508-

181

AR

SHIM; TAPPET,INJ PUMP

198508-

181

AR

SHIM; TAPPET,INJ PUMP

198508-

181

AR

SHIM; TAPPET,INJ PUMP

198508-

181

AR

SHIM; TAPPET,INJ PUMP

198508-

181

AR

SHIM; TAPPET,INJ PUMP

198508-

181

AR

SHIM; TAPPET,INJ PUMP

198508-

181

AR

SHIM; TAPPET,INJ PUMP

198508-

181

AR

SHIM; TAPPET,INJ PUMP

198508-

181

AR

SHIM; TAPPET,INJ PUMP

198508-

181

AR

SHIM; TAPPET,INJ PUMP

198508-

181

AR

SHIM; TAPPET,INJ PUMP

198508-

181

AR

SHIM; TAPPET,INJ PUMP

198508-

181

AR

SHIM; TAPPET,INJ PUMP

198508-

181

AR

SHIM; TAPPET,INJ PUMP

198508-

181

AR

SHIM; TAPPET,INJ PUMP

198508-

181

AR

SHIM; TAPPET,INJ PUMP

198508-

181

AR

SHIM; TAPPET,INJ PUMP

198508-

181

AR

SHIM; TAPPET,INJ PUMP

198508-

181

AR

SHIM; TAPPET,INJ PUMP

198508-

181

AR

SHIM; TAPPET,INJ PUMP

198508-

181

AR

SHIM; TAPPET,INJ PUMP

198508-

181

AR

SHIM; TAPPET,INJ PUMP

198508-

Выбрано товаров: 236