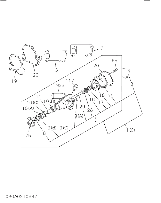
Запчасти Isuzu 030 WATER PUMP AND CORROSION RESISTOR. 030 WATER PUMP AND CORROSION RESISTOR.

FIT
1:1
100%

Артикул

Название

Примечание

Количество

001(C)

8972530281

PUMP ASM; WATER,W/GASKET

199911-

1шт.

003

8943706610

GASKET; PUMP TO C/BL

198508-

1шт.

004

5878143201

REPAIR KIT; WATER PUMP

199911-

1шт.

007(D)

1136412050

PULLEY; WATER PUMP

200005-

1шт.

008

5136390010

THROWER; DUST,WATER PUMP

198508-

1шт.

009(A)

9099521430

RING; SNAP,WATER PUMP

198508-

1шт.

009(B)

9091801520

RING; SNAP,WATER PUMP

198508-

1шт.

010(A)

5098000510

BEARING; WATER PUMP

198508-

1шт.

010(B)

5098000500

BEARING; WATER PUMP

198508-

1шт.

010(C)

1098001700

BEARING; WATER PUMP

198508-

1шт.

011

5136340020

SPACER; BRG,WATER PUMP

198508-

1шт.

016

5096250550

SEAL; OIL,WATER PUMP

198508-

1шт.

017

8972322490

SEAL UNIT; WATER PUMP

198508-

1шт.

018

8972322500

IMPELLER; WATER PUMP

198508-

1шт.

019

8972322480

GASKET; COVER TO BODY

198508-

1шт.

020

8972322470

COVER; WATER PUMP

198508-

1шт.

024

0280810500

BOLT; WATER PUMP

198508-200203

2шт.

024

0280810700

BOLT; WATER PUMP

198508-200203

1шт.

024

0286810350

BOLT; WATER PUMP

198508-200203

1шт.

024

0280810500

BOLT; WATER PUMP

A 200204-200512

2шт.

024

0280810700

BOLT; WATER PUMP

A 200204-200512

1шт.

024

0286810350

BOLT; WATER PUMP

A 200204-200512

1шт.

024

0280510500

BOLT; WATER PUMP

200601-

2шт.

024

0280510700

BOLT; WATER PUMP

200601-

1шт.

024

0286510350

BOLT; WATER PUMP

200601-

1шт.

025

5136420072

CENTER; WATER PUMP

198508-

1шт.

028

1095030700

WASHER; WATER PUMP

198508-

1шт.

029

1136310740

SHAFT; WATER PUMP

198508-

1шт.

065

9030908200

SCREW; COVER,WATER PUMP

198508-

3шт.

117

8972498951

CONNECTOR; BYPASS

199907-200003

1шт.

117

8972498951

CONNECTOR; BYPASS

200004-

1шт.

001(C)

8972530281

PUMP ASM; WATER,W/GASKET

199911-

1шт.

003

8943706610

GASKET; PUMP TO C/BL

198508-

1шт.

004

5878143201

REPAIR KIT; WATER PUMP

199911-

1шт.

007(D)

1136412050

PULLEY; WATER PUMP

200005-

1шт.

008

5136390010

THROWER; DUST,WATER PUMP

198508-

1шт.

009(A)

9099521430

RING; SNAP,WATER PUMP

198508-

1шт.

009(B)

9091801520

RING; SNAP,WATER PUMP

198508-

1шт.

010(A)

5098000510

BEARING; WATER PUMP

198508-

1шт.

010(B)

5098000500

BEARING; WATER PUMP

198508-

1шт.

010(C)

1098001700

BEARING; WATER PUMP

198508-

1шт.

011

5136340020

SPACER; BRG,WATER PUMP

198508-

1шт.

016

5096250550

SEAL; OIL,WATER PUMP

198508-

1шт.

017

8972322490

SEAL UNIT; WATER PUMP

198508-

1шт.

018

8972322500

IMPELLER; WATER PUMP

198508-

1шт.

019

8972322480

GASKET; COVER TO BODY

198508-

1шт.

020

8972322470

COVER; WATER PUMP

198508-

1шт.

024

0280810500

BOLT; WATER PUMP

198508-200203

2шт.

024

0280810700

BOLT; WATER PUMP

198508-200203

1шт.

024

0286810350

BOLT; WATER PUMP

198508-200203

1шт.

024

0280810500

BOLT; WATER PUMP

A 200204-200512

2шт.

024

0280810700

BOLT; WATER PUMP

A 200204-200512

1шт.

024

0286810350

BOLT; WATER PUMP

A 200204-200512

1шт.

024

0280510500

BOLT; WATER PUMP

200601-

2шт.

024

0280510700

BOLT; WATER PUMP

200601-

1шт.

024

0286510350

BOLT; WATER PUMP

200601-

1шт.

025

5136420072

CENTER; WATER PUMP

198508-

1шт.

028

1095030700

WASHER; WATER PUMP

198508-

1шт.

029

1136310740

SHAFT; WATER PUMP

198508-

1шт.

065

9030908200

SCREW; COVER,WATER PUMP

198508-

3шт.

117

8972498951

CONNECTOR; BYPASS

199907-200003

1шт.

117

8972498951

CONNECTOR; BYPASS

200004-

1шт.

Выбрано товаров: 0