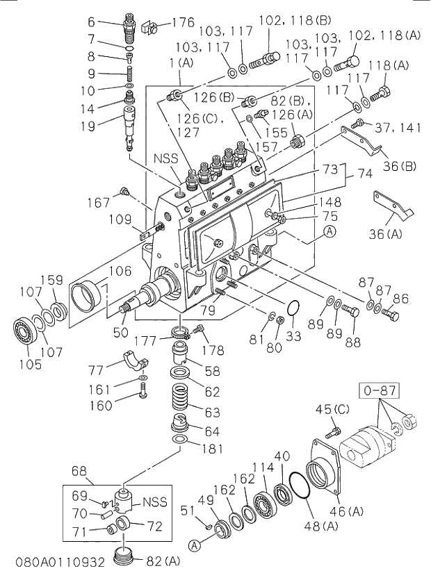
Запчасти Isuzu 080 INJECTION PUMP 080 INJECTION PUMP

FIT
1:1
100%

Артикул

Название

Примечание

Количество

001(B)

1156112360

HOUSING; PUMP,FUEL INJ

198508-

1шт.

006

1156440090

HOLDER; DELIVERY VLV,INJ PUMP

198508-

6шт.

007

9812350460

GASKET; HOLDER,DELIVERY VLV

198508-

6шт.

008

1156490050

STOPPER; DELIVERY VLV,INJ PUMP

198508-

6шт.

009

1156430140

SPRING; DELIVERY VLV

198508-

6шт.

010

1156191030

GASKET; DELIVERY VLV,INJ PUMP

198508-

6шт.

014

1156410310

VALVE; DELIVERY,INJ PUMP

198508-

6шт.

019

1156320580

PLUNGER ASM; INJ PUMP

199907-

6шт.

033

1096230130

GASKET; FUEL FEED PUMP,INJ PUMP

198508-

1шт.

045(A)

8970850000

BOLT; FRT COVER TO HSG

199911-

4шт.

046(B)

8970849990

COVER; FRT,PUMP HSG

199911-

1шт.

048(A)

8970851130

GASKET; FRT COVER TO HSG

199911-

1шт.

048(B)

1156290760

GASKET; FRT COVER TO HSG

199911-

1шт.

049

8970849900

RING; FRT BRG,CM/SHF

199911-

1шт.

050

1156211270

CAMSHAFT; INJ PUMP

199911-

1шт.

051

1156291610

KEY; DRIVE GEAR,INJ PUMP

198508-

1шт.

058

9812315230

SLEEVE; CONT,INJ PUMP

198508-

6шт.

062

1156390220

SEAT; PLUNGER SPRING,INJ PUMP

198508-

6шт.

063

1156340070

SPRING; PLUNGER,INJ PUMP

198508-

6шт.

064

1156390230

SEAT; PLUNGER SPRING LWR,INJ PUMP

198508-

6шт.

068

1156220060

TAPPET; CM/SHF,INJ PUMP

198508-

6шт.

069

1156290180

GUIDE; TAPPET,INJ PUMP

198508-

6шт.

070

9812151850

PIN; TAPPET ROLLER,INJ PUMP

198508-

6шт.

071

1156191620

BUSHING; TAPPET ROLLER,INJ PUMP

198508-

6шт.

072

1156290100

ROLLER; TAPPET,INJ PUMP

198508-

6шт.

073

1157299600

GASKET; COVER TO HSG

198508-

1шт.

074

1156120500

COVER; HSG,INJ PUMP

198508-

1шт.

075

1156190030

SCREW; COVER TO HSG

198508-

2шт.

077

1156192640

BEARING; CM/SHF CENTER,INJ PUMP

198508-

1шт.

079

9812151150

STUD; FUEL FEED PUMP TO HSG

198508-

3шт.

080

8941711100

NUT; FUEL FEED PUMP FIX

198508-

3шт.

082(A)

1156191600

PLUG; HSG,INJ PUMP

198508-

6шт.

088

1156190920

BOLT; EYE,OIL FEED,INJ PUMP

198508-

1шт.

089

1157190930

GASKET; OIL FEED BOLT,INJ PUMP

198508-

2шт.

102

1156194880

VALVE; OVERFLOW,INJ PUMP

198508-

1шт.

103

1096300850

GASKET; OVERFLOW VLV,INJ PUMP

198508-

2шт.

105

1156290020

BEARING; CM/SHF RR,INJ PUMP

199911-

1шт.

105

1156290030

BEARING; CM/SHF RR,INJ PUMP

199911-

1шт.

106

1156191590

RING; HSG,INJ PUMP

199911-

1шт.

107

AR

SHIM; RR BEARING,CM/SHF

200312-

107

AR

SHIM; RR BEARING,CM/SHF

200312-

107

AR

SHIM; RR BEARING,CM/SHF

200312-

107

AR

SHIM; RR BEARING,CM/SHF

200312-

107

AR

SHIM; RR BEARING,CM/SHF

200312-

107

AR

SHIM; RR BEARING,CM/SHF

200312-

107

AR

SHIM; RR BEARING,CM/SHF

200312-

107

AR

SHIM; RR BEARING,CM/SHF

200312-

109

5156370030

RACK; CONT,INJ PUMP

198508-

1шт.

111

1156290240

GASKET; FRT COVER FIX

199612-

4шт.

112

9813152160

SHIM; FRT COVER FIX

199612-

4шт.

113

8941289280

WASHER; LK,FRT COVER TO HSG

199612-

4шт.

114

8970849890

BEARING; CM/SHF FRT,INJ PUMP

198508-

1шт.

126(A)

9812350170

ADAPTER; EYE BOLT,PUMP HSG

198508-

1шт.

127

1156191900

ADAPTER; FUEL PIPE

198508-

1шт.

148

9812151440

GASKET; COVER FIX BOLT

198508-

2шт.

155

1156191910

BOLT; AIR BLEED,INJ PUMP

198508-

1шт.

159

5156290241

RING; RR BEARING,CM/SHF,INJ PUMP

200312-

1шт.

160

1156290170

SCREW; CENTER BRG,INJ PUMP

198508-

2шт.

161

9812250430

GASKET; SCREW,CENTER BRG

198508-

2шт.

162

AR

SHIM; FRT BRG,CM/SHF

198508-

162

AR

SHIM; FRT BRG,CM/SHF

198508-

162

AR

SHIM; FRT BRG,CM/SHF

198508-

162

AR

SHIM; FRT BRG,CM/SHF

198508-

162

AR

SHIM; FRT BRG,CM/SHF

198508-

162

AR

SHIM; FRT BRG,CM/SHF

198508-

162

AR

SHIM; FRT BRG,CM/SHF

198508-

162

AR

SHIM; FRT BRG,CM/SHF

198508-

162

AR

SHIM; FRT BRG,CM/SHF

198508-

167

1156390030

BOLT; CONT RACK,INJ PUMP

198508-

1шт.

176

5156250010

PLATE; LK,DELIVERY VLV HOLDER

198508-

3шт.

177

9812250570

PINION; CONT SLEEVE,INJ PUMP

198508-

6шт.

178

9812350030

SCREW; PINION,INJ PUMP

198508-

6шт.

181

AR

SHIM; TAPPET,INJ PUMP

198508-

181

AR

SHIM; TAPPET,INJ PUMP

198508-

181

AR

SHIM; TAPPET,INJ PUMP

198508-

181

AR

SHIM; TAPPET,INJ PUMP

198508-

181

AR

SHIM; TAPPET,INJ PUMP

198508-

181

AR

SHIM; TAPPET,INJ PUMP

198508-

181

AR

SHIM; TAPPET,INJ PUMP

198508-

181

AR

SHIM; TAPPET,INJ PUMP

198508-

181

AR

SHIM; TAPPET,INJ PUMP

198508-

181

AR

SHIM; TAPPET,INJ PUMP

198508-

181

AR

SHIM; TAPPET,INJ PUMP

198508-

181

AR

SHIM; TAPPET,INJ PUMP

198508-

181

AR

SHIM; TAPPET,INJ PUMP

198508-

181

AR

SHIM; TAPPET,INJ PUMP

198508-

181

AR

SHIM; TAPPET,INJ PUMP

198508-

181

AR

SHIM; TAPPET,INJ PUMP

198508-

181

AR

SHIM; TAPPET,INJ PUMP

198508-

181

AR

SHIM; TAPPET,INJ PUMP

198508-

181

AR

SHIM; TAPPET,INJ PUMP

198508-

181

AR

SHIM; TAPPET,INJ PUMP

198508-

181

AR

SHIM; TAPPET,INJ PUMP

198508-

181

AR

SHIM; TAPPET,INJ PUMP

198508-

181

AR

SHIM; TAPPET,INJ PUMP

198508-

181

AR

SHIM; TAPPET,INJ PUMP

198508-

181

AR

SHIM; TAPPET,INJ PUMP

198508-

181

AR

SHIM; TAPPET,INJ PUMP

198508-

181

AR

SHIM; TAPPET,INJ PUMP

198508-

181

AR

SHIM; TAPPET,INJ PUMP

198508-

181

AR

SHIM; TAPPET,INJ PUMP

198508-

001(B)

1156112360

HOUSING; PUMP,FUEL INJ

198508-

1шт.

006

1156440090

HOLDER; DELIVERY VLV,INJ PUMP

198508-

6шт.

007

9812350460

GASKET; HOLDER,DELIVERY VLV

198508-

6шт.

008

1156490050

STOPPER; DELIVERY VLV,INJ PUMP

198508-

6шт.

009

1156430140

SPRING; DELIVERY VLV

198508-

6шт.

010

1156191030

GASKET; DELIVERY VLV,INJ PUMP

198508-

6шт.

014

1156410310

VALVE; DELIVERY,INJ PUMP

198508-

6шт.

019

1156320580

PLUNGER ASM; INJ PUMP

199907-

6шт.

033

1096230130

GASKET; FUEL FEED PUMP,INJ PUMP

198508-

1шт.

045(A)

8970850000

BOLT; FRT COVER TO HSG

199911-

4шт.

046(B)

8970849990

COVER; FRT,PUMP HSG

199911-

1шт.

048(A)

8970851130

GASKET; FRT COVER TO HSG

199911-

1шт.

048(B)

1156290760

GASKET; FRT COVER TO HSG

199911-

1шт.

049

8970849900

RING; FRT BRG,CM/SHF

199911-

1шт.

050

1156211270

CAMSHAFT; INJ PUMP

199911-

1шт.

051

1156291610

KEY; DRIVE GEAR,INJ PUMP

198508-

1шт.

058

9812315230

SLEEVE; CONT,INJ PUMP

198508-

6шт.

062

1156390220

SEAT; PLUNGER SPRING,INJ PUMP

198508-

6шт.

063

1156340070

SPRING; PLUNGER,INJ PUMP

198508-

6шт.

064

1156390230

SEAT; PLUNGER SPRING LWR,INJ PUMP

198508-

6шт.

068

1156220060

TAPPET; CM/SHF,INJ PUMP

198508-

6шт.

069

1156290180

GUIDE; TAPPET,INJ PUMP

198508-

6шт.

070

9812151850

PIN; TAPPET ROLLER,INJ PUMP

198508-

6шт.

071

1156191620

BUSHING; TAPPET ROLLER,INJ PUMP

198508-

6шт.

072

1156290100

ROLLER; TAPPET,INJ PUMP

198508-

6шт.

073

1157299600

GASKET; COVER TO HSG

198508-

1шт.

074

1156120500

COVER; HSG,INJ PUMP

198508-

1шт.

075

1156190030

SCREW; COVER TO HSG

198508-

2шт.

077

1156192640

BEARING; CM/SHF CENTER,INJ PUMP

198508-

1шт.

079

9812151150

STUD; FUEL FEED PUMP TO HSG

198508-

3шт.

080

8941711100

NUT; FUEL FEED PUMP FIX

198508-

3шт.

082(A)

1156191600

PLUG; HSG,INJ PUMP

198508-

6шт.

088

1156190920

BOLT; EYE,OIL FEED,INJ PUMP

198508-

1шт.

089

1157190930

GASKET; OIL FEED BOLT,INJ PUMP

198508-

2шт.

102

1156194880

VALVE; OVERFLOW,INJ PUMP

198508-

1шт.

103

1096300850

GASKET; OVERFLOW VLV,INJ PUMP

198508-

2шт.

105

1156290020

BEARING; CM/SHF RR,INJ PUMP

199911-

1шт.

105

1156290030

BEARING; CM/SHF RR,INJ PUMP

199911-

1шт.

106

1156191590

RING; HSG,INJ PUMP

199911-

1шт.

107

AR

SHIM; RR BEARING,CM/SHF

200312-

107

AR

SHIM; RR BEARING,CM/SHF

200312-

107

AR

SHIM; RR BEARING,CM/SHF

200312-

107

AR

SHIM; RR BEARING,CM/SHF

200312-

107

AR

SHIM; RR BEARING,CM/SHF

200312-

107

AR

SHIM; RR BEARING,CM/SHF

200312-

107

AR

SHIM; RR BEARING,CM/SHF

200312-

107

AR

SHIM; RR BEARING,CM/SHF

200312-

109

5156370030

RACK; CONT,INJ PUMP

198508-

1шт.

111

1156290240

GASKET; FRT COVER FIX

199612-

4шт.

112

9813152160

SHIM; FRT COVER FIX

199612-

4шт.

113

8941289280

WASHER; LK,FRT COVER TO HSG

199612-

4шт.

114

8970849890

BEARING; CM/SHF FRT,INJ PUMP

198508-

1шт.

126(A)

9812350170

ADAPTER; EYE BOLT,PUMP HSG

198508-

1шт.

127

1156191900

ADAPTER; FUEL PIPE

198508-

1шт.

148

9812151440

GASKET; COVER FIX BOLT

198508-

2шт.

155

1156191910

BOLT; AIR BLEED,INJ PUMP

198508-

1шт.

159

5156290241

RING; RR BEARING,CM/SHF,INJ PUMP

200312-

1шт.

160

1156290170

SCREW; CENTER BRG,INJ PUMP

198508-

2шт.

161

9812250430

GASKET; SCREW,CENTER BRG

198508-

2шт.

162

AR

SHIM; FRT BRG,CM/SHF

198508-

162

AR

SHIM; FRT BRG,CM/SHF

198508-

162

AR

SHIM; FRT BRG,CM/SHF

198508-

162

AR

SHIM; FRT BRG,CM/SHF

198508-

162

AR

SHIM; FRT BRG,CM/SHF

198508-

162

AR

SHIM; FRT BRG,CM/SHF

198508-

162

AR

SHIM; FRT BRG,CM/SHF

198508-

162

AR

SHIM; FRT BRG,CM/SHF

198508-

162

AR

SHIM; FRT BRG,CM/SHF

198508-

167

1156390030

BOLT; CONT RACK,INJ PUMP

198508-

1шт.

176

5156250010

PLATE; LK,DELIVERY VLV HOLDER

198508-

3шт.

177

9812250570

PINION; CONT SLEEVE,INJ PUMP

198508-

6шт.

178

9812350030

SCREW; PINION,INJ PUMP

198508-

6шт.

181

AR

SHIM; TAPPET,INJ PUMP

198508-

181

AR

SHIM; TAPPET,INJ PUMP

198508-

181

AR

SHIM; TAPPET,INJ PUMP

198508-

181

AR

SHIM; TAPPET,INJ PUMP

198508-

181

AR

SHIM; TAPPET,INJ PUMP

198508-

181

AR

SHIM; TAPPET,INJ PUMP

198508-

181

AR

SHIM; TAPPET,INJ PUMP

198508-

181

AR

SHIM; TAPPET,INJ PUMP

198508-

181

AR

SHIM; TAPPET,INJ PUMP

198508-

181

AR

SHIM; TAPPET,INJ PUMP

198508-

181

AR

SHIM; TAPPET,INJ PUMP

198508-

181

AR

SHIM; TAPPET,INJ PUMP

198508-

181

AR

SHIM; TAPPET,INJ PUMP

198508-

181

AR

SHIM; TAPPET,INJ PUMP

198508-

181

AR

SHIM; TAPPET,INJ PUMP

198508-

181

AR

SHIM; TAPPET,INJ PUMP

198508-

181

AR

SHIM; TAPPET,INJ PUMP

198508-

181

AR

SHIM; TAPPET,INJ PUMP

198508-

181

AR

SHIM; TAPPET,INJ PUMP

198508-

181

AR

SHIM; TAPPET,INJ PUMP

198508-

181

AR

SHIM; TAPPET,INJ PUMP

198508-

181

AR

SHIM; TAPPET,INJ PUMP

198508-

181

AR

SHIM; TAPPET,INJ PUMP

198508-

181

AR

SHIM; TAPPET,INJ PUMP

198508-

181

AR

SHIM; TAPPET,INJ PUMP

198508-

181

AR

SHIM; TAPPET,INJ PUMP

198508-

181

AR

SHIM; TAPPET,INJ PUMP

198508-

181

AR

SHIM; TAPPET,INJ PUMP

198508-

181

AR

SHIM; TAPPET,INJ PUMP

198508-

Выбрано товаров: 202