Запчасти Isuzu 050 OIL COOLER AND OIL FILTER. 050 OIL COOLER AND OIL FILTER.

FIT
1:1
100%

Артикул

Название

Примечание

Количество

002(A)

1132402322

ELEMENT; OIL FILTER

200111-

1шт.

13

1131600350

VALVE; RELIEF

200806-

1шт.

20

8943967530

PLUG; COOLER BODY

200006-

1шт.

021(A)

8943967550

GASKET; PLUG

200006-

1шт.

25

1132193240

NUT; CORE TO BODY

200006-

4шт.

26

1217230660

CORE ASM; OIL COOLER

200006-

1шт.

27

9091645100

WASHER; PL,CORE TO BODY

200006-

4шт.

028(A)

1217291170

GASKET; CORE TO BODY

200006-

1шт.

028(B)

8943949300

GASKET; CORE TO BODY

200006-

1шт.

102

1132010114

COOLER ASM; OIL

200006-

1шт.

103

1090440711

BOLT; OIL COOLER

200006-

3шт.

103

280808220

BOLT; OIL COOLER

200404-

24шт.

103

286508350

BOLT; OIL COOLER

200601-

1шт.

120

281510250

BOLT; ADAPTER

200604-

1шт.

120

281510900

BOLT; ADAPTER

200604-

3шт.

149(B)

8943992250

PLUG

200604-

1шт.

149(C)

1096040940

PLUG

200604-

1шт.

170

8943900782

PIPE; BYPASS

200006-

1шт.

196

8976009360

THERMOSTAT; OIL COOLER

200111-

1шт.

197

8943992790

GASKET; THERMOSTAT

200006-

1шт.

288(B)

1096050250

PLUG; OIL DRAIN

200806-

2шт.

316(A)

8943993990

GASKET; COVER TO BODY

200006-

2шт.

316(B)

8943993390

GASKET; COVER TO BODY

200604-

1шт.

323(B)

8973638403

COVER; OIL PORT

200604-

1шт.

352

8972221250

ADAPTER; OIL FILTER

200006-

1шт.

444

8943968100

GASKET; ELEMENT TO BODY

200006-201102

2шт.

444

1096232990

GASKET; ELEMENT TO BODY

201103-

2шт.

447

1096235880

GASKET; BYPASS PIPE

200006-

2шт.

448

280508300

BOLT; BYPASS PIPE

200601-

4шт.

469(A)

8943990020

GASKET; OIL COOLER TO C/BL

200006-

1шт.

469(B)

8980454490

GASKET; OIL COOLER TO C/BL

200607-

1шт.

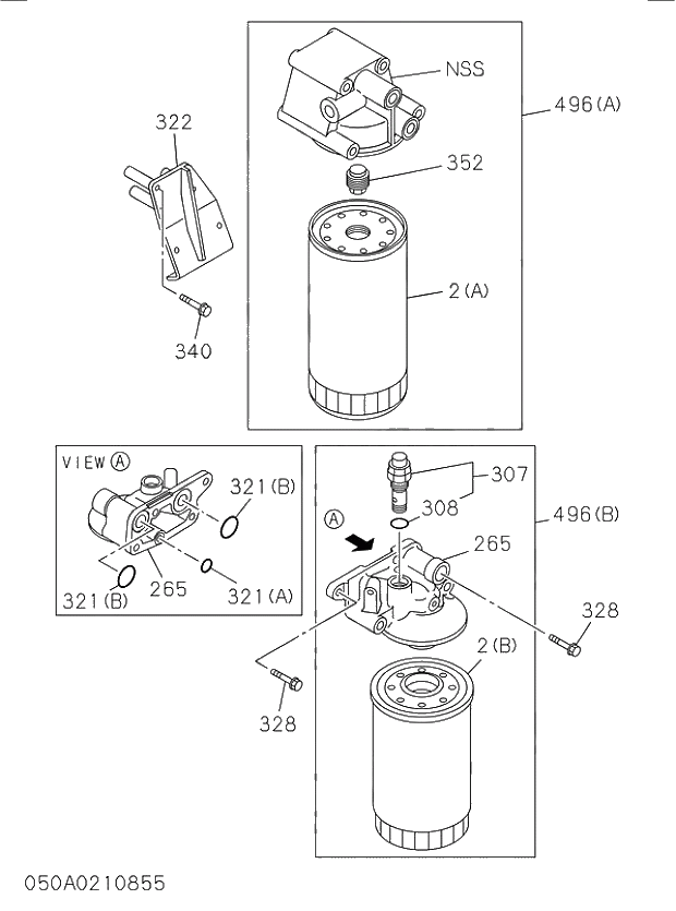
496(A)

8973243861

FILTER ASM; OIL

200111-

1шт.

517

1217291180

PLUG; THERMOSTAT,OIL COOLER

200006-

1шт.

518

280508160

BOLT; PLUG,THERMOSTAT

200601-

2шт.

002(A)

1132402322

ELEMENT; OIL FILTER

200111-

1шт.

13

1131600350

VALVE; RELIEF

200806-

1шт.

20

8943967530

PLUG; COOLER BODY

200006-

1шт.

021(A)

8943967550

GASKET; PLUG

200006-

1шт.

25

1132193240

NUT; CORE TO BODY

200006-

4шт.

26

1217230660

CORE ASM; OIL COOLER

200006-

1шт.

27

9091645100

WASHER; PL,CORE TO BODY

200006-

4шт.

028(A)

1217291170

GASKET; CORE TO BODY

200006-

1шт.

028(B)

8943949300

GASKET; CORE TO BODY

200006-

1шт.

102

1132010114

COOLER ASM; OIL

200006-

1шт.

103

1090440711

BOLT; OIL COOLER

200006-

3шт.

103

280808220

BOLT; OIL COOLER

200404-

24шт.

103

286508350

BOLT; OIL COOLER

200601-

1шт.

120

281510250

BOLT; ADAPTER

200604-

1шт.

120

281510900

BOLT; ADAPTER

200604-

3шт.

149(B)

8943992250

PLUG

200604-

1шт.

149(C)

1096040940

PLUG

200604-

1шт.

170

8943900782

PIPE; BYPASS

200006-

1шт.

196

8976009360

THERMOSTAT; OIL COOLER

200111-

1шт.

197

8943992790

GASKET; THERMOSTAT

200006-

1шт.

288(B)

1096050250

PLUG; OIL DRAIN

200806-

2шт.

316(A)

8943993990

GASKET; COVER TO BODY

200006-

2шт.

316(B)

8943993390

GASKET; COVER TO BODY

200604-

1шт.

323(B)

8973638403

COVER; OIL PORT

200604-

1шт.

352

8972221250

ADAPTER; OIL FILTER

200006-

1шт.

444

8943968100

GASKET; ELEMENT TO BODY

200006-201102

2шт.

444

1096232990

GASKET; ELEMENT TO BODY

201103-

2шт.

447

1096235880

GASKET; BYPASS PIPE

200006-

2шт.

448

280508300

BOLT; BYPASS PIPE

200601-

4шт.

469(A)

8943990020

GASKET; OIL COOLER TO C/BL

200006-

1шт.

469(B)

8980454490

GASKET; OIL COOLER TO C/BL

200607-

1шт.

496(A)

8973243861

FILTER ASM; OIL

200111-

1шт.

517

1217291180

PLUG; THERMOSTAT,OIL COOLER

200006-

1шт.

518

280508160

BOLT; PLUG,THERMOSTAT

200601-

2шт.

Выбрано товаров: 68