Запчасти Isuzu 050 OIL COOLER AND OIL FILTER. 050 OIL COOLER AND OIL FILTER.

FIT
1:1
100%

Артикул

Название

Примечание

Количество

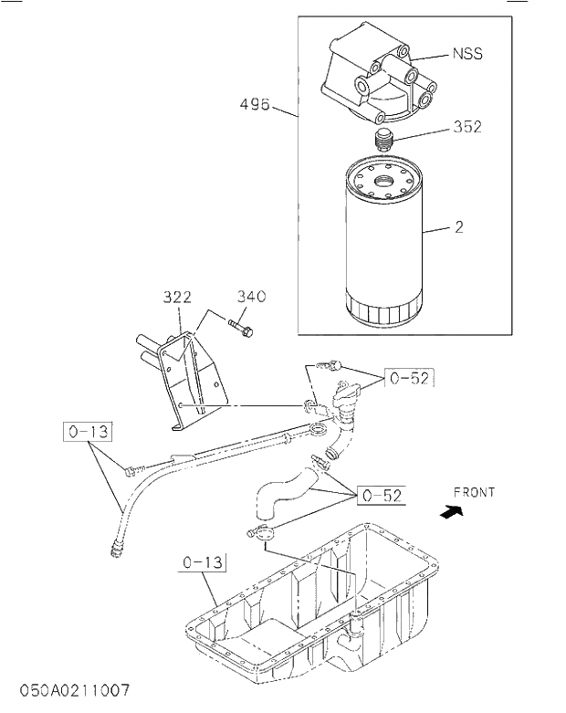
2

1132402322

ELEMENT; OIL FILTER

200508-

1шт.

13

1131600350

VALVE; RELIEF

200806-201010

1шт.

13

1131600350

VALVE; RELIEF

201012-

1шт.

20

8943967530

PLUG; COOLER BODY

200508-

1шт.

21

8943967550

GASKET; PLUG

200508-

1шт.

25

1132193240

NUT; CORE TO BODY

200508-

4шт.

26

1217230660

CORE ASM; OIL COOLER

200508-

1шт.

27

9091645100

WASHER; PL,CORE TO BODY

200508-

4шт.

028(A)

1217291170

GASKET; CORE TO BODY

200508-

1шт.

028(B)

8943949300

GASKET; CORE TO BODY

200508-

1шт.

31

281810250

BOLT; OIL PIPE

A 200508-200512

1шт.

31

281810900

BOLT; OIL PIPE

200508-200512

3шт.

31

281510250

BOLT; OIL PIPE

200601-

1шт.

31

281510900

BOLT; OIL PIPE

200601-

3шт.

102

1132010663

COOLER ASM; OIL

200508-

1шт.

103

280808220

BOLT; OIL COOLER

200508-

24шт.

103

1090440711

BOLT; OIL COOLER

200508-

3шт.

103

286808350

BOLT; OIL COOLER

A 200508-200512

1шт.

103

286508350

BOLT; OIL COOLER

200601-

1шт.

170

8943900782

PIPE; BYPASS

200508-

1шт.

196

8976009360

THERMOSTAT; OIL COOLER

200508-

1шт.

197

8943992790

GASKET; THERMOSTAT

200508-

1шт.

288

1096050250

PLUG; OIL DRAIN

200806-201010

2шт.

288

1096050250

PLUG; OIL DRAIN

201012-

2шт.

321(A)

8943993390

GASKET; OIL FILTER TO C/BL

200508-

1шт.

321(B)

8943993990

GASKET; OIL FILTER TO C/BL

200508-

2шт.

323

8973638403

COVER; OIL PORT

200508-201010

1шт.

323

8981097111

COVER; OIL PORT

201011-201011

1шт.

323

8973638403

COVER; OIL PORT

201012-

1шт.

352

8972221250

ADAPTER; OIL FILTER

200508-

1шт.

442

1474758680

BRACKET; HARNESS,OIL FILTER

200508-200510

2шт.

444

8943968100

GASKET; ELEMENT TO BODY

200508-201102

2шт.

444

1096232990

GASKET; ELEMENT TO BODY

201103-

2шт.

447

1096235880

GASKET; BYPASS PIPE

200508-

2шт.

448

280808300

BOLT; BYPASS PIPE

200508-200512

4шт.

448

280508300

BOLT; BYPASS PIPE

200601-

4шт.

469(A)

8943990020

GASKET; OIL COOLER TO C/BL

200508-

1шт.

469(B)

8943992790

GASKET; OIL COOLER TO C/BL

200508-200606

1шт.

469(B)

8980454490

GASKET; OIL COOLER TO C/BL

200607-

1шт.

496

8973243861

FILTER ASM; OIL

200508-

1шт.

517

1217291180

PLUG; THERMOSTAT,OIL COOLER

200508-

1шт.

518

280808160

BOLT; PLUG,THERMOSTAT

A 200508-200512

2шт.

518

280508160

BOLT; PLUG,THERMOSTAT

200601-

2шт.

558

1096050250

PLUG; COVER,OIL PORT

200508-200805

2шт.

558

1096050250

PLUG; COVER,OIL PORT

201011-201011

2шт.

560

1131600350

VALVE; RELIEF,OIL PORT COVER

200508-200805

1шт.

560

1131600350

VALVE; RELIEF,OIL PORT COVER

201011-201011

1шт.

569

1137118570

PIPE; WATER,EGR

200508-

1шт.

571

8976004340

SENSOR; OIL PRESSURE

A 200508-200608

1шт.

571

8980274560

SENSOR; OIL PRESSURE

200609-

1шт.

572

1096300850

GASKET; OIL PRESSURE

200508-

1шт.

579

1096050500

PLUG; OIL PORT

201011-201011

1шт.

2

1132402322

ELEMENT; OIL FILTER

200508-

1шт.

13

1131600350

VALVE; RELIEF

200806-201010

1шт.

13

1131600350

VALVE; RELIEF

201012-

1шт.

20

8943967530

PLUG; COOLER BODY

200508-

1шт.

21

8943967550

GASKET; PLUG

200508-

1шт.

25

1132193240

NUT; CORE TO BODY

200508-

4шт.

26

1217230660

CORE ASM; OIL COOLER

200508-

1шт.

27

9091645100

WASHER; PL,CORE TO BODY

200508-

4шт.

028(A)

1217291170

GASKET; CORE TO BODY

200508-

1шт.

028(B)

8943949300

GASKET; CORE TO BODY

200508-

1шт.

31

281810250

BOLT; OIL PIPE

A 200508-200512

1шт.

31

281810900

BOLT; OIL PIPE

200508-200512

3шт.

31

281510250

BOLT; OIL PIPE

200601-

1шт.

31

281510900

BOLT; OIL PIPE

200601-

3шт.

102

1132010663

COOLER ASM; OIL

200508-

1шт.

103

280808220

BOLT; OIL COOLER

200508-

24шт.

103

1090440711

BOLT; OIL COOLER

200508-

3шт.

103

286808350

BOLT; OIL COOLER

A 200508-200512

1шт.

103

286508350

BOLT; OIL COOLER

200601-

1шт.

170

8943900782

PIPE; BYPASS

200508-

1шт.

196

8976009360

THERMOSTAT; OIL COOLER

200508-

1шт.

197

8943992790

GASKET; THERMOSTAT

200508-

1шт.

288

1096050250

PLUG; OIL DRAIN

200806-201010

2шт.

288

1096050250

PLUG; OIL DRAIN

201012-

2шт.

321(A)

8943993390

GASKET; OIL FILTER TO C/BL

200508-

1шт.

321(B)

8943993990

GASKET; OIL FILTER TO C/BL

200508-

2шт.

323

8973638403

COVER; OIL PORT

200508-201010

1шт.

323

8981097111

COVER; OIL PORT

201011-201011

1шт.

323

8973638403

COVER; OIL PORT

201012-

1шт.

352

8972221250

ADAPTER; OIL FILTER

200508-

1шт.

442

1474758680

BRACKET; HARNESS,OIL FILTER

200508-200510

2шт.

444

8943968100

GASKET; ELEMENT TO BODY

200508-201102

2шт.

444

1096232990

GASKET; ELEMENT TO BODY

201103-

2шт.

447

1096235880

GASKET; BYPASS PIPE

200508-

2шт.

448

280808300

BOLT; BYPASS PIPE

200508-200512

4шт.

448

280508300

BOLT; BYPASS PIPE

200601-

4шт.

469(A)

8943990020

GASKET; OIL COOLER TO C/BL

200508-

1шт.

469(B)

8943992790

GASKET; OIL COOLER TO C/BL

200508-200606

1шт.

469(B)

8980454490

GASKET; OIL COOLER TO C/BL

200607-

1шт.

496

8973243861

FILTER ASM; OIL

200508-

1шт.

517

1217291180

PLUG; THERMOSTAT,OIL COOLER

200508-

1шт.

518

280808160

BOLT; PLUG,THERMOSTAT

A 200508-200512

2шт.

518

280508160

BOLT; PLUG,THERMOSTAT

200601-

2шт.

558

1096050250

PLUG; COVER,OIL PORT

200508-200805

2шт.

558

1096050250

PLUG; COVER,OIL PORT

201011-201011

2шт.

560

1131600350

VALVE; RELIEF,OIL PORT COVER

200508-200805

1шт.

560

1131600350

VALVE; RELIEF,OIL PORT COVER

201011-201011

1шт.

569

1137118570

PIPE; WATER,EGR

200508-

1шт.

571

8976004340

SENSOR; OIL PRESSURE

A 200508-200608

1шт.

571

8980274560

SENSOR; OIL PRESSURE

200609-

1шт.

572

1096300850

GASKET; OIL PRESSURE

200508-

1шт.

579

1096050500

PLUG; OIL PORT

201011-201011

1шт.

Выбрано товаров: 0