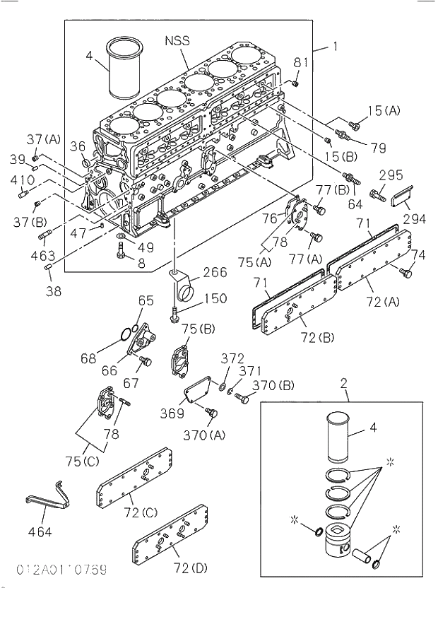
Запчасти Isuzu 012 CYLINDER BLOCK. 012 CYLINDER BLOCK.

FIT
1:1
100%

Артикул

Название

Примечание

Количество

1

1112104210

BLOCK ASM; CYL

198308 -

1шт.

2

1878115920

LINER SET; ENG CYL

198308 -

6шт.

2

1878115930

LINER SET; ENG CYL

198308 -

6шт.

4

1112612880

LINER; C/BL

198905 -

6шт.

4

1112612890

LINER; C/BL

198905 -

6шт.

8

9098042170

BOLT; BRG CAP

198308 -

4шт.

8

9098042180

BOLT; BRG CAP

198308 -

10шт.

11

9095714180

GASKET; CONN TO C/BL

198406 -

1шт.

15(B)

1096050500

PLUG; OIL GALLERY

198308 -

13шт.

27

1096605680

NIPPLE; OIL GALLERY

199004 -

1шт.

27

1096605680

NIPPLE; OIL GALLERY

199303 -

1шт.

28

9112192140

COVER; OIL PORT

198308 -

1шт.

29

1096234500

GASKET; COVER,OIL PORT

199004 -

1шт.

30(A)

9081508160

PIN; CYL HD GASKET SETTING

198308 -

2шт.

30(B)

9112290112

PIN; CYL HD GASKET SETTING

198308 -

4шт.

31

1096050190

PLUG; OIL GALLERY

198308 -

4шт.

32

9081508160

PIN; INJ PUMP BRKT

198308 -

2шт.

34

9131600602

VALVE; OIL RELIEF

198308 -

1шт.

35

1096230590

GASKET; RELIEF VLV

198308 -

1шт.

36

1096000051

CUP; SEALING,WATER JACKET

198308 -

4шт.

37(A)

1096050250

PLUG; OIL GALLERY

198308 -

2шт.

37(A)

1096090141

PLUG; OIL GALLERY

198308 -

1шт.

37(B)

1096050560

PLUG; OIL GALLERY

198308 -

2шт.

38

9081512220

PIN; TIMING GEAR CASE

198308 -

2шт.

39

1112290130

DOWEL; IDLE GEAR SPINDLE

198606 -

1шт.

47

9081508160

PIN; BRG CAP

198308 -

14шт.

49

9098519150

WASHER; BRG CAP

198308 -

14шт.

56

1133421111

JET; OIL,PISTON COOLING

198308 -

3шт.

56

1133421121

JET; OIL,PISTON COOLING

198308 -

3шт.

57

208008200

BOLT; OIL JET

199004 -

6шт.

58

9041108200

STUD; OILING JET

198308 -

6шт.

59

9091104080

NUT; OILING JET

198308 -

6шт.

64

1096601041

CONNECTOR; TURBOCHARGER OIL FEED

198308 -

1шт.

65

1096234500

GASKET; SUCTION

199004 -

1шт.

66

1133412040

CONNECTOR; PARTIAL FILTER

198308 -

1шт.

67

501510250

BOLT; CONNECTOR

199004 -

3шт.

68

1096235410

GASKET; RETURN

199004 -

1шт.

71

1112920280

GASKET; COVER TO C/BL

A 198808 - 199603

2шт.

71

1112920310

GASKET; COVER TO C/BL

199604 -

2шт.

72(A)

1112910340

COVER; TAPPET CHAMBER

198308 -

1шт.

72(B)

1112910351

COVER; TAPPET CHAMBER

198308 -

1шт.

74

500408220

BOLT; COVER TO C/BL

199004 -

29шт.

74

500408250

BOLT; COVER TO C/BL

199004 -

3шт.

75(C)

1112191210

COVER; C/BL,OIL PUMP

198308 -

1шт.

76

1131140080

GASKET; COVER TO C/BL

A 198808 - 199603

1шт.

76

1131140110

GASKET; COVER TO C/BL

199604 -

1шт.

77(A)

500510350

BOLT; COVER TO C/BL

199004 -

3шт.

77(B)

500510400

BOLT; COVER TO C/BL

199004 -

2шт.

77(B)

500510400

BOLT; COVER TO C/BL

198308 -

1шт.

78

9041108300

STUD; COVER OIL PUMP

198308 -

2шт.

79

1096603591

NIPPLE; OIL FEED,TURBOCHARGER

198308 -

1шт.

81

9098640501

PLUG; WATER JACKET

198308 -

6шт.

82

9044114420

STUD; FLYWHEEL HSG

198308 -

1шт.

83

9081514280

PIN; FLYWHEEL HSG

198308 -

2шт.

84

9092013710

PLUG; CAM BRG

198308 -

1шт.

137

1096800260

COCK; DRAIN,WATER

198308 -

1шт.

162(A)

9099147010

HOSE; WATER DRAIN,C/BL

198308 -

1шт.

242

500408200

BOLT; COVER,OIL PORT

199004 -

2шт.

277

9091505140

WASHER; LK,BRKT

198308 -

2шт.

279

238014250

BOLT; BRKT,ENG STOPPER

199004 -

2шт.

281

1197890170

BRACKET; CABLE,ENG STOPPER

198308 -

1шт.

337(A)

1096300860

GASKET; PLUG

198308 -

1шт.

337(B)

1096300850

GASKET; PLUG

198308 -

1шт.

410

9133420020

JET; OIL,TIMING GEAR

198308 -

1шт.

458(A)

1096040670

PLUG; CONNECTOR

198308 -

1шт.

458(B)

8941526130

PLUG; CONNECTOR

198308 -

1шт.

463

9098311610

STUD; TIMING GEAR CASE

198308 -

3шт.

1

1112104210

BLOCK ASM; CYL

198308 -

1шт.

2

1878115920

LINER SET; ENG CYL

198308 -

6шт.

2

1878115930

LINER SET; ENG CYL

198308 -

6шт.

4

1112612880

LINER; C/BL

198905 -

6шт.

4

1112612890

LINER; C/BL

198905 -

6шт.

8

9098042170

BOLT; BRG CAP

198308 -

4шт.

8

9098042180

BOLT; BRG CAP

198308 -

10шт.

11

9095714180

GASKET; CONN TO C/BL

198406 -

1шт.

15(B)

1096050500

PLUG; OIL GALLERY

198308 -

13шт.

27

1096605680

NIPPLE; OIL GALLERY

199004 -

1шт.

27

1096605680

NIPPLE; OIL GALLERY

199303 -

1шт.

28

9112192140

COVER; OIL PORT

198308 -

1шт.

29

1096234500

GASKET; COVER,OIL PORT

199004 -

1шт.

30(A)

9081508160

PIN; CYL HD GASKET SETTING

198308 -

2шт.

30(B)

9112290112

PIN; CYL HD GASKET SETTING

198308 -

4шт.

31

1096050190

PLUG; OIL GALLERY

198308 -

4шт.

32

9081508160

PIN; INJ PUMP BRKT

198308 -

2шт.

34

9131600602

VALVE; OIL RELIEF

198308 -

1шт.

35

1096230590

GASKET; RELIEF VLV

198308 -

1шт.

36

1096000051

CUP; SEALING,WATER JACKET

198308 -

4шт.

37(A)

1096050250

PLUG; OIL GALLERY

198308 -

2шт.

37(A)

1096090141

PLUG; OIL GALLERY

198308 -

1шт.

37(B)

1096050560

PLUG; OIL GALLERY

198308 -

2шт.

38

9081512220

PIN; TIMING GEAR CASE

198308 -

2шт.

39

1112290130

DOWEL; IDLE GEAR SPINDLE

198606 -

1шт.

47

9081508160

PIN; BRG CAP

198308 -

14шт.

49

9098519150

WASHER; BRG CAP

198308 -

14шт.

56

1133421111

JET; OIL,PISTON COOLING

198308 -

3шт.

56

1133421121

JET; OIL,PISTON COOLING

198308 -

3шт.

57

208008200

BOLT; OIL JET

199004 -

6шт.

58

9041108200

STUD; OILING JET

198308 -

6шт.

59

9091104080

NUT; OILING JET

198308 -

6шт.

64

1096601041

CONNECTOR; TURBOCHARGER OIL FEED

198308 -

1шт.

65

1096234500

GASKET; SUCTION

199004 -

1шт.

66

1133412040

CONNECTOR; PARTIAL FILTER

198308 -

1шт.

67

501510250

BOLT; CONNECTOR

199004 -

3шт.

68

1096235410

GASKET; RETURN

199004 -

1шт.

71

1112920280

GASKET; COVER TO C/BL

A 198808 - 199603

2шт.

71

1112920310

GASKET; COVER TO C/BL

199604 -

2шт.

72(A)

1112910340

COVER; TAPPET CHAMBER

198308 -

1шт.

72(B)

1112910351

COVER; TAPPET CHAMBER

198308 -

1шт.

74

500408220

BOLT; COVER TO C/BL

199004 -

29шт.

74

500408250

BOLT; COVER TO C/BL

199004 -

3шт.

75(C)

1112191210

COVER; C/BL,OIL PUMP

198308 -

1шт.

76

1131140080

GASKET; COVER TO C/BL

A 198808 - 199603

1шт.

76

1131140110

GASKET; COVER TO C/BL

199604 -

1шт.

77(A)

500510350

BOLT; COVER TO C/BL

199004 -

3шт.

77(B)

500510400

BOLT; COVER TO C/BL

199004 -

2шт.

77(B)

500510400

BOLT; COVER TO C/BL

198308 -

1шт.

78

9041108300

STUD; COVER OIL PUMP

198308 -

2шт.

79

1096603591

NIPPLE; OIL FEED,TURBOCHARGER

198308 -

1шт.

81

9098640501

PLUG; WATER JACKET

198308 -

6шт.

82

9044114420

STUD; FLYWHEEL HSG

198308 -

1шт.

83

9081514280

PIN; FLYWHEEL HSG

198308 -

2шт.

84

9092013710

PLUG; CAM BRG

198308 -

1шт.

137

1096800260

COCK; DRAIN,WATER

198308 -

1шт.

162(A)

9099147010

HOSE; WATER DRAIN,C/BL

198308 -

1шт.

242

500408200

BOLT; COVER,OIL PORT

199004 -

2шт.

277

9091505140

WASHER; LK,BRKT

198308 -

2шт.

279

238014250

BOLT; BRKT,ENG STOPPER

199004 -

2шт.

281

1197890170

BRACKET; CABLE,ENG STOPPER

198308 -

1шт.

337(A)

1096300860

GASKET; PLUG

198308 -

1шт.

337(B)

1096300850

GASKET; PLUG

198308 -

1шт.

410

9133420020

JET; OIL,TIMING GEAR

198308 -

1шт.

458(A)

1096040670

PLUG; CONNECTOR

198308 -

1шт.

458(B)

8941526130

PLUG; CONNECTOR

198308 -

1шт.

463

9098311610

STUD; TIMING GEAR CASE

198308 -

3шт.

Выбрано товаров: 134