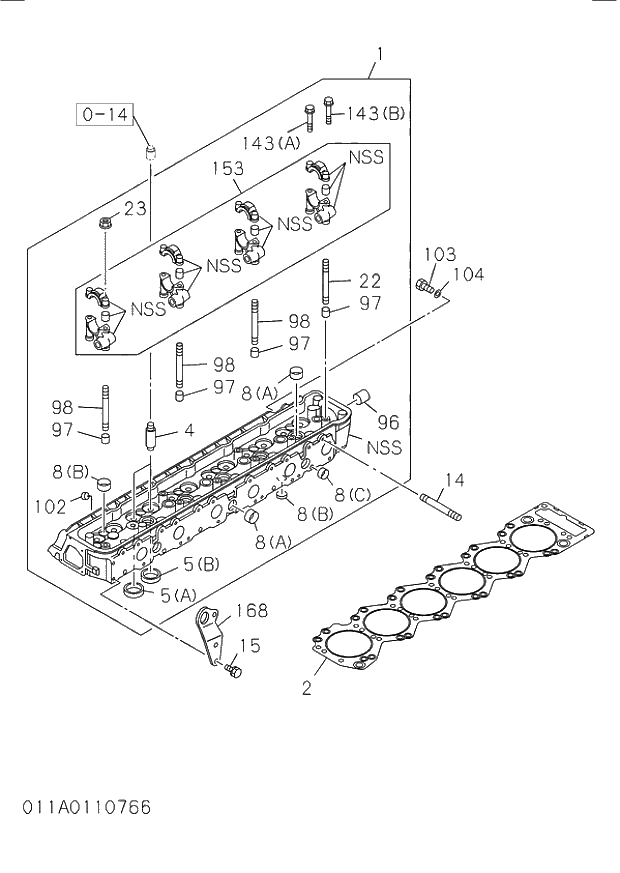
Запчасти Isuzu 011 CYLINDER HEAD. 011 CYLINDER HEAD.

FIT
1:1
100%

Артикул

Название

Примечание

Количество

1

1111107192

HEAD ASM; CYL

A 198808-199502

1шт.

1

1111107541

HEAD ASM; CYL

199503-199511

1шт.

1

1111108463

HEAD ASM; CYL

199512-

1шт.

2

1111412164

GASKET; CYL HD

198909-

1шт.

003(A)

1090700431

BOLT; CYL HD TO BLOCK

198808-

20шт.

003(B)

1090700441

BOLT; CYL HD TO BLOCK

198808-

6шт.

4

1117210080

GUIDE; VLV

198808-

12шт.

005(A)

1117150770

SEAT; VLV INSERT

C 199503-199511

6шт.

005(A)

1117150951

SEAT; VLV INSERT

C 199512-200004

6шт.

005(A)

1117151220

SEAT; VLV INSERT

200005-

6шт.

005(B)

1117110510

SEAT; VLV INSERT

C 199211-199511

6шт.

005(B)

1117110601

SEAT; VLV INSERT

C 199512-200004

6шт.

005(B)

1117110510

SEAT; VLV INSERT

200005-

6шт.

008(A)

1096000122

CUP; SEALING,WATER JACKET

198808-200105

14шт.

008(A)

1096000122

CUP; SEALING,WATER JACKET

200106-

9шт.

008(A)

8942416380

CUP; SEALING,WATER JACKET

200106-

5шт.

008(B)

1096000112

CUP; SEALING,WATER JACKET

198808-

11шт.

008(C)

1096000102

CUP; SEALING,WATER JACKET

198808-

6шт.

009(A)

9098301500

STUD; INL MANIF

198808-

1шт.

009(B)

9096300260

STUD; INL MANIF

198808-

4шт.

10

9825139289

PLUG; GLOW

C 198808-199809

6шт.

10

1825130432

PLUG; GLOW

199810-

6шт.

11

1197320111

CONNECTOR; GLOW PLUG

198808-

1шт.

012(B)

1117770810

HANGER; ENG,RR

198808-

1шт.

14

1093021041

STUD; EXH MANIF

198808-

12шт.

22

1093000331

STUD; CAM BRKT

198808-

2шт.

23

9098441900

NUT; CAM BRKT

198808-

8шт.

41

500510200

BOLT; ENG HANGER

A 199005-200512

3шт.

41

505510200

BOLT; ENG HANGER

200601-

3шт.

56

1093000180

STUD; NOZZLE HOLDER

198808-

12шт.

96

1125280070

BUSHING; IDLE SHAFT

198808-

1шт.

97

1112290121

DOWEL; CAM BRKT SET

198808-

8шт.

98

1093000281

STUD; CAM BRKT

198808-

6шт.

102

1111190121

SEAT; VLV

198808-

6шт.

103

9992023140

PLUG; HD

A 198808-200805

1шт.

103

8980429440

PLUG; HD

200806-

1шт.

104

9095714140

GASKET; PLUG

198808-

1шт.

120

1090700590

BOLT; CYL HD TO HSG

198808-

1шт.

120

1090700600

BOLT; CYL HD TO HSG

198808-

2шт.

121

1113211000

COVER; IDLE GEAR,CYL HD

198808-

1шт.

122

1096232080

GASKET; COVER

198808-

1шт.

123

501408200

BOLT; COVER

A 199005-200512

2шт.

123

506408200

BOLT; COVER

200601-

2шт.

138

1125231121

GEAR; IDLE

198808-199511

1шт.

138

1125232461

GEAR; IDLE

199512-

1шт.

139

1125310142

SHAFT; IDLE GEAR

C 198808-200011

1шт.

139

1125310980

SHAFT; IDLE GEAR

200012-

1шт.

140

9080555220

KEY; IDLE GEAR

198808-

1шт.

143(A)

280908600

BOLT; FIX

A 198808-200512

1шт.

143(A)

280608600

BOLT; FIX

200601-

1шт.

143(B)

280808000

BOLT; FIX

A 198808-200512

1шт.

143(B)

280508000

BOLT; FIX

200601-

1шт.

153

1125161251

BRACKET KIT; CAM,CYL HD

198808-199511

153

1125161680

BRACKET KIT; CAM,CYL HD

199512-199704

153

1125161800

BRACKET KIT; CAM,CYL HD

199705-

168

1117770960

HANGER; ENG,FRT

198808-

1шт.

1

1111107192

HEAD ASM; CYL

A 198808-199502

1шт.

1

1111107541

HEAD ASM; CYL

199503-199511

1шт.

1

1111108463

HEAD ASM; CYL

199512-

1шт.

2

1111412164

GASKET; CYL HD

198909-

1шт.

003(A)

1090700431

BOLT; CYL HD TO BLOCK

198808-

20шт.

003(B)

1090700441

BOLT; CYL HD TO BLOCK

198808-

6шт.

4

1117210080

GUIDE; VLV

198808-

12шт.

005(A)

1117150770

SEAT; VLV INSERT

C 199503-199511

6шт.

005(A)

1117150951

SEAT; VLV INSERT

C 199512-200004

6шт.

005(A)

1117151220

SEAT; VLV INSERT

200005-

6шт.

005(B)

1117110510

SEAT; VLV INSERT

C 199211-199511

6шт.

005(B)

1117110601

SEAT; VLV INSERT

C 199512-200004

6шт.

005(B)

1117110510

SEAT; VLV INSERT

200005-

6шт.

008(A)

1096000122

CUP; SEALING,WATER JACKET

198808-200105

14шт.

008(A)

1096000122

CUP; SEALING,WATER JACKET

200106-

9шт.

008(A)

8942416380

CUP; SEALING,WATER JACKET

200106-

5шт.

008(B)

1096000112

CUP; SEALING,WATER JACKET

198808-

11шт.

008(C)

1096000102

CUP; SEALING,WATER JACKET

198808-

6шт.

009(A)

9098301500

STUD; INL MANIF

198808-

1шт.

009(B)

9096300260

STUD; INL MANIF

198808-

4шт.

10

9825139289

PLUG; GLOW

C 198808-199809

6шт.

10

1825130432

PLUG; GLOW

199810-

6шт.

11

1197320111

CONNECTOR; GLOW PLUG

198808-

1шт.

012(B)

1117770810

HANGER; ENG,RR

198808-

1шт.

14

1093021041

STUD; EXH MANIF

198808-

12шт.

22

1093000331

STUD; CAM BRKT

198808-

2шт.

23

9098441900

NUT; CAM BRKT

198808-

8шт.

41

500510200

BOLT; ENG HANGER

A 199005-200512

3шт.

41

505510200

BOLT; ENG HANGER

200601-

3шт.

56

1093000180

STUD; NOZZLE HOLDER

198808-

12шт.

96

1125280070

BUSHING; IDLE SHAFT

198808-

1шт.

97

1112290121

DOWEL; CAM BRKT SET

198808-

8шт.

98

1093000281

STUD; CAM BRKT

198808-

6шт.

102

1111190121

SEAT; VLV

198808-

6шт.

103

9992023140

PLUG; HD

A 198808-200805

1шт.

103

8980429440

PLUG; HD

200806-

1шт.

104

9095714140

GASKET; PLUG

198808-

1шт.

120

1090700590

BOLT; CYL HD TO HSG

198808-

1шт.

120

1090700600

BOLT; CYL HD TO HSG

198808-

2шт.

121

1113211000

COVER; IDLE GEAR,CYL HD

198808-

1шт.

122

1096232080

GASKET; COVER

198808-

1шт.

123

501408200

BOLT; COVER

A 199005-200512

2шт.

123

506408200

BOLT; COVER

200601-

2шт.

138

1125231121

GEAR; IDLE

198808-199511

1шт.

138

1125232461

GEAR; IDLE

199512-

1шт.

139

1125310142

SHAFT; IDLE GEAR

C 198808-200011

1шт.

139

1125310980

SHAFT; IDLE GEAR

200012-

1шт.

140

9080555220

KEY; IDLE GEAR

198808-

1шт.

143(A)

280908600

BOLT; FIX

A 198808-200512

1шт.

143(A)

280608600

BOLT; FIX

200601-

1шт.

143(B)

280808000

BOLT; FIX

A 198808-200512

1шт.

143(B)

280508000

BOLT; FIX

200601-

1шт.

153

1125161251

BRACKET KIT; CAM,CYL HD

198808-199511

153

1125161680

BRACKET KIT; CAM,CYL HD

199512-199704

153

1125161800

BRACKET KIT; CAM,CYL HD

199705-

168

1117770960

HANGER; ENG,FRT

198808-

1шт.

Выбрано товаров: 0