Запчасти Isuzu 013 OIL PAN AND LEVEL GAUGE. 013 OIL PAN AND LEVEL GAUGE.

FIT
1:1
100%

Артикул

Название

Примечание

Количество

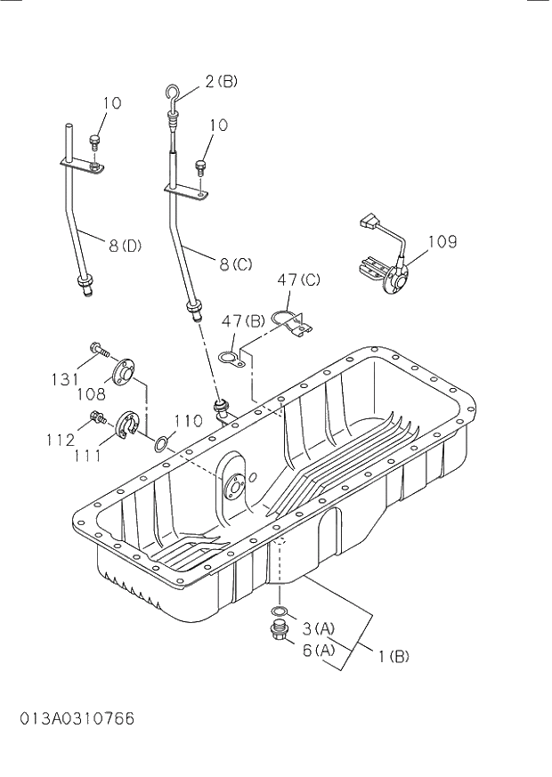
001(C)

1113607350

PAN ASM; OIL

C 198808-199107

1шт.

001(C)

1113607690

PAN ASM; OIL

C 199108-199210

1шт.

001(C)

1113607913

PAN ASM; OIL

199211-

1шт.

002(D)

1117603670

GAUGE; OIL LEVEL

198808-

1шт.

003(A)

1096230580

GASKET; DRAIN PLUG

198808-

1шт.

006(A)

1096040641

PLUG; OIL DRAIN

A 198808-200111

1шт.

006(A)

1096040220

PLUG; OIL DRAIN

200112-

1шт.

008(E)

1117663810

TUBE; GUIDE,OIL LEVEL GAUGE

198808-199210

1шт.

008(E)

1117664271

TUBE; GUIDE,OIL LEVEL GAUGE

C 199211-200410

1шт.

008(E)

8980003750

TUBE; GUIDE,OIL LEVEL GAUGE

200411-

1шт.

16

1113670940

GASKET; OIL PAN TO C/BL

A 198808-199602

1шт.

16

1113671130

GASKET; OIL PAN TO C/BL

A 199603-200205

1шт.

16

1113671291

GASKET; OIL PAN TO C/BL

200206-

1шт.

22

9091505080

WASHER; LK,OIL PAN

A 198808-200603

6шт.

22

915105080

WASHER; LK,OIL PAN

200604-

6шт.

23

501408220

BOLT; OIL PAN

C 199005-200906

30шт.

23

506408220

BOLT; OIL PAN

200907-

30шт.

24

9091104080

NUT; OIL PAN

A 198808-200512

6шт.

24

911105080

NUT; OIL PAN

200601-

6шт.

047(A)

9112290700

CLIP; HOSE,AIR BREATHER

198808-199211

1шт.

047(B)

1112290140

CLIP; HOSE,AIR BREATHER

198808-199705

1шт.

047(C)

1113691150

CLIP; HOSE,AIR BREATHER

199706-

1шт.

109

1824800280

SWITCH; OIL LEVEL

C 198808-199410

1шт.

109

8971193581

SWITCH; OIL LEVEL

199411-

1шт.

110

1096233550

GASKET; SW,OIL LEVEL

198808-

1шт.

111

5113690720

SPACER; SW,OIL LEVEL

198808-

1шт.

112

501406280

BOLT; SW,OIL LEVEL

199005-

3шт.

189

911502100

NUT; GUIDE

A 198808-200602

1шт.

189

911802100

NUT; GUIDE

200603-

1шт.

204

9091605080

WASHER; PL,OIL PAN

A 198808-200605

6шт.

204

916105080

WASHER; PL,OIL PAN

200606-

6шт.

001(C)

1113607350

PAN ASM; OIL

C 198808-199107

1шт.

001(C)

1113607690

PAN ASM; OIL

C 199108-199210

1шт.

001(C)

1113607913

PAN ASM; OIL

199211-

1шт.

002(D)

1117603670

GAUGE; OIL LEVEL

198808-

1шт.

003(A)

1096230580

GASKET; DRAIN PLUG

198808-

1шт.

006(A)

1096040641

PLUG; OIL DRAIN

A 198808-200111

1шт.

006(A)

1096040220

PLUG; OIL DRAIN

200112-

1шт.

008(E)

1117663810

TUBE; GUIDE,OIL LEVEL GAUGE

198808-199210

1шт.

008(E)

1117664271

TUBE; GUIDE,OIL LEVEL GAUGE

C 199211-200410

1шт.

008(E)

8980003750

TUBE; GUIDE,OIL LEVEL GAUGE

200411-

1шт.

16

1113670940

GASKET; OIL PAN TO C/BL

A 198808-199602

1шт.

16

1113671130

GASKET; OIL PAN TO C/BL

A 199603-200205

1шт.

16

1113671291

GASKET; OIL PAN TO C/BL

200206-

1шт.

22

9091505080

WASHER; LK,OIL PAN

A 198808-200603

6шт.

22

915105080

WASHER; LK,OIL PAN

200604-

6шт.

23

501408220

BOLT; OIL PAN

C 199005-200906

30шт.

23

506408220

BOLT; OIL PAN

200907-

30шт.

24

9091104080

NUT; OIL PAN

A 198808-200512

6шт.

24

911105080

NUT; OIL PAN

200601-

6шт.

047(A)

9112290700

CLIP; HOSE,AIR BREATHER

198808-199211

1шт.

047(B)

1112290140

CLIP; HOSE,AIR BREATHER

198808-199705

1шт.

047(C)

1113691150

CLIP; HOSE,AIR BREATHER

199706-

1шт.

109

1824800280

SWITCH; OIL LEVEL

C 198808-199410

1шт.

109

8971193581

SWITCH; OIL LEVEL

199411-

1шт.

110

1096233550

GASKET; SW,OIL LEVEL

198808-

1шт.

111

5113690720

SPACER; SW,OIL LEVEL

198808-

1шт.

112

501406280

BOLT; SW,OIL LEVEL

199005-

3шт.

189

911502100

NUT; GUIDE

A 198808-200602

1шт.

189

911802100

NUT; GUIDE

200603-

1шт.

204

9091605080

WASHER; PL,OIL PAN

A 198808-200605

6шт.

204

916105080

WASHER; PL,OIL PAN

200606-

6шт.

Выбрано товаров: 62