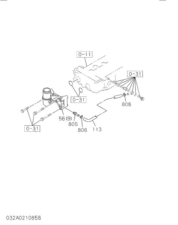
Запчасти Isuzu 032 WATER PIPING; ENGINE. 032 WATER PIPING; ENGINE.

FIT
1:1
100%

Артикул

Название

Примечание

Количество

001(A)

1137118100

PIPE; WATER PUMP,INL

200007-

1шт.

48

1096234060

GASKET; PIPE TO PUMP

200007-

1шт.

050(B)

281810300

BOLT; WATER PIPE INL

A 200007-200512

2шт.

050(B)

281510300

BOLT; WATER PIPE INL

200601-

2шт.

056(A)

1137130611

PIPE; WATER OUTLET

200007-

1шт.

001(A)

1137118100

PIPE; WATER PUMP,INL

200007-

1шт.

48

1096234060

GASKET; PIPE TO PUMP

200007-

1шт.

050(B)

281810300

BOLT; WATER PIPE INL

A 200007-200512

2шт.

050(B)

281510300

BOLT; WATER PIPE INL

200601-

2шт.

056(A)

1137130611

PIPE; WATER OUTLET

200007-

1шт.

Выбрано товаров: 10