Качественные детали и логистика
Оригинальные и аналоговые запчасти с доставкой по России, Казахстану и Беларуси
©2022 PartSell ООО "Система" ИНН 2463123282 ОГРН 1212400004838
Центральный офис: г. Красноярск, Академика Киренского, д.87, пом.4
Телефон: 8 (800) 777-65-74 Email: zakaz@partsell.ru
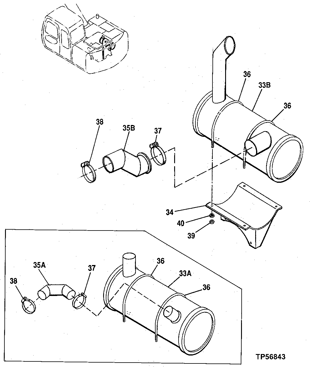
125 - Muffler
№
Артикул
Название
Примечание
Количество
33A
AP33245
Muffler
( AP33245 NLA) (SUB AP35245 AND P61112)
1шт.
33B
AP35245
(USE WITH P61112)
34
AP35250
Support
( AP33244 NLA)
35A
Exhaust Pipe
( P60650 NLA) (SUB P61112 AND AP35245)
35B
P61112
(USE WITH AP35245)
36
P60649
Hook Bolt
2шт.
37
AT147401
Clamp
38
RE70212
(SUB FOR RE40048)
39
14M7166
Lock Nut
M8
4шт.
40
24M7298
Washer
8.400 X 25 X 2 mm
Выбрано товаров: 0